bm231操作.pdf - 第128页
BM231 操作手册 6.9 打印机的使用方法 E36OJC-21- 130-B0 6.9-1 6.9. 打印机的使用方法 E36OJC-21-130-B0 打印机为选购件。 另外, 2006 年 2 月以前出厂的设备 所附属的打印机型 号是 N902NT 36-070 , 2 月以后出厂设备所附属的 打印机 型号则是 N 510019931 AA 。 = 注意 = 使用方法根据打印机而 有所不同。 型号为 N9 02NT36-070 …

BM231
操作手册
6.8 确认运转
E35OCC-21-072-A0
6.8-2
步骤 操作 结果、参考图 等
1.
进入生产画面。
2.
确认程序名称。
3.
按下<SEMI><BLOCK> 。
4.
按下“START”
(开始)。
每按下一次“START”(开始)完成,1 程序块动作后停止。
请观察确认全部程序块是否按计划动作。
5.
按下<EOP>键。
6.
按下“START”
(开始)。
请确认所有的动作。
6.8.4 AUTO 贴装确认
基板被自动搬入。
请将上游的机械设置成基板流动的状态。
=注意=
基板放置在上载导轨传送带上搬入。
此时,如将入口侧的基板传感器设为 ON,搬送带就会开始运转,请注意。
步骤 操作 结果、参考图 等
1.
进入生产画面。
2.
确认程序名称。
3.
按下<AUTO><EOP> 。
4.
按下“START”
(开始)。
搬入基板,进行贴装,搬出基板。
2.
3.
5.
2.
3.

BM231
操作手册
6.9 打印机的使用方法
E36OJC-21-130-B0
6.9-1
6.9. 打印机的使用方法
E36OJC-21-130-B0
打印机为选购件。
另外,2006 年 2 月以前出厂的设备所附属的打印机型号是 N902NT36-070,2 月以后出厂设备所附属的打印机
型号则是 N510019931AA。
=注意=
使用方法根据打印机而有所不同。
型号为 N902NT36-070 的打印机时请参照后面6.9.1 各部的名称(N902NT36-070 型) 6.9.2 打印纸的更换步骤
(N902NT36-070 型) 的内容。
型号为 N510019931AA的打印机请参照后面 6.8.1各部件的名称和错误显示 (N510019931AA型) ~ 6.8.5打印
头的清洁步骤 (N510019931AA 型) 中所记述的内容。
品番: N902NT36-070 品番: N510019931AA
更换:2006 年 3 月

BM231
操作手册
6.9 打印机的使用方法
E36OJC-21-130-B0
6.9-2
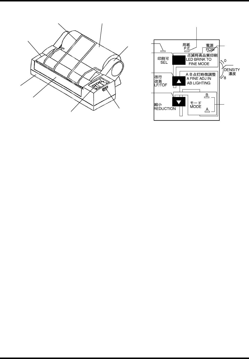
6.9.1 各部的名称(N902NT36-070 型)
1.
1. 打印开关
每按一次,就会在可打印·不可打印之间切换。如在打印中将暂时停止。
2. 打印指示灯
灭灯: 表示打印机关闭,不能打印。
亮灯: 表示打印机打开,可以打印。
闪烁: 表示在受信缓冲存储器中存在未处理数据,为联机状态。
3. 换行 / 换页开关
在不能打印时进给打印纸。按下开关就会送出 1 / 6 英寸 (约 4.2mm) 的打印纸。按 1 秒以上,会改到第
一行。另外,如在实装机上使用卷纸,则不能换页。
4. 缩小开关
按此开关,会进行缩小比率指定的切换。(不能使用。)
5. 打印纸指示灯 (红色)
灭灯: 表示有打印纸。
亮灯: 表示无打印纸。
6. 电源指示灯 (绿色)
灭灯: 表示电源处于 OFF。
亮灯: 表示电源处于 ON。
闪烁: 表示高品质的打印模式。
7. 缩小模式指示灯 A、B (绿色)
表示缩小模式。
按下缩小开关缩小模式就会切换。(不能使用。)
8. 浓度旋钮
使之旋转就能调节打印的浓度。数字 1 为最淡、8 为最浓。
==
程序数据的打印方法请参照 ‘Prg. / 数据输入输出 / 打印’。
生产管理信息的打印方法请参照 ‘Ref. / 生产管理信息 / 概要 / 数据的打印’。
机械数据的打印方法请参照 ‘Ref. / 数据输入输出 / 机器数据打印’ 。
=注意=
打印量较多时,请不要将卷纸垂到机面,请用箱子等接住。
操作パネル
纸卷导轨
上盖
下盖
前盖
操作面板
浓度旋钮
纸卷支架
纸卷
1.
3.
2.
4.
5.
6.
7.
8.