4OM-1208-011_w.pdf - 第75页
1-18 AIVEMT -ID 3.2 Understanding of Maintenance Items on Each Section The following describes how to view the description of each field (numbered fields) in "3.3 Inspection, Cleaning, and Lubrication Spots". Vie…

1-17
AIVEMT-ID
(Front Side of Machine)
(Rear Side of Machine)
Component Recognition
Camera Section
Conveyor Section
PCB Positioning
Section
Head Section
X/Y Beam Section
Nozzle Stocker
Section
Cutter Section
Feeder Base Driving Section
Fig. 4A8
0606-009
3.1 Whole View

1-18
AIVEMT-ID
3.2 Understanding of Maintenance Items on Each
Section
The following describes how to view the description of each field (numbered
fields) in "3.3 Inspection, Cleaning, and Lubrication Spots".
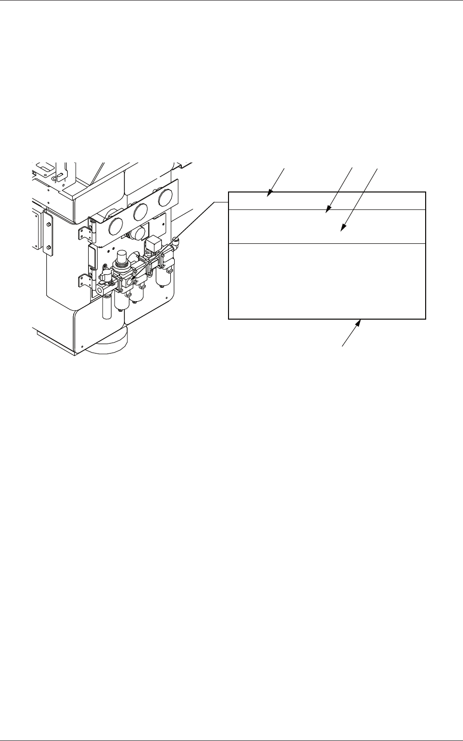
View of Inspection, Cleaning, and Lubrication Spots
(Example of Identification)
Main Air Pressure
Every Day Inspection
Required Time: 1 minute
Set Air Pressure 0.45 MPa (4.6 kgf/cm
2
)
Check to see that the air pressure is
Min. 0.4 MPa (4.1 kgf/cm
2
) while the
machine is running.
If not, adjust the air pressure.
[1]
[2]
[4]
[3]
Fig. 4A9
[1]:
Maintenance Spot
[2]:
Cycle and Contents of Maintenance
[3]:
Details of Maintenance
[4]:
Approximate Time required for the Maintenance
(excluding the time required to detach or attach the cover, etc.)
0606-009
3.2 Understanding of Maintenance Items on Each Section

1-19
AIVEMT-ID
3.3 Inspection, Cleaning, and Lubrication Spots
The following describes about the maintenance tasks required for each
individual units.
Reference
Refer to "2. Maintenance Check List" for the maintenance items classified
based on frequency.
3.3.1 Air Source
Main Air Pressure
Every Day Inspection
Required Time: 1 minute
Set Air Pressure 0.45 MPa (4.6 kgf/cm
2
)
Check to see that the air pressure is
"Min. 0.4 MPa (4.1 kgf/cm
2
)" while the
machine is running.
If not, adjust the air pressure.
Drain
Every Week Cleaning
Required Time: 5 minutes
Place a container, etc., under the drain and
push the orange button located at the
bottom of each filter case to drain the
wastewater.
Drain
Orange Button
Air Blowing Pressure
Every Day Inspection
Required Time: 1 minute
Check to see that the pressure gauge reads
the initial setting (0.05 MPa (0.5 kgf/cm
2
)).
Do not change the pressure unless
necessary. The pressure is factory-adjusted
upon shipment of the machine.
Fig. 4A10
0606-009
3.3 Inspection, Cleaning, and Lubrication Spots