4OM-1208-011_w.pdf - 第96页
1-39 AIVEMT -ID 3.3.9 PCB Positioning Section Ball Screws Every 3 Months Cleaning and Lubrication (DAPHNE EPONEX GREASE No. 1) Required T ime: 10 minutes W ipe off old grease with a rag and apply new one with a syringe. …

1-38
AIVEMT-ID
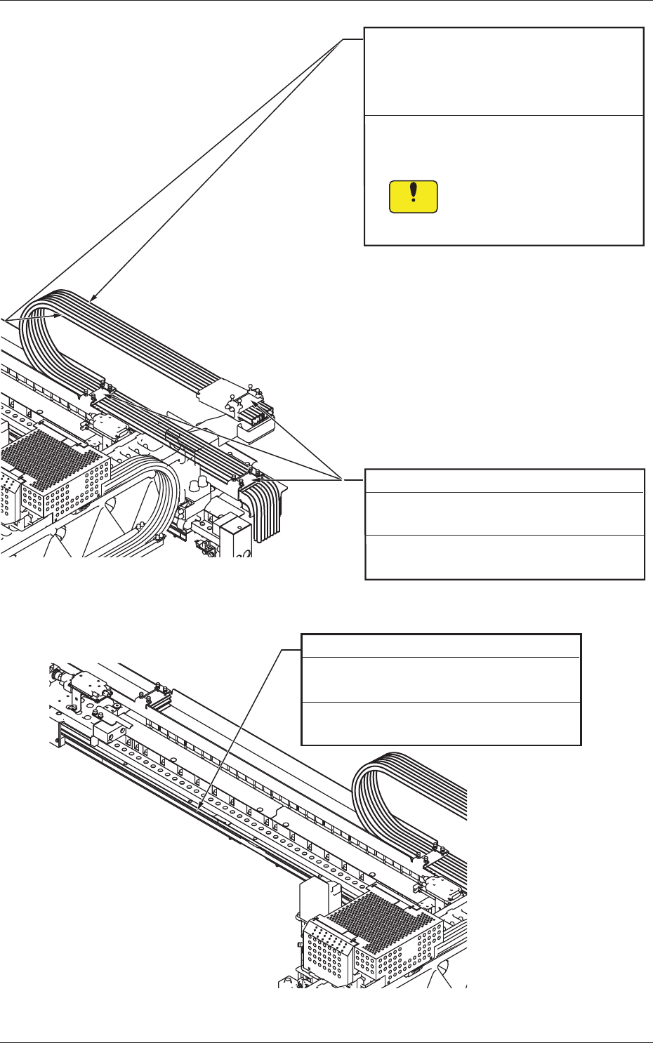
Y-Axis Cable Fixing Places (3 places)
Every 6 Months Inspection
Required Time: 1 minute
Check visually for any abnormality such as
cracks.
Y-Axis Cable Sidefaces
Every 6 Months Cleaning and Lubrication
(Silicon Grease KS64)
Required Time: 3 minutes
(1) Wipe off old grease with an oiled rag.
(2) Apply new grease by hand or with a
brush.
Take ample care not to leave
any waste threads after
cleaning.
Notice
Fig. 4A28
Y-Axis Linear Scale
Every 3 Months Cleaning
Required Time: 5 minutes
Clean the Y-axis linear scale with a cotton
swab soaked in alcohol.
Fig. 4A29
0606-009
3.3 Inspection, Cleaning, and Lubrication Spots

1-39
AIVEMT-ID
3.3.9 PCB Positioning Section
Ball Screws
Every 3 Months Cleaning and Lubrication
(DAPHNE EPONEX GREASE No. 1)
Required Time: 10 minutes
Wipe off old grease with a rag and apply
new one with a syringe.
Take ample care not to leave any
waste threads after cleaning.
Grease should be applied every 3 months
after the initial month.
Use No. 19 (brown) nozzle.
Notice
Upper Surface of Backup Table
Every Week Cleaning
Required Time: 2 minutes
Remove foreign substances and unrequired
components and suck dirt and dust with a
vacuum cleaner.
View A
View A
Ball Screw Splines (8 places)
Every 6 Months Cleaning and Lubrication
(DAPHNE EPONEX GREASE No. 1)
Required Time: 10 minutes
(1) Wipe off old grease with an oiled rag.
Take ample care not to leave
any waste threads after
cleaning.
(2) Apply new grease with a syringe.
Use No. 19 (brown) nozzle.
No.19
Refer to "4.2 Lubrication for Ball
Screw Splines" for the lubrication
procedure.
Notice
Note
Reference
Note
No. 19
Fig. 4A30
0606-009
3.3 Inspection, Cleaning, and Lubrication Spots

1-40
AIVEMT-ID
0606-009
3.3.10 Conveyor Section
Conveyor Belt Shafts (5 places)
Every 3 Months Cleaning and Lubrication
(MOLYNOC GREASE AP1)
Required Time: 5 minutes
Wipe off the old grease with a rag and apply
new one with a brush.
Take ample care not to leave
any waste threads after cleaning.
Notice
Linear Guides (8 places)
Every 3 Months Cleaning and Lubrication
(DAPHNE EPONEX GREASE No. 1)
Required Time: 5 minutes
Wipe off old grease with a rag and apply
new one with a syringe.
Take ample care not to leave any
waste threads after cleaning.
Grease should be applied every 3 months
after the initial month.
Use No. 19 (brown) nozzle.
Notice
Note
No. 19
Fig. 4A31
3.3 Inspection, Cleaning, and Lubrication Spots