c900795.R02_EN.pdf - 第18页
1 Installation 1-4 Production Line To align your assembly line, first in stall the heaviest unit. Then install peripheral units u sing the first unit as a reference. Re f e r e n ce L o a d e r D 1 0 U n i t R e f l o w …

1 Installation
1-3
How to Hoist Unit
Use the wires and the arm as follows.
* D10 is shown in the illustration below.
NOTE: Be sure to use the arm to prevent the wire from touching the unit.
Front View
Arm
Wire
Side View
Arm
Wire

1 Installation
1-4
Production Line
To align your assembly line, first install the heaviest unit. Then install peripheral units using the first unit as
a reference.
Reference
Loader D10 Unit Reflow Oven Conveyor Unloader
To transfer the PCB (printed circuit board) smoothly, clearance between units are quite important. Be sure
that the clearance between units is 5 mm or less as below figure shows. Adjust the height of the downstream
unit a little lower (0-0.5 mm) so that the PCB is transferred smoothly.
0 - 0.5mm
5mm or less
Downstream Upstream
側

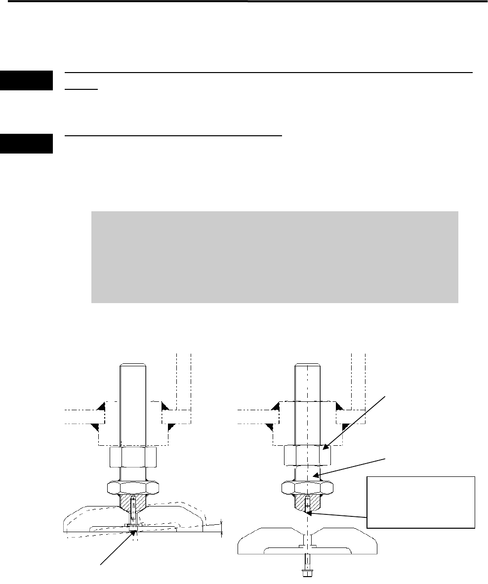
1 Installation
1-5
Installing Unit
Do not touch terminals of electric components when the power is on to prevent electric shock and unit
damage.
Make sure to ground the unit to prevent electric shock.
Note on Installation
It is normal that the adjust foot can be slightly inclined (within 2-degree range).
Do not tighten the bolt forcedly trying to fix the foot.
When you move and/or install the unit, be careful not to apply excessive force
on the adjust foot. This may cause the screw of the adjust foot to break.
When placing the unit on the floor, be sure that the unit is kept horizontal.
Warning
Warning
2°
If excessive force is
applied, the screw may
break at this point.
Mounting Screw
Nut
Adjust foot