CP-7系列机械手册.pdf - 第157页
第 1 章 站的各部 第 4 部 CP- 733 E/74 3ME/743 E 机械手册 4-1-2 Edition 2. 0 1.1.1 1.1.1 1.1.1 1.1.1 连杆的调整 连杆的调整 连杆的调整 连杆的调整 1. 将定位治具( ADDDCPJ802 0 )安装在 No.1 料站。 2. 顺序按下:单动→ D1D2- 轴→ 1 (输入)→ OK → ST ART, 将定位治具移 动到 1s t 。 3. 按下 [ 紧急停止…

第 4 部 第 1 章 站的各部
Edition 2.0 4-1-1 CP-733E/743ME/743E 机械手册
1
11
1.
..
. 站的各部
站的各部站的各部
站的各部
1.1
1.11.1
1.1 料带传送杆
料带传送杆料带传送杆
料带传送杆 (
( (
(第
第第
第 1
11
1 站
站站
站)
))
)
要
要要
要
点
点点
点
料带传送杆是一个能让安装在供料器上的元件料带前进的机构。通过料带传送杆的上下动作,
元件被送至吸件点。为了能检测料带传送杆的位置(前进端还是后退端),安装了 2 个传感
器。
C7SM4002S

第 1 章 站的各部 第 4 部
CP-733E/743ME/743E 机械手册 4-1-2 Edition 2.0
1.1.1
1.1.11.1.1
1.1.1
连杆的调整
连杆的调整连杆的调整
连杆的调整
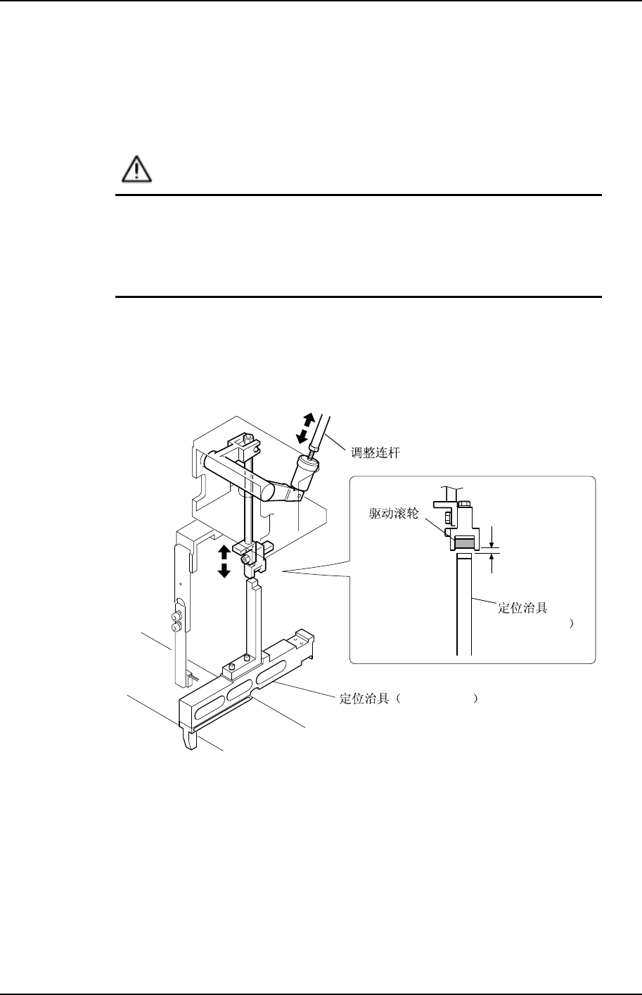
1. 将定位治具(ADDDCPJ8020)安装在 No.1 料站。
2. 顺序按下:单动→D1D2-轴→1(输入)→OK→START, 将定位治具移动到 1st。
3. 按下[紧急停止]按钮,切断 200V 电源,使用 100V 电源。
警
警警
警
告
告告
告
作业前必须要切断
作业前必须要切断作业前必须要切断
作业前必须要切断 200V
200V200V
200V 电源
电源电源
电源。
。。
。
凸轮轴在初始位置
凸轮轴在初始位置凸轮轴在初始位置
凸轮轴在初始位置(0
(0(0
(0 度
度度
度)
))
)以外的情况下,因为弹簧弹力的作用,会发生
以外的情况下,因为弹簧弹力的作用,会发生以外的情况下,因为弹簧弹力的作用,会发生
以外的情况下,因为弹簧弹力的作用,会发生
回转。
回转。回转。
回转。
在机器内部作业时,请充分注意安全。
在机器内部作业时,请充分注意安全。在机器内部作业时,请充分注意安全。
在机器内部作业时,请充分注意安全。
4. 请边看凸轮刻度盘边旋转凸轮手柄,将凸轮角度调整到 0 度。
5. 将 1st 供料器送料的电磁阀(I/O)设置为 ON。
6. 转动调整连杆,将定位治具的上端和驱动滚轮之间的间隙调整为 0.5mm。
0.5 mm
(ADCPJ8020
ADCPJ8020
C73M4001S

第 4 部 第 1 章 站的各部
Edition 2.0 4-1-3 CP-733E/743ME/743E 机械手册
1.1.2
1.1.21.1.2
1.1.2 前进端传感器的位置调整
前进端传感器的位置调整前进端传感器的位置调整
前进端传感器的位置调整
1. 在凸轮角度为 200 度,传感器挡块为下降端时,确认传感器是在 ON 的状态。
2. 将千分表放在驱动滚轮部,调整传感器位置,使之从下降端开始上升 0.5mm 时变为
OFF 状态。
C7SM4003S
0.5 mm
1.1.3
1.1.31.1.3
1.1.3 后退端传感器的位置调整
后退端传感器的位置调整后退端传感器的位置调整
后退端传感器的位置调整
1. 在凸轮角度为 0,传感器挡块为上升端时,确认传感器是在 ON 的状态。
2. 将千分表放在驱动滚轮部,调整传感器位置,使之从上升端开始下降 0.5mm 时变为
OFF 状态。
0.5 mm
C7SM4004S