P-0221-001.pdf - 第181页
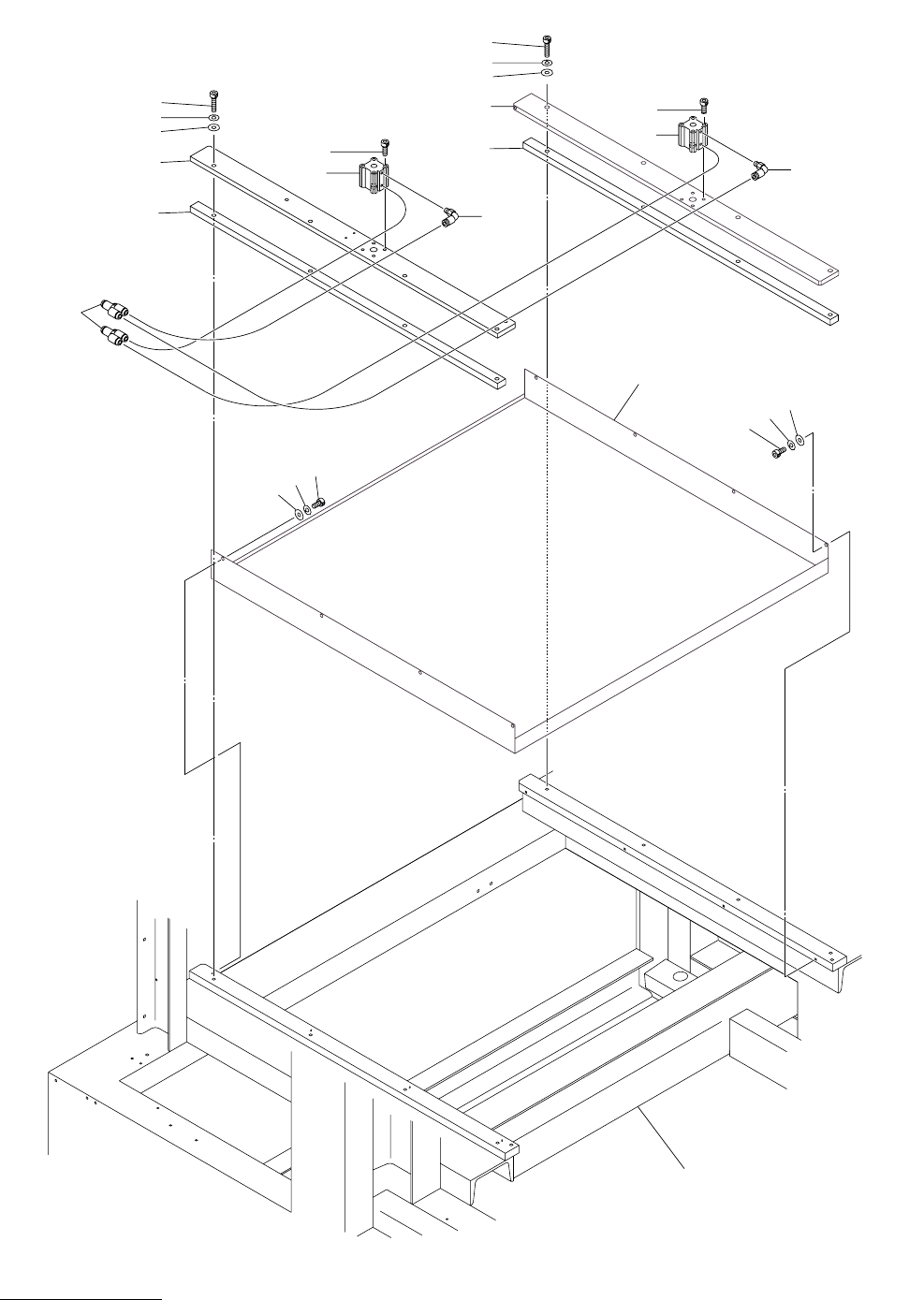
MODEL TPM-200F/R 0207-001 Key No . P AR T No. P AR T NAME Q’ty REMARKS NOTE 179 M-1 1 630 109 9774 CYLINDER 1 BPS095 782M--1 10-001 2 630 003 7241 PIPE FITTINGS 4 782M--1 10-002 3 630 109 8647 P LA TE 1 782M--1 10-003 4 …

MODEL TPM-200F/R
0207-001
178
クリーニング部 CLEANING SECTION
Fig. M-1 ユニット取り出し Unit Take-out
65
64
4
6
67
1
61
62
63
63
3
62
61
66
65
64
5
6
66
67
8
See Fig.K-1
Key No.1
2
2
7
Fig.M-1
TPM-200F/R

MODEL TPM-200F/R
0207-001
Key No. PART No. PART NAME Q’ty REMARKS
NOTE
179
M-1
1 630 109 9774 CYLINDER 1 BPS095 782M--110-001
2 630 003 7241 PIPE FITTINGS 4 782M--110-002
3 630 109 8647 PLATE 1 782M--110-003
4 630 109 8517 PLATE 1 782M--110-004
5 630 109 8500 PLATE 1 782M--110-005
6 630 109 8586 PLATE 2 782M--110-006
7 630 081 7508 PIPE FITTINGS 2 782M--110-007
8 630 029 8727 CYLINDER 1 BPS096 782M--110-008
61 411 141 4008 WASHER V 4X9X0.8 8 782M--110-061
62 411 141 2905 WASHER SPR 4 8 782M--110-062
63 630 000 7626 BOLT,HEX-SCT 8 782M--110-063
64 630 001 0237 WASHER 8 782M--110-064
65 411 141 3001 WASHER SPR 6 8 782M--110-065
66 630 000 7923 BOLT,HEX-SCT 8 782M--110-066
67 630 000 7817 BOLT,HEX-SCT 8 782M--110-067

MODEL TPM-200F/R
0207-001
180
クリーニング部 CLEANING SECTION
Fig. M-2 クリーニングベース Cleaning Base
162
163
161
162
163
117
161
116
121
122
105
165
166
102
164
165
170
101
115
102
164
162
167
161
106
176
177
181
120
109
131
162
169
168
128
183
161
109
108
107
124
108
107
123
174
125
162
175
113
119
126
161
104
103
165
166
164
165
170
164
179
110
180
122
172
171
173
165
164
168
114
See Fig.M-1
Key No.5
Fig.M-2
TPM-200F/R
182
184
182
111
112
.
130
161
162
175
129
176
177
168
118
178
162
167
161
105