P-0221-001.pdf - 第35页
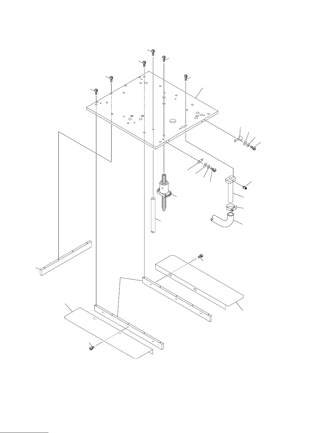
MODEL TPM-200F 0207-001 Key No . P AR T No. P AR T NAME Q’ty REMARKS NOTE 33 E-2 10 1 630 076 8923 PIPE FITTINGS 1 782E--1 10-101 10 2 630 108 7436 TUBE 1 782E--1 10-102 10 3 630 008 0940 TUBE(BAND) 1 782E--1 10-103 10 4…

MODEL TPM-200F
0207-001
32
チャック部(手前基準) CHUCK SECTION(Front Reference)
Fig. E-2 バックアップベース Back-up Base
104
105
106
107
162
162
103
102
108
See Fig E-1
Key No.1
See Fig E-1
Key No.8
161
109
163
164
165
101
161
161
161
161
161
111
110
163
164
165
Fig.E-2
TPM-200F

MODEL TPM-200F
0207-001
Key No. PART No. PART NAME Q’ty REMARKS
NOTE
33
E-2
101 630 076 8923 PIPE FITTINGS 1 782E--110-101
102 630 108 7436 TUBE 1 782E--110-102
103 630 008 0940 TUBE(BAND) 1 782E--110-103
104 630 112 6784 BASE 1 782E--110-104
105 630 107 5563 PLATE 2 782E--110-105
106 630 107 5976 COVER 1 782E--110-106
107 630 107 5983 COVER 1 782E--110-107
108 630 107 5839 BLOCK 1 782E--110-108
109 630 112 2762 BRACKET 1 782E--110-109
110 630 112 2755 BRACKET 1 782E--110-110
111 630 107 6089 PLATE 1 782E--110-111
161 630 000 7657 BOLT,HEX-SCT 23 782E--110-161
162 630 000 7619 BOLT,HEX-SCT 4 782E--110-162
163 411 141 3902 WASHER V 3X7X0.5 4 782E--110-163
164 411 141 2806 WASHER SPR 3 4 782E--110-164
165 630 000 7510 BOLT,HEX-SCT 4 782E--110-165

MODEL TPM-200F
0207-001
34
チャック部(手前基準) CHUCK SECTION(Front Reference)
Fig. E-3 シュート幅調整部 Chute Width Adjustment Section
232
233
213
228
201
222
204
269
205
261
272
271
209
270
272
271
270
272
271
270
272
271
272
271
273
274
278
270
277
272
271
261
272
271
227
269
269
211
271
272
261
210
266
267
268
202
216
203
221
202
229
203
217
222
204
269
205
266
267
268
206
207
208
223
279
275
274
273
212
275
274
273
261
272
271
261
272
271
212
226
225
218
224
262
262
277
277
231
220
261
214
230
215
219
264
263
265
272
271
276
264
263
265
264
263
265
261
See Fig.E-1
Key No.20
Fig.E-3
TPM-200F
275
274
273
212
C
B
A
C
264
263
265
B
A