P-0221-001.pdf - 第25页
MODEL TPM-200F/R 0207-001 Key No . P AR T No. P AR T NAME Q’ty REMARKS NOTE 23 B-5 40 1 630 006 1352 CAM FOLLOWER 1 782B--1 10-401 40 2 630 108 4626 HOOK 1 782B--1 10-402 40 3 630 042 2146 HOOK 1 782B--1 10-403 40 4 630 …

MODEL TPM-200F/R
0207-001
22
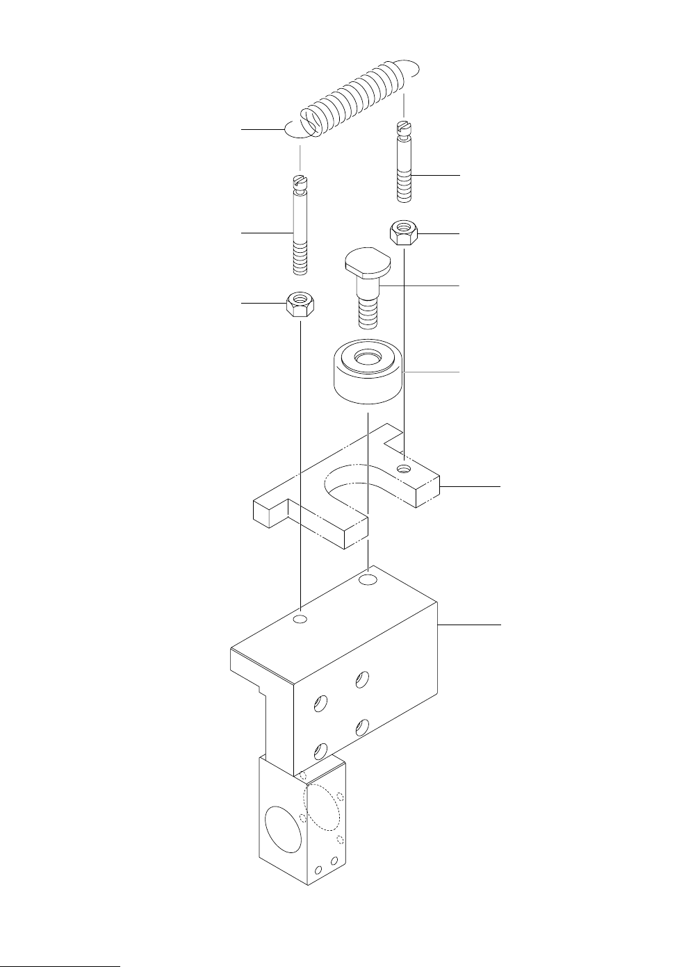
テーブル部 TABLE SECTION
Fig. B-5 θ作用部 THETA Action Section
403
461402
404
461
405
401
See Fig.E-1
Key No.32
See Fig.B-4
Key No.321
Fig.B-5
TPM-200F/R

MODEL TPM-200F/R
0207-001
Key No. PART No. PART NAME Q’ty REMARKS
NOTE
23
B-5
401 630 006 1352 CAM FOLLOWER 1 782B--110-401
402 630 108 4626 HOOK 1 782B--110-402
403 630 042 2146 HOOK 1 782B--110-403
404 630 003 0174 SPRING,TENSION 1 782B--110-404
405 630 107 4108 PIN,HINGE 1 782B--110-405
461 411 141 0703 NUT HEX 6 2 782B--110-461

MODEL TPM-200F/R
0207-001
24
テーブル部 TABLE SECTION
Fig. B-6 ケーブル Cable
See Fig.B-4
Key No.305
Fig.B-6
TPM-200F/R
See Fig.B-2
Key No.103
503
506
502
501
507
504
505
508
509
See Fig.B-1
Key No.8
B
A
B
A