FX-1 使用说明书.pdf - 第217页
第 5 章 编辑程 序 5.5.2.2 包装方式为管状时 管状送料器,备有 9 种 类型。 根据类型使用 1 个或多个通道。对 1 个管状送料器,可将全部通道分配同样元件,也可给各个 通道分配不同种类的元件。 ① 元件名称 ② 包装 不能输入。只显示在元件数据画面输入的数据。 ③ 供应设备 显示元件数据的包装方式标签中设置的值。 ④ 角度 设置元件吸取角度。 [供应]为[自动选择]时,无需输入(在列表画面中显示“*” ,在表格画面中浅色…

第 5 章 编辑程序
⑥ 位置
输入供应设备的安装位置号码。
设置[位置]后,在画面中显示 ④角度、⑧X1、Y1、Z、⑨状态的设置值。
④ 角度是在元件数据中的设置值。
⑧ 自动算出吸取位置的设置值(设置值根据机种而异)。
⑨ [状态]的默认设置值为[使用](列表画面时)
若是表格画面,则选中为[使用]。
另外,输入[位置]后,将会自动检查是否与原有的带状送料器、管状送料器、散装送料器重
复,如有重复,则显示错误提示,拒绝所输入的内容。
⑦ 通道号
无需输入。
⑧ X1、Y1、Z
设置吸取位置的坐标。设置供应、位置后,会自动计算显示。采用示教方式进行微调整。
* X2、Y2、X3、Y3 不输入。在列表画面上显示“*”。在表格画面上浅色显示。
⑨ 使用
设置在执行生产过程中,是否使用该供应装置。
默认为[使用]。如要变更,按[F2]键,出现弹出菜单后,可从中选择使用、不使用。
表 5.5-2 [使用]弹出菜单的选择范围
使用
不使用
带状送料器、管状送料器、散装送料器的前端有固定销,用于插入机器一侧的
安装孔。请指定这个固定侧的安装孔编号。
Yes
No
5-70
第 5 章 编辑程序
5.5.2.2 包装方式为管状时
管状送料器,备有 9 种类型。
根据类型使用 1 个或多个通道。对 1 个管状送料器,可将全部通道分配同样元件,也可给各个
通道分配不同种类的元件。
① 元件名称
② 包装
不能输入。只显示在元件数据画面输入的数据。
③ 供应设备
显示元件数据的包装方式标签中设置的值。
④ 角度
设置元件吸取角度。
[供应]为[自动选择]时,无需输入(在列表画面中显示“*”,在表格画面中浅色显示)。
默认值为元件数据中所设置的角度。
[供应]不是[自动选择]、且[位置]及[通道号]的值已设置时,可以修改角度的数据。
将输入焦点移到[角度]框上即可修改。
制作吸取数据时,元件数据的供应角度自动设置为默认值。
从数据库中调出制作的元件数据时,也与此同样,制作吸取数据时元件数据供应角度也自动设
置默认值。
在吸取数据中输入角度后,元件数据、数据库的角度值不变。
仅变更元件数据的供应角度时,会出现提示,询问是否要修改吸取数据的角度。
⑤ 供应
将供应变更为非[自动选择]时,可输入④角度。(列表画面上的“*”消失,变成空白。在表
格画面中恢复正常显示,接受输入)
5-71

第 5 章 编辑程序
⑥ 位置
设置插入管状送料器定位销的送料器安装孔号码。
输入⑦通道值后,显示该值。
变更位置后,位置右侧的各项目即被初始化,显示空白。
输入位置后,会自动检查是否与原有的带状送料器、管状送料器、散装送料器重复,如有重
复,则显示错误信息,所输入的内容会被拒绝。
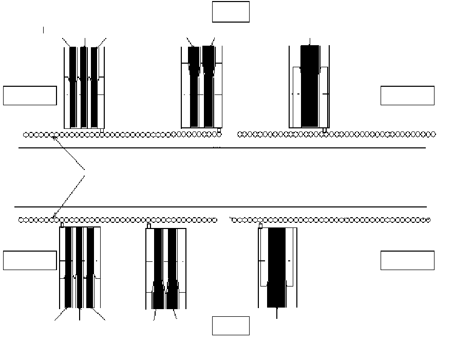
⑦ 通道
指定通道号。通道号顺序为:面向机器,前、后均从左起依次排序 1、2、…(参见下图)。
输入新通道或变更时,将自动计算并显示吸取位置(X1、Y1、Z)。若出现通道阻塞、重叠时,
会显示错误信息,拒绝所输入的内容。
後
后
通道 2 通道 1
通道 3 通道 2 通道 1 通道 1
左バンク
左侧台架
右バンク
右侧台架
左バンク
前
1
39
39
1
1
39
送料器安装孔
传送路
39
1
右バンク
右侧台架
左侧台架
前
通道 1
通道 1 通道 2
通道 1 通道 2 通道 3
图 5.5-4 通道编号示例
5-72