M8_ServiceManual_e.pdf - 第20页
1 Installation 1-6 ACTION: ① Locate the machine to the specified place. ② Remove metal fittings that fasten Head Unit, X and Y Beams, in order to prevent to move during transportation, and also det ach cushions put in th…

1 Installation
1-5
Installing the Machine
Do not touch terminals of electric components when the power is on to prevent electric shock and machine
damage.
Make sure to ground the machine to prevent electric shock.
Note on Installation
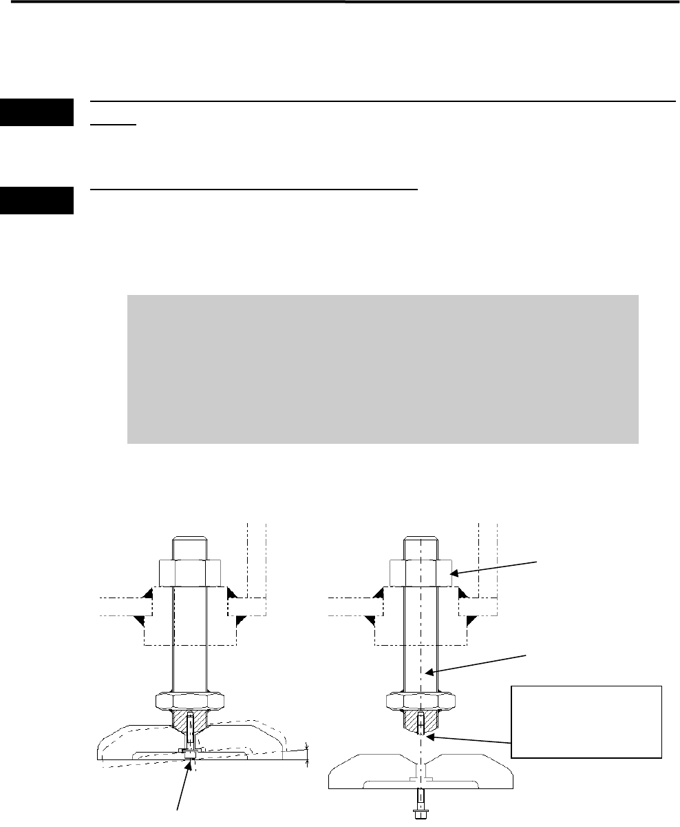
It is normal that the adjust foot can be slightly inclined (within 2-degree range).
Do not tighten the bolt forcedly trying to fix the foot.
When you move and/or install the mounter, be careful not to apply excessive
force on the adjust foot. This may cause the screw of the adjust foot to break.
When placing the mounter on the floor, be sure that the mounter is kept
horizontal.
Warning
Warning
2°
If excessive force is
applied, the screw may
break at this point.
Mounting Screw
Nut
Adjust foot

1 Installation
1-6
ACTION:
① Locate the machine to the specified place.
② Remove metal fittings that fasten Head Unit, X and Y Beams, in order to prevent to move during
transportation, and also detach cushions put in the head cable bear. After that, check to see that the X
beams and heads can move to the Y direction manually.
③ Five ropes can be taken off if five points have been removed.
Note; Please keep the metal fittings, they will be needed when moving the machine.
④ When the machine is installed stand alone, turn the adjust feet so that the PCB transfer height is the
same as the conveyor height (900±20mm (see Note)) of the reference equipment. In the case of
SMEMA interface spec, the height must be 950±20mm.
④ When the machine is connected to the Pre-process on production line, adjust the PCB transfer height
to the conveyor rail height of the Pre-process.
)
Production Line
出荷時の内部写真(背面側)
X 軸 Y 軸 ヘッド
A
C
B
B
A
C
C

1 Installation
1-7
Lever
NOTE: The height must be 890 to 920mm in the case of CFB wagon spec.
NOTE: The adjust feet must be turned using a M30 single-head wrench (nominal: 46mm).
⑤ Place a leveler on the base of the machine. Set the position to the conveyor of the Pre-process finely
until the machine is leveled.
) Supplementary Explanation for Installation
900±20mm
Or
950±20mm (SMEMA)
Front