AV131部品表(1).pdf - 第102页
挿入ヘッド部( 4) INSERTION H EAD SECT.(4) 5 FN610052012AA _00-4 M83

PART NAME
REMARKS
Q'TY
5
挿入ヘッド部(3)
INSERTION HEAD SECT.(3)
イラスト
No.
REF
No.
PART No.
部 品 品 番 個数 備 考
R
1
R
2
1035 108710903501
BLOCK フ
゙ロック
1
036 1087109036
BRACKET ブラケット
1
039 108710903903
SHAFT シャフト
1040 108710904003
SHAFT シャフト
1056 108710905603
LEVER レハ
゙ー
1
057 108710905701
LEVER レバー
1
075 108710907501
BRACKET ブラケット
2079 108710907901
COLLAR カラー
2080 108710908002
PIN ヒ
゚ン
2
081 1087109081
SPRING バネ
2082 108710908201
COLLAR カラー
2083 108710908301
PIN ヒ
゚ン
CF6R-A
4
N001
N531CF6RA
CAM FOLLOWER カムフォロア
AS2201F-02-06S
1
N008
KXF07FXAA00
SPEED CONTROLLER スピードコントローラ
10,STEEL,P.C
4
N010
XUB10FP
RETAINING RING C-TYPE C ガタジクヨウトメワ
CBQ2A63-DCG9487G-20
1
N014
N401CBQ2-J03
CYLINDER シリンタ
゙
NART10R-040010
1
N015
N531NART-016
ROLLER FOLLOWER ローラフォロア
M3X5-45H A2J (Trivalen
1
N022
N510018361AA
HEX. SOCKET SET SCREW ロッカクアナツキトメネジ
AS2211F-02-06S
1
N030
N406AS22-084
SPEED CONTROLLER スピードコントローラ
6205SN24ZZC3EA7S
4
N033
N510025639AA
BEARING ベアリンク
゙
NART17R-0263135
2
N036
N531NART-056
ROLLER FOLLOWER ローラフォロア
4-13VZZ
4
N037
N648413VZZ
BEARING ベアリング
WR5
4
N038
N508WR5
COLLAR カラー
D-A73
2V 1 N401DA73
SENSOR センサ
M82
FN610052012AA_00-3

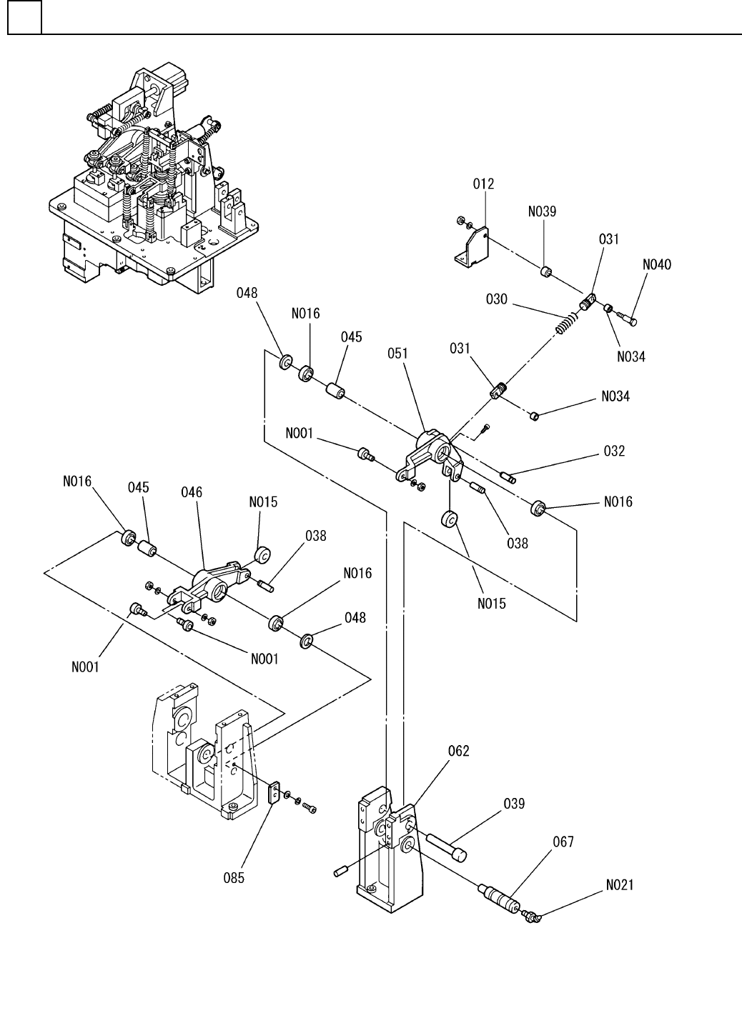
挿入ヘッド部(4)
INSERTION HEAD SECT.(4)
5
FN610052012AA_00-4
M83

PART NAME
REMARKS
Q'TY
5
挿入ヘッド部(4)
INSERTION HEAD SECT.(4)
イラスト
No.
REF
No.
PART No.
部 品 品 番 個数 備 考
R
1
R
2
1012 108710901204
BRACKET フ
゙ラケット
1
030 108710903002
SPRING バネ
2
031 108710903103
HOOK フック
1032 108710903201
PIN ピン
2038 102460903701
PIN ヒ
゚ン
1
039 108710903903
SHAFT シャフト
2
045 104130905902
COLLAR カラー
1046 108710904601
LEVER レハ
゙ー
2048 1087109048
COLLAR カラー
1
051 108710905101
LEVER レバー
1062 108710906201
BRACKET ブラケット
1067 1087109067
SHAFT シャフト
1
085 108710908502
PLATE プレート
CF6R-A
3
N001
N531CF6RA
CAM FOLLOWER カムフォロア
NART10R-040010
2
N015
N531NART-016
ROLLER FOLLOWER ローラフォロア
6003ZZ
4
N016
XLC6003ZZ
BALL BEARING ボールヘ
゙アリング
NGB-01S
1
N021
N510022906AA
GREASE NIPPLE グリスニップル
87LFZB8-10
2
N034
N510024740AA
BUSHING ブッシュ
87FNCLM-V8.0-D12.0-L11
1
N039
N510033407AA
COLLAR カラ-
87CLBGHN8-22.0-FC18
1
N040
N510024816AA
PIN ヒ
゚ン
M84
FN610052012AA_00-4