AV131部品表(1).pdf - 第46页
カバー部(Z軸 120<2>) COVER SECT. (Z-AXIS 120<2> ) 2 FN610056792AA _01-2 M27

PART NAME
REMARKS
Q'TY
2
カバー部(Z軸120<1>)
COVER SECT.(Z-AXIS 120<1>)
イラスト
No.
REF
No.
PART No.
部 品 品 番 個数 備 考
R
1
R
2
1 N610056792AA
COVER UNIT カハ
゙ーユニット
1
010 N210077059AA
RAIL レール
4
014 108710232003
STOPPER ストッパ
S
2028 108710233403
BRACKET ブラケット
8033 108710233901
PLATE フ
゚レート
4
034 N210071584AA
PLATE プレート
4
035 N210071585AA
BLOCK ブロック
1042 N210071347AB
PLATE フ
゚レート
D4NS-1BF S
2
N004
N510015338AA
SWITCH スイッチ
ST13.5
2
N005
KXF06F4AA00
JOINT ジョイント
C-30-SG-9A-WHITE
8
N008
KXF08LYAA00
GROMMET グロメット
TX010510
8
N012
N510002054AA
BOLT ボルト
(トルクスアナツキボタン)
M26
FN610056792AA_01-1

カバー部(Z軸120<2>)
COVER SECT.(Z-AXIS 120<2>)
2
FN610056792AA_01-2
M27

PART NAME
REMARKS
Q'TY
2
カバー部(Z軸120<2>)
COVER SECT.(Z-AXIS 120<2>)
イラスト
No.
REF
No.
PART No.
部 品 品 番 個数 備 考
R
1
R
2
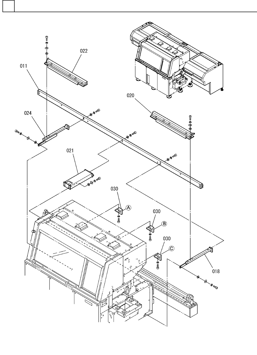
1011 1046931319
RAIL レール
1
018 1087102324
FRAME (R) フレーム(R)
1
020 108710232601
GUIDE(R) ガイド(R)
1021 1087102327
FRAME フレーム
1022 108710232801
GUIDE (L) ガ
イド(L)
1
024 1087102330
FRAME (L) フレーム(L)
3
030 1046902345
BRACKET ブラケット
M28
FN610056792AA_01-2