AV131部品表(1).pdf - 第219页
PART NA ME REM ARKS Q'TY 23 ローダ・アンローダ部 (ローダカバー 部<C-CON>) LOADER & UN LOADER SECT.(L OADER COVER SE CT.<C-CON>) イラスト No. REF No. PART No. 部 品 品 番 個数 備 考 R 1 R 2 1 N610065999AA LOADER COVER UNIT ロー…

ローダ・アンローダ部(ローダカバー部<C-CON>)
LOADER & UNLOADER SECT.(LOADER COVER SECT.<C-CON>)
23
FN610065999AA_02
M199

PART NAME
REMARKS
Q'TY
23
ローダ・アンローダ部(ローダカバー部<C-CON>)
LOADER & UNLOADER SECT.(LOADER COVER SECT.<C-CON>)
イラスト
No.
REF
No.
PART No.
部 品 品 番 個数 備 考
R
1
R
2
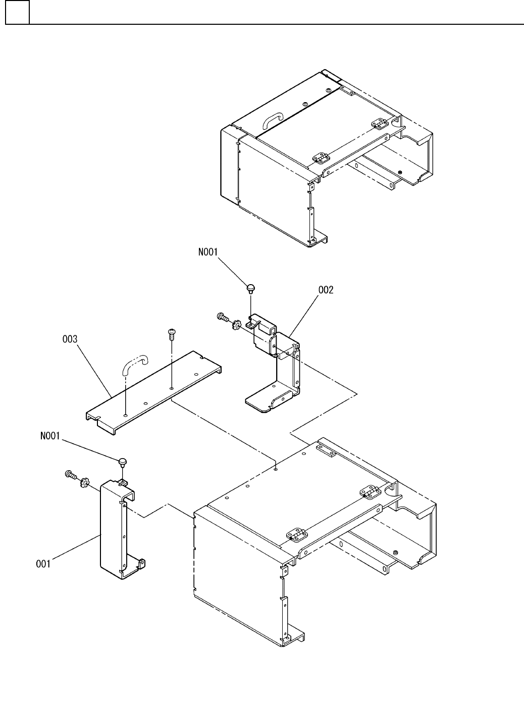
1 N610065999AA
LOADER COVER UNIT ロータ
゙カバーユニット
1
001 N210081983AC
COVER カバー
1
002 N210081984AC
COVER カバー
1003 N210081985AC
COVER カバー
C-30-CS-8
2
N001
KXF07GDAA00
RUBBER CUSHION ゴ
ムクッション
M200
FN610065999AA_02

ローダ・アンローダ部(アンローダカバー部<C-CON>)
LOADER & UNLOADER SECT.(UNLOADER COVER SECT.<C-CON>)
23
FN610066000AA_02
M201