AV131部品表(1).pdf - 第110页
挿入ユニット駆動部 INSERTION U NIT DRIVING SE CT. 7 FN610052015AA _00 M91

PART NAME
REMARKS
Q'TY
6
挿入ユニット部(2)
INSERTION UNIT SECT.(2)
イラスト
No.
REF
No.
PART No.
部 品 品 番 個数 備 考
R
1
R
2
1002 102031200108
CAM(SLIDE) カム
(スライド)
1
004 102031203802
GUIDE ガイド
1
005 102031201302
PLATE(GUIDE) プレート(ガイド)
1006 104131000602
PLATE(GUIDE) プレート(ガイド)
1008 1087110008
BASE(GUIDE) ベ
ース(ガイド)
1
009 1020312007
PIN ピン
1
010 1083510009
LEVER レバー
1011 N210065404AA
SPRING ハ
゙ネ
1012 1020312022
ROLLER ローラ
1
013 1083510012
PIN ピン
1014 1020312024
PIN ピン
1016 108351000501
BLOCK(R) ブ
ロック(R)
1
019 N210044355AA
PUSHER プッシャ
1
021 1087110021
GUIDE ガイド
1023 104131002302
CUTTER(RIGHT) カッター(RIGHT)
1024 N210044348AA
CUTTER(FIXED) カッター
(コテイ)
1
025 1083510014
PIN ピン
1
026 1083510015
PIN ピン
1028 1041310029
BRACKET ブラケット
1029 1020719803
PIN ヒ
゚ン
1
030 1045418014
SPRING バネ
1
032 1020312049
CAM(SLIDE) カム(スライド)
1034 N210028286AA
BENDING DIE ベンテ
゙ィングダイ
D3
1
N001
N506D3
STEEL BALL コウキュウ
3,STEEL,P.C
9
N002
XUC3FP
RETAINING RING E-TYPE E ガタトメワ
1.5,STEEL,P.C
1
N003
XUC15FP
RETAINING RING E-TYPE E ガタトメワ
M3
2
N004
N986YYYY-186
WASHER サ
゙ガネ
2X5,m6A,STEEL
1
N005
XPJ2A5FW
PARALLEL PIN ヘイコウピン
M90
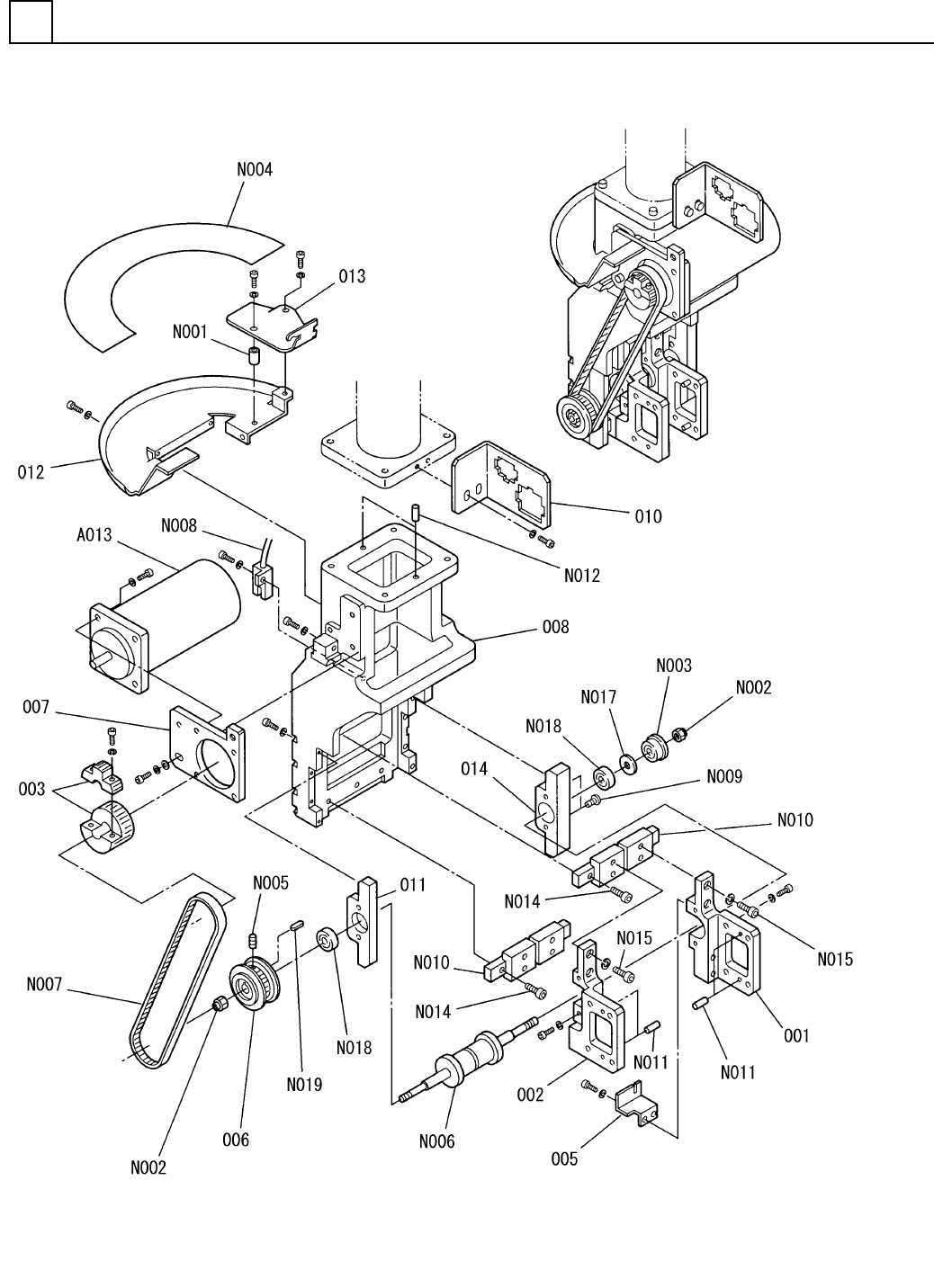
F10871-10-000-AB_03-2

挿入ユニット駆動部
INSERTION UNIT DRIVING SECT.
7
FN610052015AA_00
M91

PART NAME
REMARKS
Q'TY
7
挿入ユニット駆動部
INSERTION UNIT DRIVING SECT.
イラスト
No.
REF
No.
PART No.
部 品 品 番 個数 備 考
R
1
R
2
1 N610052015AA
INSERTION UNIT DRIVING UNIT ソウニュウユニットクト
゙ウ ブ
1
001 N210083074AA
HOUSING ハウジング
1
002 N210083073AA
HOUSING ハウジング
1003 108712300302
PULLEY プーリー
1005 1087123005
DOG FOR SENSOR ト
゙グ
1
006 108712300602
PULLEY プーリー
1
007 N210066592AA
PLATE プレート
1008 N210062742AA
FRAME フレーム
1010 N210066755AA
BRACKET フ
゙ラケット
1
011 108712301102
BRACKET ブラケット
1012 108712301202
PLATE プレート
1013 N210047001AA
BRACKET フ
゙ラケット
1
014 108712301401
BRACKET ブラケット
(MSMD5AZPJA) S
1
A013
N610052042AA
MOTOR モータ
87FNCLM-V5.0-D8.0-L10.
1
N001
N510033406AA
COLLAR カラー
M5,SUS301,2-TYPE,SS400
2
N002
N510004700AA
LOCK-NUT ロックナット
F605ZZ
1
N003
KXF0AL7AA00
BALL BEARING ボールベアリング
HMW-TAP-WER NO4
1
N004
N986HMWT-179
ADHESIVE TAPE ネンチャクテープ
M3X6,STEEL,P.C
1
N005
XXE3C6FP
HEX. SOCKET SET SCREW ロッカクアナツキトメネジ
MBF0602RL-2.7RRGT+107L
1
N006
N510019399AA
BALL SCREW ボールネシ
゙
324-3GT-6
1
N007
N6413243GT6
BELT(TIMING) ベルト(タイミング)
P914SA1
1
N008
N310P914SA1
SENSOR センサ
M3X6-4.8 A2J (Trivalen
2
N009
N510018253AA
TRUSS HEAD SCREW トラスコネシ
゙
2RSR7MUUC1S+65LHMS
2
N010
N5132RSR-A63
LINEAR MOTION UNIT リニアモーションユニット
3X8,A-TYPE
4
N011
N986YYYY-508
PARALLEL PIN ヘイコウピン
4X10,A-TYPE
2
N012
N986YYYY-509
PARALLEL PIN ヘイコウピン
M2X8-10.9 A2J (Trivale
6
N014
N510017261AA
HEX. SOCKET HEAD CAP BOLT ロッカクアナツキホ
゙ルト
M2X4-10.9 A2J (Trivale
8
N015
N510017257AA
BOLT ボルト
RB010014005
1
N017
N510033488AA
SHIM シム
605ZZ
2
N018
N510003188AA
BALL BEARING ボールベアリング
2X2X6,PARALLEL,B.S.R
1
N019
XPA2L2F6
SUNK KEY シス
゙ミキー
M92
FN610052015AA_00