AV131部品表(1).pdf - 第41页
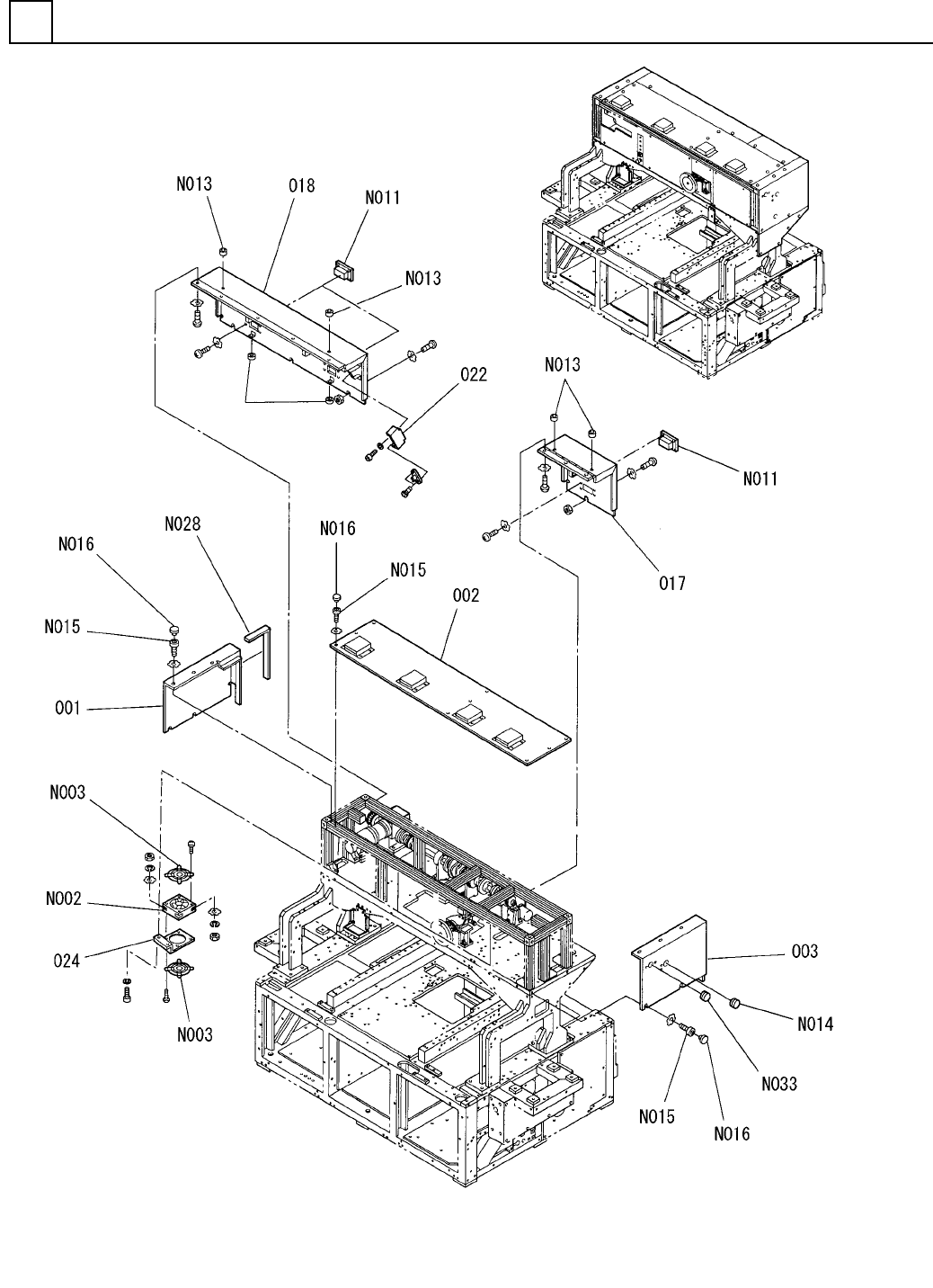
PART NA ME REM ARKS Q'TY 2 カバー部( 2) COVER SECT. (2) イラスト No. REF No. PART No. 部 品 品 番 個数 備 考 R 1 R 2 1 001 N210078230AA COVER カハ ゙ー 1 002 N210078187AA COVER カバー 1 003 N210070132AE SIDE COVER ( R) サイドカバー (R) 1 01…

カバー部(2)
COVER SECT.(2)
2
FN610070384AA_01-2
M21

PART NAME
REMARKS
Q'TY
2
カバー部(2)
COVER SECT.(2)
イラスト
No.
REF
No.
PART No.
部 品 品 番 個数 備 考
R
1
R
2
1001 N210078230AA
COVER カハ
゙ー
1
002 N210078187AA
COVER カバー
1
003 N210070132AE
SIDE COVER (R) サイドカバー(R)
1017 N210072016AA
REAR COVER(RIGHT) リアカバー(RIGHT)
S
1018 N210072015AA
REAR COVER(LEFT) リアカハ
゙ー(LEFT)
1
022 1087102064
BRACKET ブラケット
3
024 N210071793AA
BRACKET ブラケット
4715KL-05W-B29-P53
3
N002
N510035075AA
FAN WITH MOTOR ファン
PG-47-02(8130)
6
N003
N238PG47-091
COVER(FAN) カハ
゙ー(ファン)
A-1191-2-B
3
N011
N980A11912B
DRAWER PULL トッテ
C-30-CS-4
2
N012
KXF01E2AA00
RUBBER ゴム
C-30-CS-5
4
N013
KXF01E3AA00
RUBBER コ
゙ム
C-30-BW-25-2,WHITE
1
N014
N980C30B-120
GROMMET グロメット
JB-A M5X8 +
19
N015
N510038044AA
BOLT ボルト
M5X12
19
N016
N986YYYY-814
CAP キャップ
E02S130040JST
1
N028
N510024567AA
GASKET カ
゙スケット
C-30-SG-24A,WHITE
1
N033
N980C30S-065
GROMMET グロメット
M22
FN610070384AA_01-2

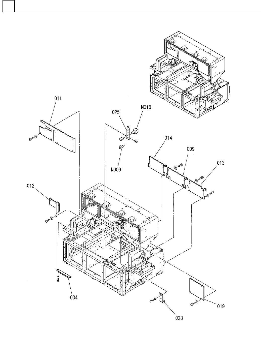
カバー部(3)
COVER SECT.(3)
2
FN610070384AA_01-3
M23