AV131部品表(1).pdf - 第119页
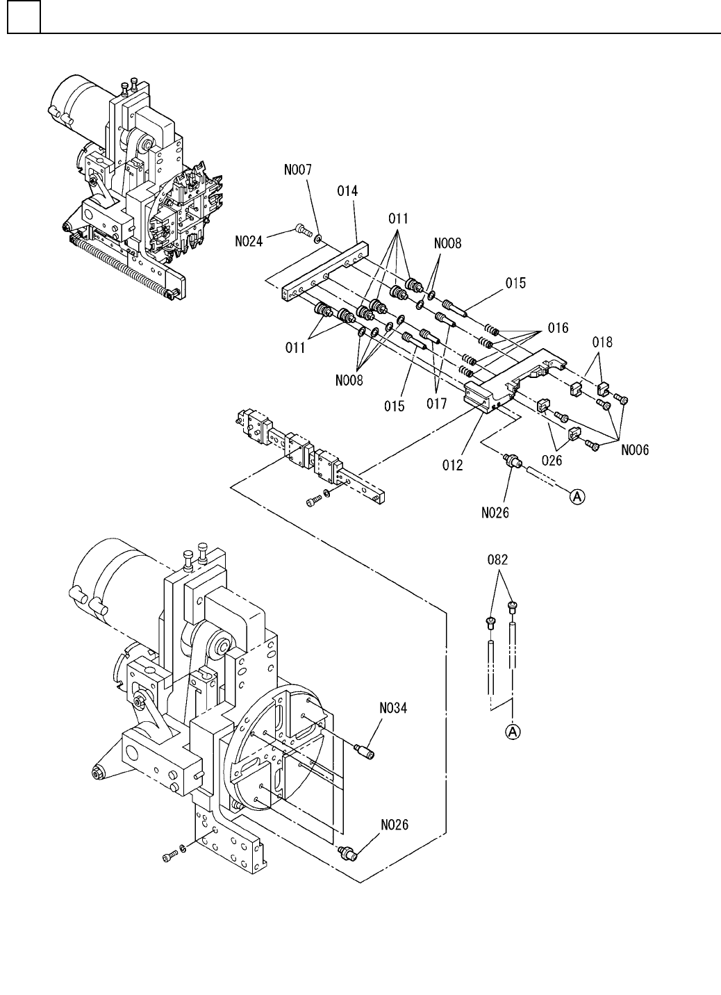
PART NA ME REM ARKS Q'TY 8 移載チャック部 (4) TRANSFER CH UCK SECT.(4) イラスト No. REF No. PART No. 部 品 品 番 個数 備 考 R 1 R 2 6 011 108711101101 SPACER スヘ ゚ーサ 1 012 108711101201 SLIDER スライダ 1 014 N210098884AA CAP キャップ 2 015 10…

移載チャック部(4)
TRANSFER CHUCK SECT.(4)
8
FN610052073AA_01-4
M99

PART NAME
REMARKS
Q'TY
8
移載チャック部(4)
TRANSFER CHUCK SECT.(4)
イラスト
No.
REF
No.
PART No.
部 品 品 番 個数 備 考
R
1
R
2
6011 108711101101
SPACER スヘ
゚ーサ
1
012 108711101201
SLIDER スライダ
1
014 N210098884AA
CAP キャップ
2015 108381101501
PISTON ピストン
4016 104131100803
SPRING ハ
゙ネ
2
017 108381101701
PISTON ピストン
2
018 N210050981AA
BLOCK ブロック
2026 N210050982AA
BLOCK フ
゙ロック
2082 N210060559AA
ORIFICE RING オリフィスリンク
゙
FECAP-2X5-3CR-202
4
N006
N510015919AA
HEX. SOCKET HEAD CAP BOLT ロッカクアナツキボルト
No.2 2 S A2J (Trivalen
2
N007
N510018324AA
SPRING WASHER バネザガネ
C03835A
6
N008
KXF0DWKFA00
O-RING O
リング
Hexagon socket head ca
2
N024
N510017254AA
BOLT ボルト
M-5H-4
6
N026
KXF02T7AA00
FITTING ニップル
KJH04-M5
4
N034
KXF029HAA00
JOINT ジョイント
M100
FN610052073AA_01-4

移載チャック部(5)
TRANSFER CHUCK SECT.(5)
8
FN610052073AA_01-5
M101