AV131部品表(1).pdf - 第108页
挿入ユニット部( 2) INSERTION U NIT SECT.(2) 6 F10871-10-000 -AB_03-2 M89

PART NAME
REMARKS
Q'TY
6
挿入ユニット部(1)
INSERTION UNIT SECT.(1)
イラスト
No.
REF
No.
PART No.
部 品 品 番 個数 備 考
R
1
R
2
1 1087110000
INSERTION UNIT ソウニュウユニット
1
001 102031200508
CAM(SLIDE) カム(スライド)
1
003 102031203702
GUIDE ガイド
1005 102031201302
PLATE(GUIDE) プレート(ガイド)
1007 N210044349AA
BASE(GUIDE) ベ
ース(ガイド)
1
009 1020312007
PIN ピン
1
011 N210065404AA
SPRING バネ
1012 1020312022
ROLLER ローラ
1013 1083510012
PIN ヒ
゚ン
1
014 1020312024
PIN ピン
1015 108351000401
BLOCK(L) ブロック(L)
1017 1083510010
LEVER レハ
゙ー
1
018 N210044353AA
PUSHER プッシャ
1
020 1087110020
GUIDE ガイド
1022 104131002202
CUTTER(LEFT) カッター(LEFT)
1024 N210044348AA
CUTTER(FIXED) カッター
(コテイ)
1
025 1083510014
PIN ピン
1
026 1083510015
PIN ピン
1027 1041310028
BRACKET ブラケット
1029 1020719803
PIN ヒ
゚ン
1
030 1045418014
SPRING バネ
1
031 1020312050
CAM(SLIDE) カム(スライド)
1033 N210028285AA
BENDING DIE ベンテ
゙ィングダイ
1035 104131003701
PLATE(GUIDE) プレート(
ガイド)
D3
1
N001
N506D3
STEEL BALL コウキュウ
3,STEEL,P.C
9
N002
XUC3FP
RETAINING RING E-TYPE E ガタトメワ
1.5,STEEL,P.C
1
N003
XUC15FP
RETAINING RING E-TYPE E
ガタトメワ
M3
2
N004
N986YYYY-186
WASHER ザガネ
2X5,m6A,STEEL
1
N005
XPJ2A5FW
PARALLEL PIN ヘイコウピン
M88
F10871-10-000-AB_03-1

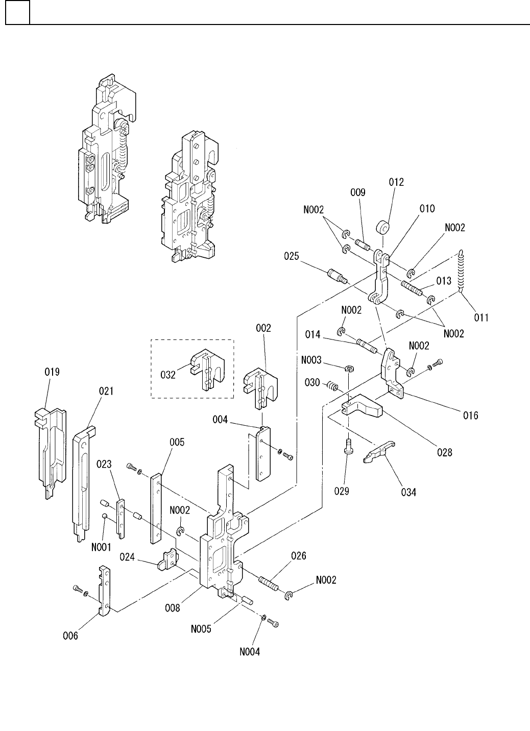
挿入ユニット部(2)
INSERTION UNIT SECT.(2)
6
F10871-10-000-AB_03-2
M89

PART NAME
REMARKS
Q'TY
6
挿入ユニット部(2)
INSERTION UNIT SECT.(2)
イラスト
No.
REF
No.
PART No.
部 品 品 番 個数 備 考
R
1
R
2
1002 102031200108
CAM(SLIDE) カム
(スライド)
1
004 102031203802
GUIDE ガイド
1
005 102031201302
PLATE(GUIDE) プレート(ガイド)
1006 104131000602
PLATE(GUIDE) プレート(ガイド)
1008 1087110008
BASE(GUIDE) ベ
ース(ガイド)
1
009 1020312007
PIN ピン
1
010 1083510009
LEVER レバー
1011 N210065404AA
SPRING ハ
゙ネ
1012 1020312022
ROLLER ローラ
1
013 1083510012
PIN ピン
1014 1020312024
PIN ピン
1016 108351000501
BLOCK(R) ブ
ロック(R)
1
019 N210044355AA
PUSHER プッシャ
1
021 1087110021
GUIDE ガイド
1023 104131002302
CUTTER(RIGHT) カッター(RIGHT)
1024 N210044348AA
CUTTER(FIXED) カッター
(コテイ)
1
025 1083510014
PIN ピン
1
026 1083510015
PIN ピン
1028 1041310029
BRACKET ブラケット
1029 1020719803
PIN ヒ
゚ン
1
030 1045418014
SPRING バネ
1
032 1020312049
CAM(SLIDE) カム(スライド)
1034 N210028286AA
BENDING DIE ベンテ
゙ィングダイ
D3
1
N001
N506D3
STEEL BALL コウキュウ
3,STEEL,P.C
9
N002
XUC3FP
RETAINING RING E-TYPE E ガタトメワ
1.5,STEEL,P.C
1
N003
XUC15FP
RETAINING RING E-TYPE E ガタトメワ
M3
2
N004
N986YYYY-186
WASHER サ
゙ガネ
2X5,m6A,STEEL
1
N005
XPJ2A5FW
PARALLEL PIN ヘイコウピン
M90
F10871-10-000-AB_03-2