AV131部品表(1).pdf - 第71页
PART NA ME REM ARKS Q'TY 2 カバー部(Z軸 60<6>) COVER SECT. (Z-AXIS 60<6>) イラスト No. REF No. PART No. 部 品 品 番 個数 備 考 R 1 R 2 2 005 N210071337AA BRACKET フ ゙ラケット 2 009 N210071339AB BRACKET ブラケット 1 017 108710232…

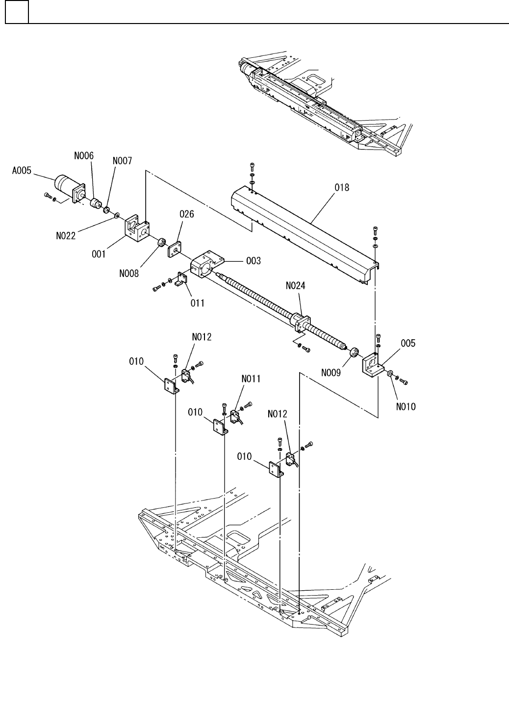
カバー部(Z軸60<6>)
COVER SECT.(Z-AXIS 60<6>)
2
FN610060957AA_01_A-6
M51

PART NAME
REMARKS
Q'TY
2
カバー部(Z軸60<6>)
COVER SECT.(Z-AXIS 60<6>)
イラスト
No.
REF
No.
PART No.
部 品 品 番 個数 備 考
R
1
R
2
2005 N210071337AA
BRACKET フ
゙ラケット
2
009 N210071339AB
BRACKET ブラケット
1
017 108710232501
COVER(R) カバー(R)
1019 N210099456AA
COVER(L) カバー(L)
S
1024 N210071372AA
BRACKET フ
゙ラケット
1
026 N210071348AA
BRACKET ブラケット
2
027 1046931347
BRACKET ブラケット
1037 N210071527AA
BRACKET フ
゙ラケット
1038 N210099749AB
COVER カハ
゙ー
1
039 N210099371AA
COVER カバー
1040 N210099377AA
SUPPORT サポート
S
1
A003
N610061395AA
RIGHT DOOR ド
ア(RIGHT)
M3X6-4.8 A2J (Trivalen
5
N001
N510018253AA
TRUSS HEAD SCREW トラスコネジ
3 External toothed Ste
5
N002
N510018760AA
TOOTHED LOCK WASHER ハツキザガネ
A-174-1
1
N003
N980A1741
DRAWER PULL トッテ
M5X12-4.8 A2J (Trivale
2
N006
N510018286AA
TRUSS HEAD SCREW トラスコネシ
゙
22RF602C-1
8
N011
N50022RF-016
BEARING ベアリング
C-158-3
1
N013
N980C1583
MAGNETIC CATCH マグネットキャッチ
5 External toothed Ste
12
N014
N510018765AA
TOOTHED LOCK WASHER ハツキザガネ
22RF603C-1
6
N020
N50022RF-017
BEARING ベアリンク
゙
M52
FN610060957AA_01_A-6

X-Yテ-ブル部(X軸駆動部)
X-Y TABLE SECT.(X-AXIS DRIVING SECT.)
3
FN610055746AA_02-1
M53