AV131部品表(1).pdf - 第75页
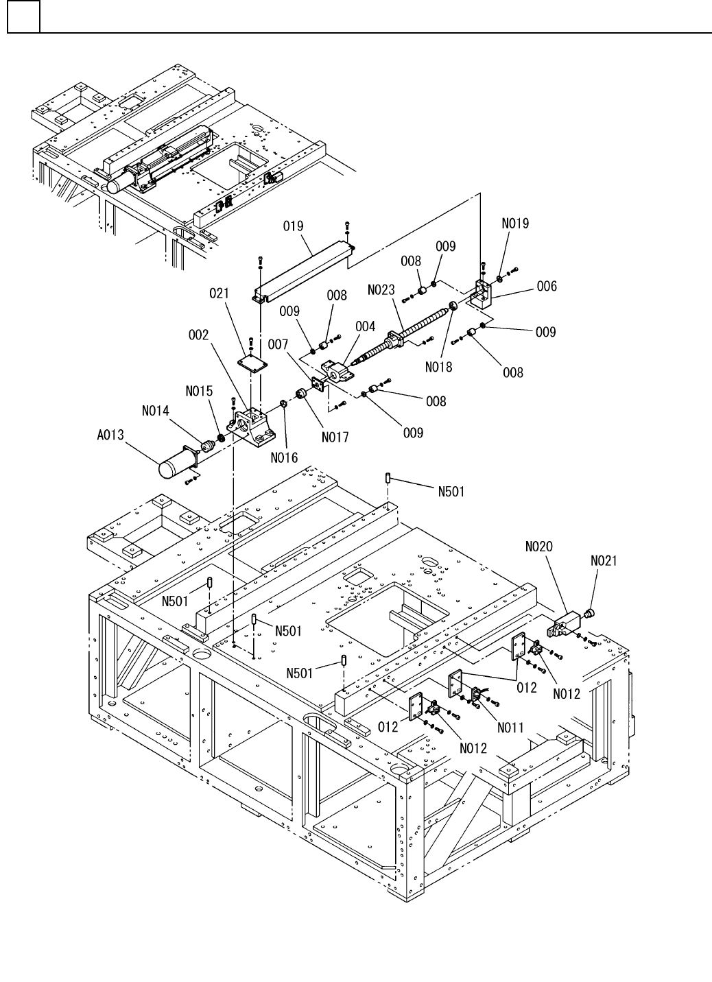
PART NA ME REM ARKS Q'TY 3 X-Yテ-ブ ル部(Y軸駆動 部) X-Y TABLE S ECT.(Y-AXIS DR IVING SECT.) イラスト No. REF No. PART No. 部 品 品 番 個数 備 考 R 1 R 2 1 002 N210084043AA BRACKET(MOTO R) ブラケット (モータ) 1 004 X01L21011 HOUSING ハウジング …

X-Yテ-ブル部(Y軸駆動部)
X-Y TABLE SECT.(Y-AXIS DRIVING SECT.)
3
FN610055746AA_02-2
M55

PART NAME
REMARKS
Q'TY
3
X-Yテ-ブル部(Y軸駆動部)
X-Y TABLE SECT.(Y-AXIS DRIVING SECT.)
イラスト
No.
REF
No.
PART No.
部 品 品 番 個数 備 考
R
1
R
2
1002 N210084043AA
BRACKET(MOTOR) ブラケット
(モータ)
1
004 X01L21011
HOUSING ハウジング
1
006 N210068163AA
HOLDER ホルダ
1007 N210027736AA
BEARING ベアリング
4008 X00K02068
STOPPER ストッハ
゚ー
4
009 X00K02069
COLLAR カラー
3
012 1087104015
PLATE(Y) プレート(Y)
1019 N210084055AA
COVER カハ
゙ー
1021 N210084053AA
COVER カハ
゙ー
(MSMD082PJA) S
1
A013
N610052028AA
MOTOR モータ
P921S1
1
N011
N310P921S1
SENSOR センサ
PANADAC921SA1
2
N012
N310P921SA1
SENSOR センサ
SFC-040SA2-13B-19B
1
N014
N510010690AA
COUPLING カップリング
FU02SC
1
N015
KXF0234AA00
LOCK-NUT ロックナット
87FWSSB-D20.0-V15.0-T5
1
N016
N510034922AA
WASHER ザガネ
7202ADBP5
1
N017
N510003493AA
BEARING ベ
アリング
6202ZZ
1
N018
XLC6202ZZ
BALL BEARING ボールベアリング
87FWSSB-D20.0-V5.0-T3.
1
N019
N510033408AA
WASHER ザガネ
LS-11S/RL S
1
N020
N510030839AA
SWITCH スイッチ
V-M20
1
N021
KXF0DG3AA00
CABLE ケーフ
゙ル
GZ2010ES-ZAPR-0588X050
1
N023
N510037865AA
BALL SCREW ボールネジ
6X10,m6A,STEEL
5
N501
XPJ6A10FW
PARALLEL PIN ヘイコウピン
M56
FN610055746AA_02-2

X-Yテ-ブル部(テーブル部1)
X-Y TABLE SECT.(TABLE SECT.-1)
3
FN610055746AA_02-3
M57