AV131部品表(1).pdf - 第76页
X-Yテ-ブル部 (テーブル部 1) X-Y TABLE S ECT.(TABLE SEC T.-1) 3 FN610055746AA _02-3 M57

PART NAME
REMARKS
Q'TY
3
X-Yテ-ブル部(Y軸駆動部)
X-Y TABLE SECT.(Y-AXIS DRIVING SECT.)
イラスト
No.
REF
No.
PART No.
部 品 品 番 個数 備 考
R
1
R
2
1002 N210084043AA
BRACKET(MOTOR) ブラケット
(モータ)
1
004 X01L21011
HOUSING ハウジング
1
006 N210068163AA
HOLDER ホルダ
1007 N210027736AA
BEARING ベアリング
4008 X00K02068
STOPPER ストッハ
゚ー
4
009 X00K02069
COLLAR カラー
3
012 1087104015
PLATE(Y) プレート(Y)
1019 N210084055AA
COVER カハ
゙ー
1021 N210084053AA
COVER カハ
゙ー
(MSMD082PJA) S
1
A013
N610052028AA
MOTOR モータ
P921S1
1
N011
N310P921S1
SENSOR センサ
PANADAC921SA1
2
N012
N310P921SA1
SENSOR センサ
SFC-040SA2-13B-19B
1
N014
N510010690AA
COUPLING カップリング
FU02SC
1
N015
KXF0234AA00
LOCK-NUT ロックナット
87FWSSB-D20.0-V15.0-T5
1
N016
N510034922AA
WASHER ザガネ
7202ADBP5
1
N017
N510003493AA
BEARING ベ
アリング
6202ZZ
1
N018
XLC6202ZZ
BALL BEARING ボールベアリング
87FWSSB-D20.0-V5.0-T3.
1
N019
N510033408AA
WASHER ザガネ
LS-11S/RL S
1
N020
N510030839AA
SWITCH スイッチ
V-M20
1
N021
KXF0DG3AA00
CABLE ケーフ
゙ル
GZ2010ES-ZAPR-0588X050
1
N023
N510037865AA
BALL SCREW ボールネジ
6X10,m6A,STEEL
5
N501
XPJ6A10FW
PARALLEL PIN ヘイコウピン
M56
FN610055746AA_02-2

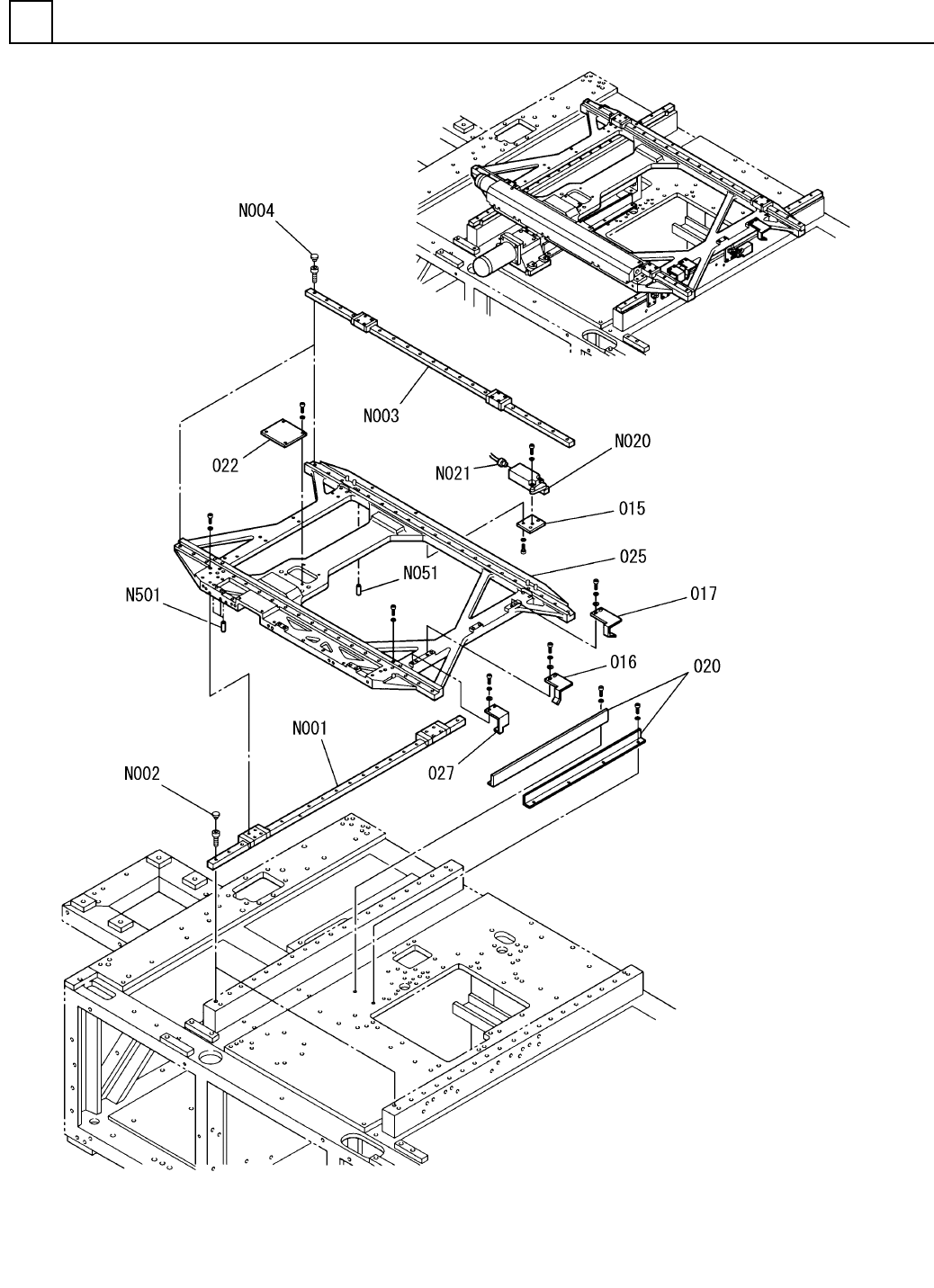
X-Yテ-ブル部(テーブル部1)
X-Y TABLE SECT.(TABLE SECT.-1)
3
FN610055746AA_02-3
M57

PART NAME
REMARKS
Q'TY
3
X-Yテ-ブル部(テーブル部1)
X-Y TABLE SECT.(TABLE SECT.-1)
イラスト
No.
REF
No.
PART No.
部 品 品 番 個数 備 考
R
1
R
2
1015 X01L21081
PLATE フ
゚レート
1
016 1087104020
BRACKET ブラケット
1
017 1087104021
BRACKET ブラケット
2020 N210084054AA
COVER カバー
1022 X01L21106
COVER カハ
゙ー
1
025 N210081970AA
Y-TABLE Y テーブル
1
027 1087104016
DOG FOR SENSOR センサドグ
SSR20XW2UUC1+1130LH-2
2
N001
N513SSR2-A44
LINEAR MOTION UNIT(Y) リニアモーションユニット
(Y)
C5
38
N002
N513C5
CAP キャッフ
゚
SSR15XW2UUC1+1180LHY-2
2
N003
N513SSR1-810
LINEAR MOTION UNIT(X) リニアモーションユニット(X)
C4
40
N004
N513C4
CAP キャップ
LS-11S/RL S
1
N020
N510030839AA
SWITCH スイッチ
V-M20
1
N021
KXF0DG3AA00
CABLE ケーブル
6X10,m6A,STEEL
4
N501
XPJ6A10FW
PARALLEL PIN ヘイコウピン
M58
FN610055746AA_02-3