AV131部品表(1).pdf - 第235页
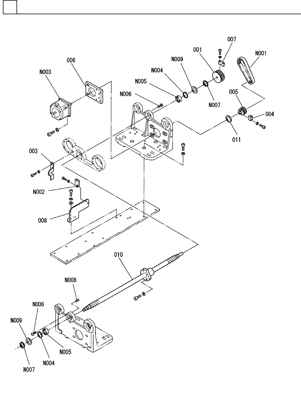
PART NA ME REM ARKS Q'TY 23 ローダ・アンローダ 部(自動幅寄せ 部2) LOADER & UN LOADER SECT.(A UTO WIDTH CONT ROL SECT.-2) イラスト No. REF No. PART No. 部 品 品 番 個数 備 考 R 1 R 2 1 001 N210078205AA PULLEY フ ゚ーリー 1 003 N210083151AA DOG…

ローダ・アンローダ部(自動幅寄せ部2)
LOADER & UNLOADER SECT.(AUTO WIDTH CONTROL SECT.-2)
23
FN610055731AA_00-2
M215

PART NAME
REMARKS
Q'TY
23
ローダ・アンローダ部(自動幅寄せ部2)
LOADER & UNLOADER SECT.(AUTO WIDTH CONTROL SECT.-2)
イラスト
No.
REF
No.
PART No.
部 品 品 番 個数 備 考
R
1
R
2
1001 N210078205AA
PULLEY フ
゚ーリー
1
003 N210083151AA
DOG FOR SENSOR (L) ドグ(L)
1
004 N210070021AA
BLOCK ブロック
1005 N210070022AB
PULLEY プーリー
1006 N210070025AA
PLATE フ
゚レート
1
007 N210075906AA
BRACKET ブラケット
1
008 N210079974AA
BRACKET ブラケット
1010 N210070783AA
SCREW ネシ
゙
1011 109970514001
COLLAR カラー
T5-10-50
1
N001
N641T51050
BELT(TIMING) ベルト(タイミング)
P914S1
1
N002
N310P914S1
SENSOR センサ
103H7832-0312(DDA) S
1
N003
KXF0DZDRA00
MOTOR モータ
SCSS1618ZD
2
N004
N510034925AA
COLLAR カラ-
6001ZZ
2
N005
XLC6001ZZ
BALL BEARING ボールベアリング
M4X8-4.8 A2J (Trivalen
6
N006
N510018282AA
TRUSS HEAD SCREW トラスコネジ
FU01SS
2
N007
KXF0233AA00
LOCK-NUT ロックナット
M4X6-45H A2J (Trivalen
3
N008
N510018438AA
HEX. SOCKET SET SCREW ロッカクアナツキトメネジ
SCSS1618ZD
2
N009
N510034925AA
COLLAR カラ-
M216
FN610055731AA_00-2

テープフィーダ部<51mm>
TAPE FEEDER SECT.<51mm>
24
F10207-32-450-AB_B
M217