AV131部品表(1).pdf - 第262页
JWヘッド部( 駆動部) JW HEAD SEC T.(DRIVING SEC T.) 26 F10871-20-000 -AG_02 M243

PART NAME
REMARKS
Q'TY
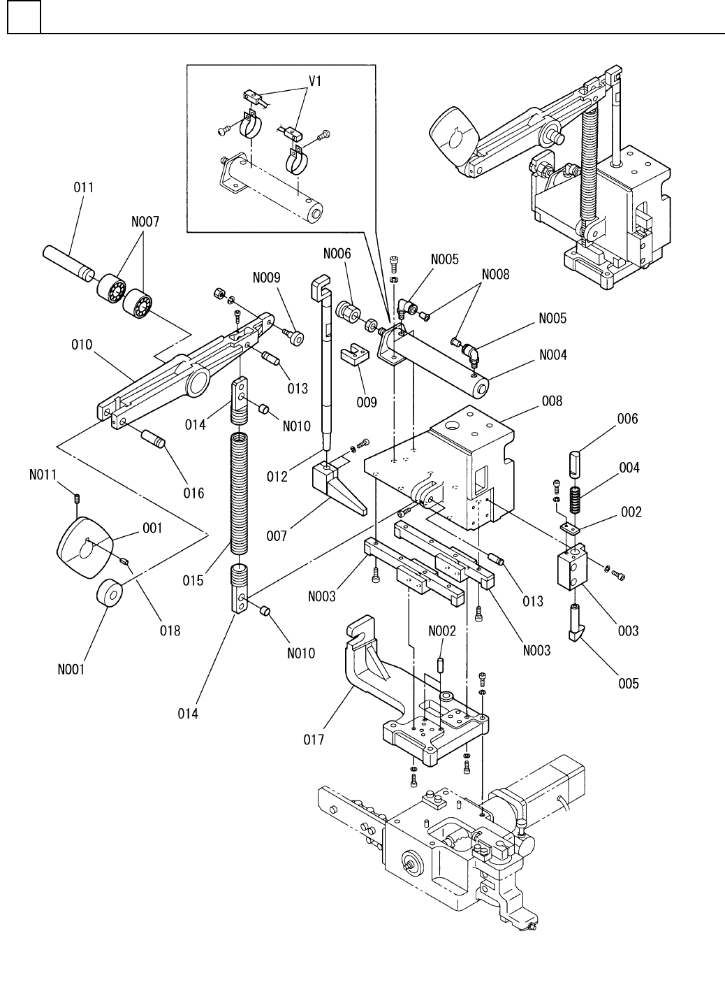
26
J.W.ヘッド部(4)
J.W.HEAD SECT.(4)
イラスト
No.
REF
No.
PART No.
部 品 品 番 個数 備 考
R
1
R
2
1121 1083520027
WHEEL ホイール
1
123 1041420045
SPRING バネ
1
124 1020310058
SPRING バネ
1125 1046920128
SHAFT シャフト
1126 104142000205
FLANGE フランシ
゙
1
127 104142001803
BLOCK ブロック
1
128 102031007902
COLLAR カラー
1129 108352000901
ROLLER ローラ
1131 1046920134
BRACKET フ
゙ラケット
1
132 1046920135
SHAFT シャフト
1133 1041420016
PLATE プレート
F699ZZ
1
N006
KXF08ZCAA00
BALL BEARING ボールヘ
゙アリング
M4-6H-4T A2J (Trivalen
3
N009
N510017859AA
HEXAGON NUT ロッカクナット
M5-6H-4T A2J (Trivalen
1
N011
N510017862AA
NUT ナット
A-1176-18
1
N017
N980A117618
KNOB ツマミ
3X16,m6A,STEEL
1
N019
XPJ3A16FW
PARALLEL PIN ヘイコウヒ
゚ン
6901ZZ
1
N020
XLC6901ZZ
BALL BEARING ボールベアリング
M4X14-45H A2J (Trivale
3
N022
N510018429AA
HEX. SOCKET SET SCREW ロッカクアナツキトメネジ
87CCG4-16.0
1
N023
N510035950AA
PIN ピン
M3X4-45H A2J (Trivalen
3
N024
N510018392AA
HEX. SOCKET SET SCREW ロッカクアナツキトメネシ
゙
M242
FN610052080AA_00-4

JWヘッド部(駆動部)
JW HEAD SECT.(DRIVING SECT.)
26
F10871-20-000-AG_02
M243

PART NAME
REMARKS
Q'TY
26
JWヘッド部(駆動部)
JW HEAD SECT.(DRIVING SECT.)
イラスト
No.
REF
No.
PART No.
部 品 品 番 個数 備 考
R
1
R
2
1 1087120000
J.W. HEAD UNIT J.W
. ヘッドユニット
1
001 108712000104
CAM カム
1
002 N210074677AA
PLATE プレート
1003 1087120003
BLOCK ブロック
1004 N210038186AA
SPRING ハ
゙ネ
1
005 N210073124AA
SHAFT シャフト
1
006 N210073097AA
SHAFT シャフト
1007 104132000701
PUSHER フ
゚ッシャ
1008 N210073728AA
BRACKET フ
゙ラケット
1
009 108712000903
PLATE プレート
1010 108712001001
LEVER レバー
1011 1041318036
SHAFT シャフト
1
012 108712001202
ROD ロッド
2
013 1024609033
PIN ピン
2014 1087112021
PIN ピン
1015 1087120015
SPRING ハ
゙ネ
1
016 102460903701
PIN ピン
1
017 1083820018
BRACKET ブラケット
1018 1041301080
KEY キー
NART10R-040010
1
N001
N531NART-016
ROLLER FOLLOWER ローラフォロア
3X8,m6A,STEEL
2
N002
XPJ3A8FW
PARALLEL PIN ヘイコウピン
HSR12R1UUC1M+150LPM-2
2
N003
N513HSR1-302
LINEAR MOTION UNIT リニアモーションユニット
CDG1LN20-80-B54
1
N004
N401CDG1-723
CYLINDER シリンタ
゙
KQ2L06-01S
2
N005
KXF0DYW0A00
FITTING ツキ
゙テ
FJR8-1.25-8
1
N006
N405FJR8-006
FLOATING JOINT フローティングジョイント
NA5902
2
N007
N510003014AA
NEEDLE ROLLER BEARING ニードルローラベアリング
R4X0.5
2
N008
KXF089MAA00
RING リンク
゙
CF5RA
1
N009
N531CF5RA
CAM FOLLOWER カムフォロア
K5B0806
2
N010
N510022568AA
BUSHING ブッシュ
M8X10-45H A2J (Trivale
1
N011
N510018455AA
SET SCREW ロッカクアナツキトメネジ
D-B54
2V 1 N401DB54
SWITCH スイッチ
M244
F10871-20-000-AG_02