AV131部品表(1).pdf - 第239页
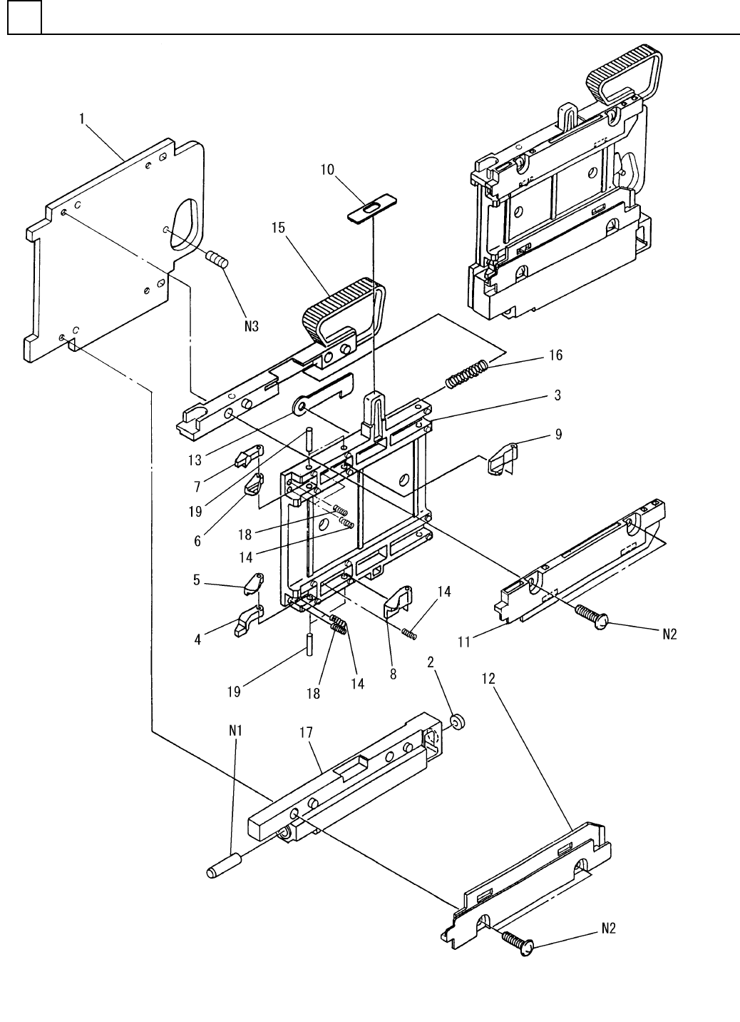
PART NA ME REM ARKS Q'TY 24 テープフィーダ 部<52mm > TAPE FEEDER SECT.<52mm> イラスト No. REF No. PART No. 部 品 品 番 個数 備 考 R 1 R 2 1 1046932000 TAPE FEEDER UNIT テーフ ゚フィーダユニット 1 1 1046932001 FRAME フレーム 1 2 10207310…

テープフィーダ部<52mm>
TAPE FEEDER SECT.<52mm>
24
F10469-32-000_B
M219

PART NAME
REMARKS
Q'TY
24
テープフィーダ部<52mm>
TAPE FEEDER SECT.<52mm>
イラスト
No.
REF
No.
PART No.
部 品 品 番 個数 備 考
R
1
R
2
1 1046932000
TAPE FEEDER UNIT テーフ
゚フィーダユニット
1
1 1046932001
FRAME フレーム
1
2 1020731002
RING リング
13 102073200301
BLOCK(SLIDE) ブロック(スライド)
14 1020731024
LEVER レハ
゙ー
1
5 102073102502
LEVER レバー
1
6 102073102602
LEVER レバー
17 1020731027
LEVER レハ
゙ー
18 102073102801
LEVER レハ
゙ー
1
9 102073102901
LEVER レバー
110 1020731010
COVER カバー
111 102073301101
PLATE フ
゚レート
1
12 102073301201
PLATE プレート
1
13 1020731013
LEVER レバー
414 1020731031
SPRING バネ
115 1046933015
FRAME フレーム
1
16 1020731016
SPRING バネ
1
17 1020732017
FRAME フレーム
218 1020731014
SPRING バネ
419 1020731019
PIN ヒ
゚ン
MS5-15
1
N 1 N986MS515
PARALLEL PIN ヘイコウピン
M3X10,+,STEEL,Z.B.P
4
N 2 XSB3+10FZ
BINDING HEAD SCREW バインドコネジ
1020201-20006
1N 3 N9861020-128
PIN ヒ
゚ン
M220
F10469-32-000_B

テープフィーダ部<26mm>
TAPE FEEDER SECT.<26mm>
24
F10469-33-000-AC_B
M221