AV131部品表(1).pdf - 第49页
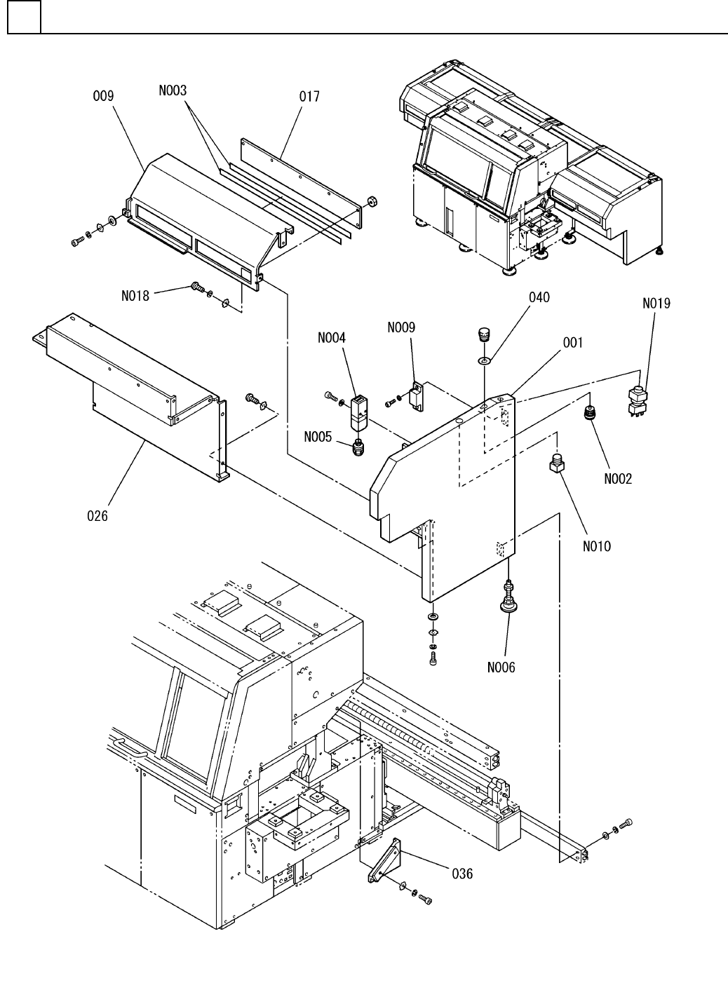
PART NA ME REM ARKS Q'TY 2 カバー部( Z軸120<3>) COVER SECT. (Z-AXIS 120<3> ) イラスト No. REF No. PART No. 部 品 品 番 個数 備 考 R 1 R 2 S 1 001 N210071357AC SIDE COVER(R IGHT) サイト ゙カバー(RIGHT) 1 009 N210071569AA COVER…

カバー部(Z軸120<3>)
COVER SECT.(Z-AXIS 120<3>)
2
FN610056792AA_01-3
M29

PART NAME
REMARKS
Q'TY
2
カバー部(Z軸120<3>)
COVER SECT.(Z-AXIS 120<3>)
イラスト
No.
REF
No.
PART No.
部 品 品 番 個数 備 考
R
1
R
2
S
1001 N210071357AC
SIDE COVER(RIGHT) サイト
゙カバー(RIGHT)
1
009 N210071569AA
COVER カバー
1
017 N210071571AA
COVER カバー
1026 N210071315AA
COVER カバー
1036 1087102342
BRACKET(R) ブ
ラケット(R)
1
040 3086239031
LABEL ラベル
XW1E-BV402MFR-TK2377 S
1
N002
N510011524AA
SWITCH スイッチ
#5104A 10mm
1
N003
N986N051-489
ADHESIVE TAPE ネンチャクテーフ
゚
D4NS-1BF S
1
N004
N510015338AA
SWITCH スイッチ
ST13.5
1
N005
KXF06F4AA00
JOINT ジョイント
TM-257-4(6214)
1
N006
N982TM6214
ADJUSTING BOLT アジャストボルト
C-158-3
1
N009
N980C1583
MAGNETIC CATCH マク
゙ネットキャッチ
APN122DNS-TK2310
1
N010
KXFP6GAGA00
LAMP ランプ
BN1206M5X12
6
N018
N986BN12-R26
HEX. SOCKET HEAD CAP BOLT ロッカクアナツキボルト
LW6MB-M1C2MLW
1
N019
N510038384AA
SWITCH スイッチ
M30
FN610056792AA_01-3

カバー部(Z軸120<4>)
COVER SECT.(Z-AXIS 120<4>)
2
FN610056792AA_01-4
M31