AV131部品表(1).pdf - 第153页
PART NA ME REM ARKS Q'TY 16 プリント基板ポ ジショナ部(1) P.C.B. POSI TIONER SECT.(1 ) イラスト No. REF No. PART No. 部 品 品 番 個数 備 考 R 1 R 2 1 N610061375AA POSITIONER U NIT ポシ ゙ショナユニット 1 002 N210066295AA GUIDE ガイド 1 003 N210066…

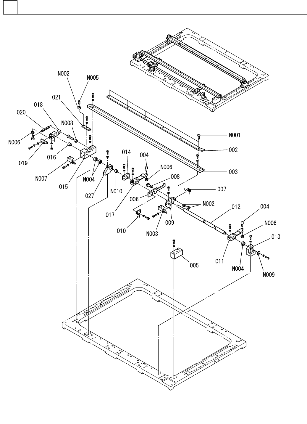
プリント基板ポジショナ部(1)
P.C.B. POSITIONER SECT.(1)
16
FN610061375AA_00-1
M133

PART NAME
REMARKS
Q'TY
16
プリント基板ポジショナ部(1)
P.C.B. POSITIONER SECT.(1)
イラスト
No.
REF
No.
PART No.
部 品 品 番 個数 備 考
R
1
R
2
1 N610061375AA
POSITIONER UNIT ポシ
゙ショナユニット
1
002 N210066295AA
GUIDE ガイド
1
003 N210066184AC
GUIDE ガイド
2004 1087188201
PIN ピン
1005 1087114005
BLOCK(R) ブ
ロック(R)
1
006 1041314011
LEVER レバー
1
007 102030401203
SPRING バネ
1008 102030401301
PIN ヒ
゚ン
1009 108711400901
BLOCK フ
゙ロック
1
010 108711401001
DOG FOR SENSOR ドグ
D=5.0
1011 102030401601
LEVER レバー
1012 108711401202
SHAFT シャフト
1
013 N210068279AB
BLOCK ブロック
C=5.0
1
014 102030402604
BLOCK ブロック
1015 108711401502
BLOCK(L) ブロック(L)
1016 108711401601
COLLAR カラー
D=5.0
1
017 102030403402
LEVER レバー
1
018 108711401803
LEVER レバー
1019 108711401902
DOG FOR SENSOR ドグ
1020 1087114020
SPRING ハ
゙ネ
1
021 108711402102
PLATE プレート
1
027 1087114027
BLOCK ブロック
M3X5-4.8 A2J (Trivalen
6
N001
N510018251AA
TRUSS HEAD SCREW トラスコネシ
゙
M4-6H-4T A2J (Trivalen
3
N002
N510017859AA
HEXAGON NUT ロッカクナット
P914SA1
1
N003
N310P914SA1
SENSOR センサ
6800ZZ
3
N004
KXF00M6AA00
BALL BEARING ボールベアリング
M4X10-45H A2J (Trivale
1
N005
N510018427AA
HEX. SOCKET SET SCREW ロッカクアナンツキトメネシ
゙
M3-6H-4T A2J (Trivalen
3
N006
N510017852AA
HEXAGON NUT ロッカクナット
P914S1
1
N007
N310P914S1
SENSOR センサ
M5-6H-4T A2J (Trivalen
1
N008
N510017865AA
HEXAGON NUT ロッカクナット
87FWSSB-D12.0-V5.0-T2.
1
N009
N510028918AA
WASHER ワッシャ
K5B1512
1
N010
N510022574AA
BUSHING ブッシュ
M134
FN610061375AA_00-1

プリント基板ポジショナ部(2)
P.C.B. POSITIONER SECT.(2)
16
FN610061375AA_00-2
M135