AV131部品表(1).pdf - 第209页
PART NA ME REM ARKS Q'TY 21 カバー部(Z軸 カバー部) COVER SECT. (Z-AXIS COVER SECT.) イラスト No. REF No. PART No. 部 品 品 番 個数 備 考 R 1 R 2 1 1087102450 COVER UNIT カハ ゙ーユニット 1 451 1087102451 COVER (L) カバー (L) M4X8,+,STEEL,Z.C.T …

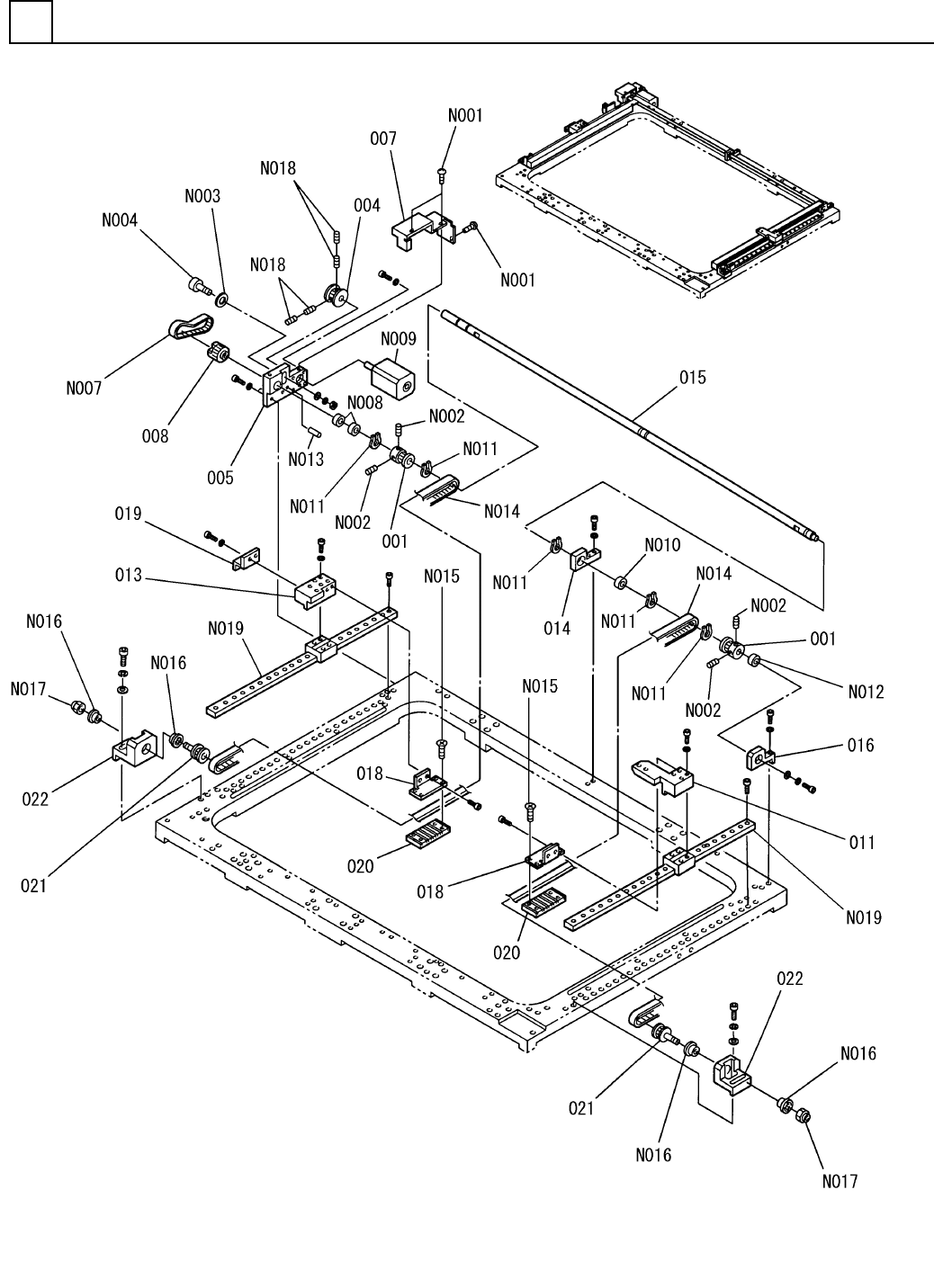
カバー部(Z軸カバー部)
COVER SECT.(Z-AXIS COVER SECT.)
21
F10871-02-450
M189

PART NAME
REMARKS
Q'TY
21
カバー部(Z軸カバー部)
COVER SECT.(Z-AXIS COVER SECT.)
イラスト
No.
REF
No.
PART No.
部 品 品 番 個数 備 考
R
1
R
2
1 1087102450
COVER UNIT カハ
゙ーユニット
1
451 1087102451
COVER (L) カバー (L)
M4X8,+,STEEL,Z.C.T
3
N 1 XST4+8FY
TRUSS HEAD SCREW トラスコネジ
4,B-TYPE,STEEL,Z.C.T
3N 2 XWC4BFY
TOOTHED LOCK WASHER ハツキザガネ
M5X10,+,STEEL,Z.C.T
1N 3 XST5+10FY
TRUSS HEAD SCREW トラスコネシ
゙
5,B-TYPE,STEEL,Z.C.T
1
N 4 XWC5BFY
TOOTHED LOCK WASHER ハツキザガネ
M190
F10871-02-450

X-Yテーブル部(自動幅寄せ部1)
X-Y TABLE SECT.(AUTO WIDTH CONTROL SECT.-1)
22
FN610055726AA_00-1
M191