AV131部品表(1).pdf - 第150页
プリント基板搬 送部(2) P.C.B. TRAN SFER SECT.(2) 15 FN610060945AA _01-2 M131

PART NAME
REMARKS
Q'TY
15
プリント基板搬送部(1)
P.C.B. TRANSFER SECT.(1)
イラスト
No.
REF
No.
PART No.
部 品 品 番 個数 備 考
R
1
R
2
1 N610060945AA
P.C. BOARD TRANSFER UNIT プリントキハ
゙ンハンソウユニット
1
001 1022406534
PULLEY(TIMING) プーリー(タイミング)
1
002 104140600201
PIN ピン
1003 N210072140AA
SHAFT シャフト
1004 104140600401
COLLAR カラー
1
005 104140602501
PLATE プレート
1
012 1046906012
PLATE プレート
1015 N210081327AA
BRACKET フ
゙ラケット
1018 N210080167AA
PLATE フ
゚レート
1
020 N210066239AA
SPACER スペーサ
CDQ2B20-20DC-A73
1
N001
N401CDQ2-418
CYLINDER シリンダ
FUN-008-SS
1
N002
N510022896AA
NUT ナット
698ZZ
2
N003
XLC698ZZ
BALL BEARING ボールベアリング
RB0806
1
N004
KXF08N7AA00
SHOCK-ABSORBER ショックアブソーバー
P914S1
3
N006
N310P914S1
SENSOR センサ
6902ZZ
1
N010
XLC6902ZZ
BALL BEARING ボールヘ
゙アリング
M5X60-10.9 A2J (Trival
1
N011
N510017413AA
HEX. SOCKET HEAD CAP BOLT ロッカクアナツキボルト
M5X20-45H A2J (Trivale
1
N013
N510022987AA
HEX. SOCKET SET SCREW ロッカクアナツキトメネジ
M5-6H-4T A2J (Trivalen
1
N014
N510017862AA
NUT ナット
KQ2H06-M5
2
N015
KXF0A3QAA00
FITTING ツキ
゙テ
R4X0.5
2
N016
KXF089MAA00
RING リング
2350-EV5GT-15
1
N017
N510027678AA
BELT ベルト
D-A73
1V 1 N401DA73
SENSOR センサ
M130
FN610060945AA_01-1

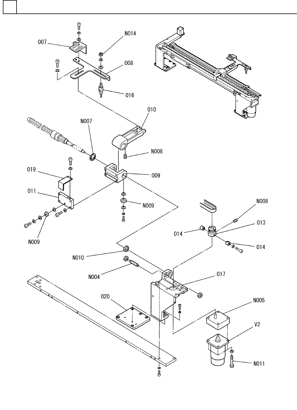
プリント基板搬送部(2)
P.C.B. TRANSFER SECT.(2)
15
FN610060945AA_01-2
M131

PART NAME
REMARKS
Q'TY
15
プリント基板搬送部(2)
P.C.B. TRANSFER SECT.(2)
イラスト
No.
REF
No.
PART No.
部 品 品 番 個数 備 考
R
1
R
2
1007 104690600701
BRACKET フ
゙ラケット
1
008 1087106008
BRACKET ブラケット
1
009 104140601002
BLOCK ブロック
1010 104140601101
LEVER レバー
1011 1046906011
RACK ラック
1
013 1041406014
PULLEY(TIMING) プーリー(タイミング)
1
014 199950300101
COTTER コッタ
D=3.60-D=4.0
1016 1010244015
PIN ヒ
゚ン
1017 108710601702
BRACKET フ
゙ラケット
1
019 N210080168AA
DOG FOR SENSOR ドグ
1020 N210066239AA
SPACER スペーサ
RB0806
1
N004
KXF08N7AA00
SHOCK-ABSORBER ショックアフ
゙ソーバー
M8GB3B22
1
N005
M8GB3B22
GEAR HEAD ギヤーヘッド
35,STEEL,P.C
1
N007
XUA35FP
RETAINING RING C-TYPE, CORE C ガタアナヨウトメワ
M4X10-45H A2J (Trivale
2
N008
N510018427AA
HEX. SOCKET SET SCREW ロッカクアナンツキトメネジ
696ZZ
2
N009
XLC696ZZ
BALL BEARING ボールヘ
゙アリング
6902ZZ
1
N010
XLC6902ZZ
BALL BEARING ボールベアリング
M5X60-10.9 A2J (Trival
4
N011
N510017413AA
HEX. SOCKET HEAD CAP BOLT ロッカクアナツキボルト
M5-6H-4T A2J (Trivalen
1
N014
N510017862AA
NUT ナット
M8MA40GB4Y1 S
1V 2 308380600102
MOTOR モータ
M132
FN610060945AA_01-2