AV131部品表(1).pdf - 第61页
PART NA ME REM ARKS Q'TY 2 カバー部(Z軸 60<1>) COVER SECT. (Z-AXIS 60<1>) イラスト No. REF No. PART No. 部 品 品 番 個数 備 考 R 1 R 2 1 N610060957AA COVER UNIT カハ ゙ー ユニット S 1 023 108710233403 BRACKET ブラケット 4 028 10871…

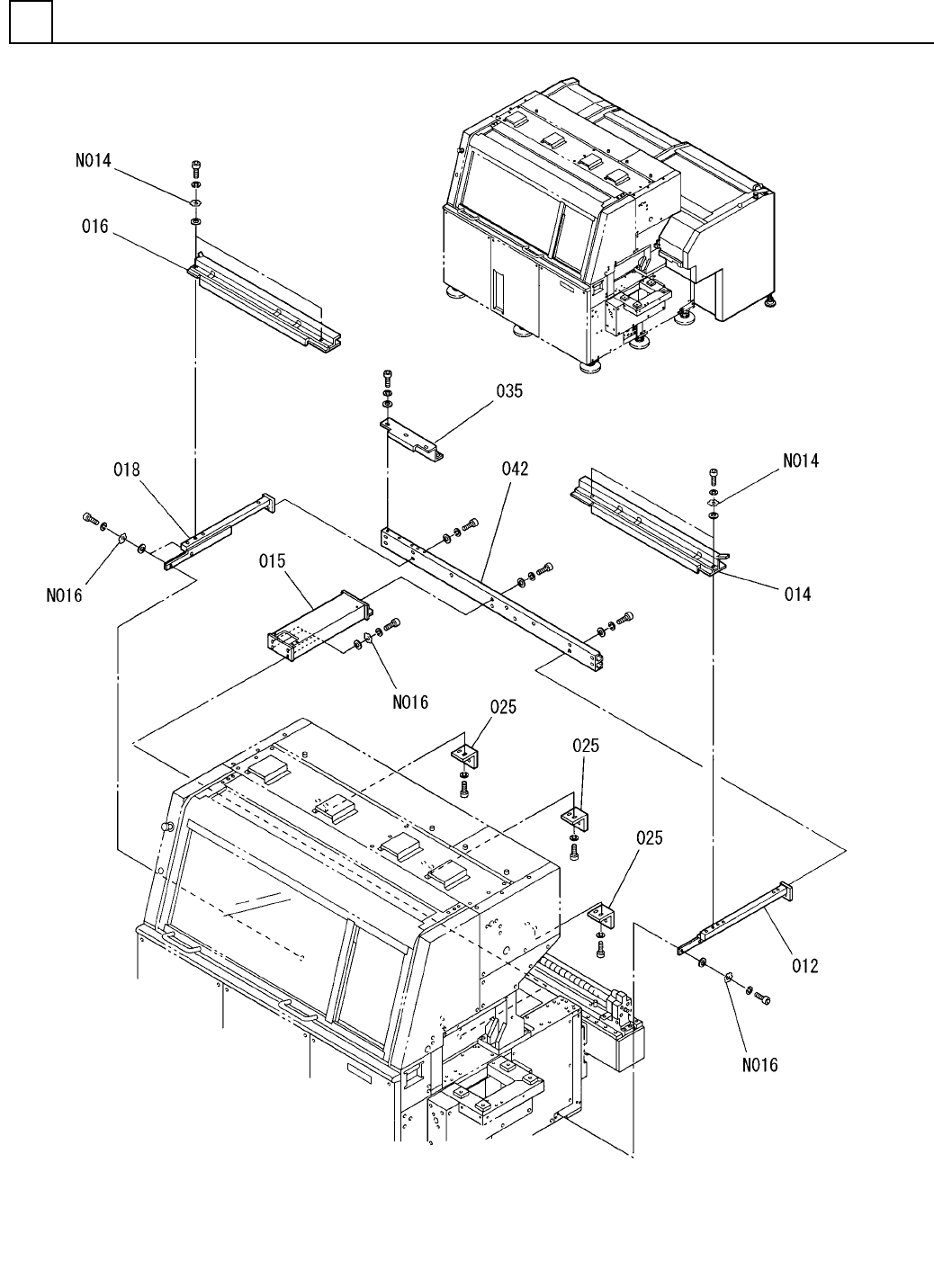
カバー部(Z軸60<1>)
COVER SECT.(Z-AXIS 60<1>)
2
FN610060957AA_01_A-1
M41

PART NAME
REMARKS
Q'TY
2
カバー部(Z軸60<1>)
COVER SECT.(Z-AXIS 60<1>)
イラスト
No.
REF
No.
PART No.
部 品 品 番 個数 備 考
R
1
R
2
1 N610060957AA
COVER UNIT カハ
゙ー ユニット
S
1
023 108710233403
BRACKET ブラケット
4
028 108710233901
PLATE プレート
2029 N210071584AA
PLATE プレート
2030 N210071585AA
BLOCK フ
゙ロック
1
041 N210099747AA
RAIL レール
D4NS-1BF S
1
N007
N510015338AA
SWITCH スイッチ
ST13.5
1
N009
KXF06F4AA00
JOINT シ
゙ョイント
C-30-SG-9A-WHITE
4
N012
KXF08LYAA00
GROMMET ク
゙ロメット
M42
FN610060957AA_01_A-1

カバー部(Z軸60<2>)
COVER SECT.(Z-AXIS 60<2>)
2
FN610060957AA_01_A-2
M43