AV131部品表(1).pdf - 第57页
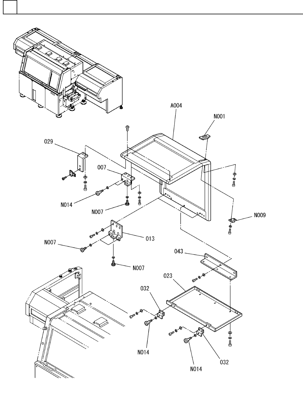
PART NA ME REM ARKS Q'TY 2 カバー部( Z軸120<7>) COVER SECT. (Z-AXIS 120<7> ) イラスト No. REF No. PART No. 部 品 品 番 個数 備 考 R 1 R 2 2 007 N210071337AA BRACKET フ ゙ラケット 2 013 N210071339AB BRACKET ブラケット 1 023 108710…

カバー部(Z軸120<7>)
COVER SECT.(Z-AXIS 120<7>)
2
FN610056792AA_01-7
M37

PART NAME
REMARKS
Q'TY
2
カバー部(Z軸120<7>)
COVER SECT.(Z-AXIS 120<7>)
イラスト
No.
REF
No.
PART No.
部 品 品 番 個数 備 考
R
1
R
2
2007 N210071337AA
BRACKET フ
゙ラケット
2
013 N210071339AB
BRACKET ブラケット
1
023 108710232901
COVER(L) カバー(L)
S
1029 N210071372AA
BRACKET ブラケット
2032 1046931347
BRACKET フ
゙ラケット
1
043 N210071527AA
BRACKET ブラケット
S
1
A004
N610061394AA
LEFT DOOR ドア(LEFT)
A-174-1
1
N001
N980A1741
DRAWER PULL トッテ
22RF602C-1
8
N007
N50022RF-016
BEARING ベ
アリング
C-158-3
1
N009
N980C1583
MAGNETIC CATCH マグネットキャッチ
22RF603C-1
6
N014
N50022RF-017
BEARING ベアリング
M38
FN610056792AA_01-7

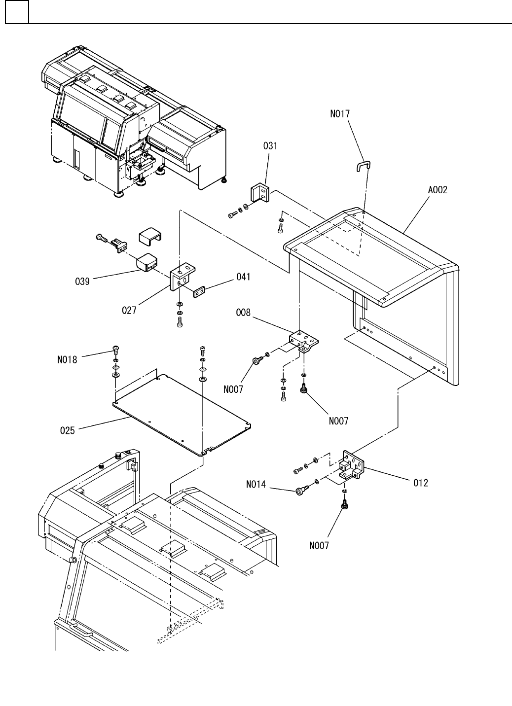
カバー部(Z軸120<8>)
COVER SECT.(Z-AXIS 120<8>)
2
FN610056792AA_01-8
M39