AV131部品表(1).pdf - 第197页
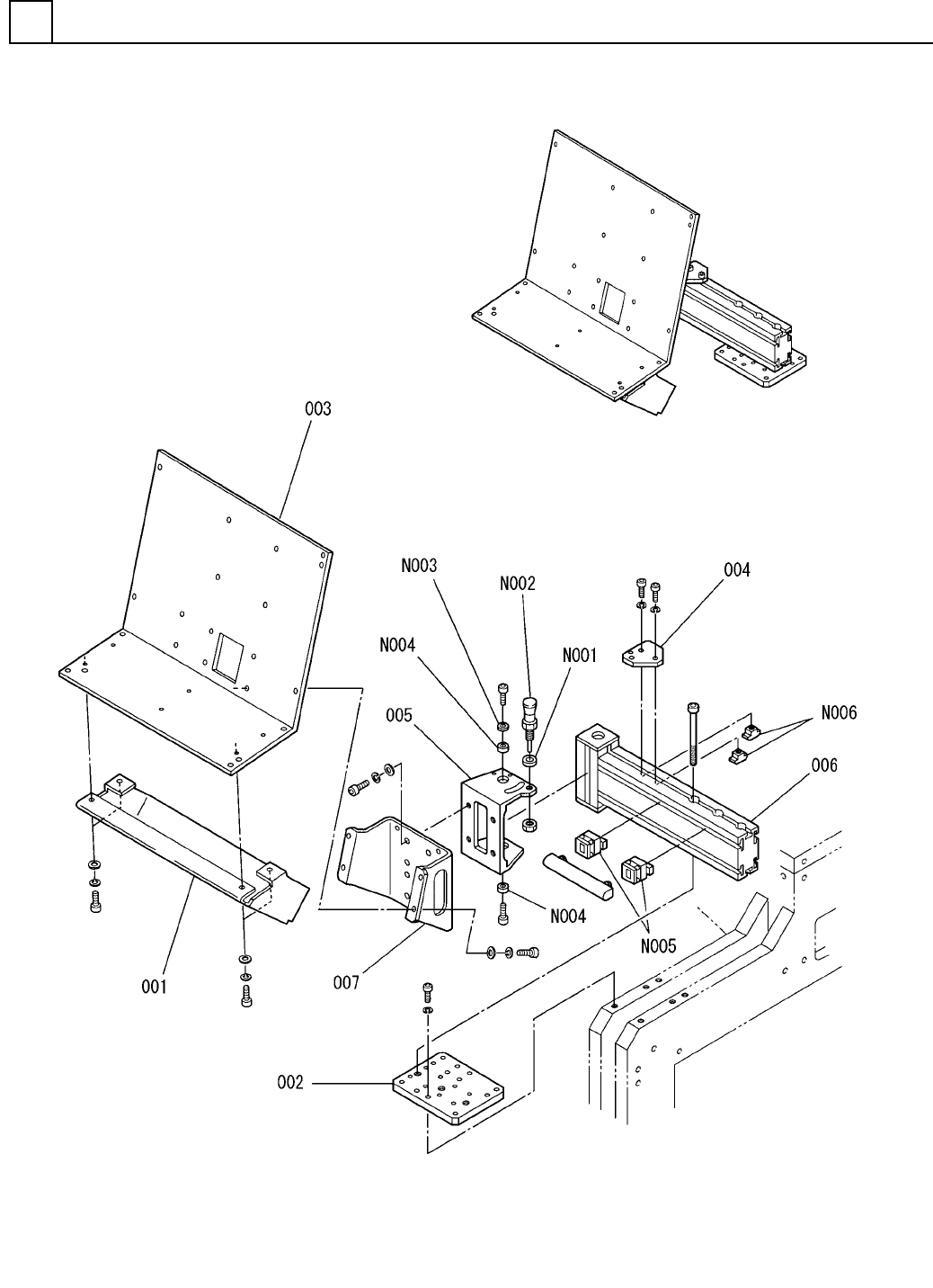
PART NA ME REM ARKS Q'TY 20 メインコンソールパネ ル取付部 MAIN CONSOL E PANEL ATTACH MENT SECT. イラスト No. REF No. PART No. 部 品 品 番 個数 備 考 R 1 R 2 1 N610066189AA PANEL ATTACH MENT UNIT パネルトリツケユニット 1 001 N210071661AB UNDER COVER ア…

メインコンソールパネル取付部
MAIN CONSOLE PANEL ATTACHMENT SECT.
20
FN610066189AA_02
M177

PART NAME
REMARKS
Q'TY
20
メインコンソールパネル取付部
MAIN CONSOLE PANEL ATTACHMENT SECT.
イラスト
No.
REF
No.
PART No.
部 品 品 番 個数 備 考
R
1
R
2
1 N610066189AA
PANEL ATTACHMENT UNIT パネルトリツケユニット
1
001 N210071661AB
UNDER COVER アンダーカバー
1
002 N210078856AA
SUPPORT PLATE サポートプレート
1003 N210071662AD
PLATE プレート
1004 N210089344AA
PLATE フ
゚レート
1
005 N210088860AC
BRACKET ブラケット
1
006 N610075857AB
FRAME フレーム
1007 N210085321AB
BRACKET フ
゙ラケット
PXC-10X12X6
1
N001
N510036715AA
COLLAR カラ
-
PXXS-5-A
1
N002
N510036373AA
PLUNGER プランジャ
87CBBF4-8
1
N003
N510036716AA
SPACER スペーサ
87FNCLCH-V12.0-D16.0-L
2
N004
N510036575AA
COLLAR カラ
-
3 842 526 564
2
N005
N510038683AA
BRACKET ブラケット
3 842 529 298
2
N006
N510038681AA
BLOCK ブロック
M178
FN610066189AA_02

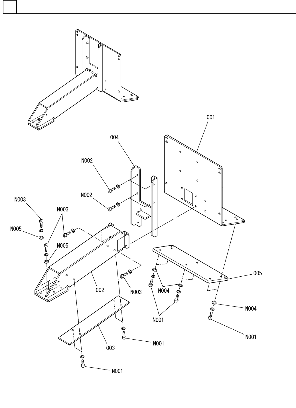
リアコンソールパネル取付部(120)
REAR CONSOLE PANEL ATTACHMENT SECT.(120)
20
FN610060942AA_01
M179