AV131部品表(1).pdf - 第43页
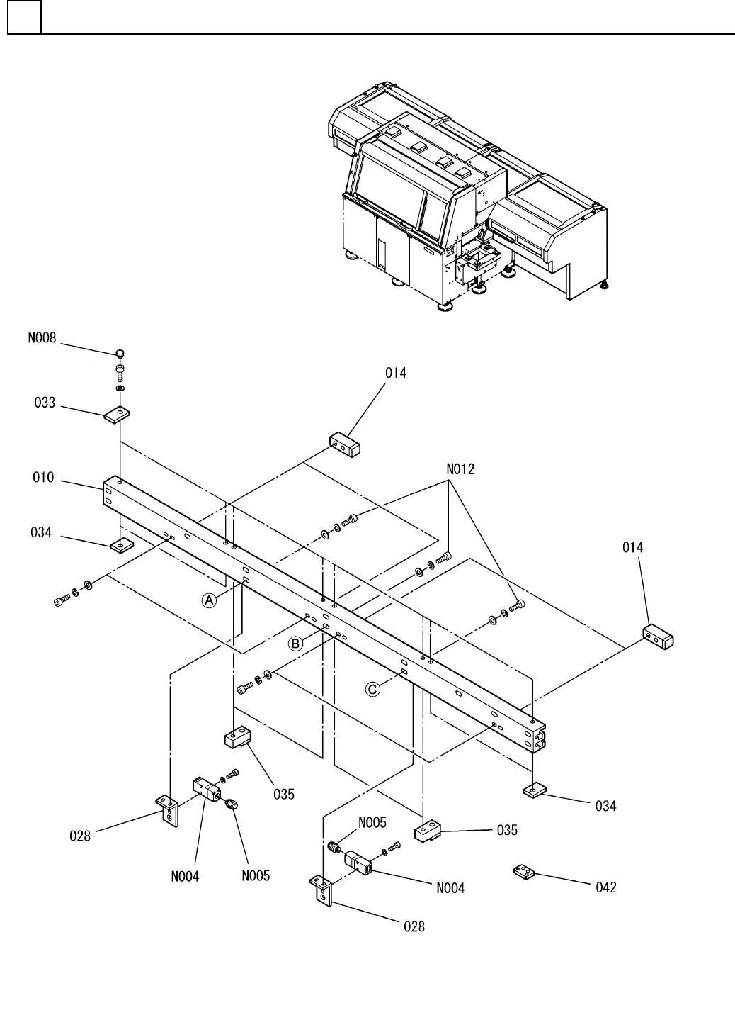
PART NA ME REM ARKS Q'TY 2 カバー部( 3) COVER SECT. (3) イラスト No. REF No. PART No. 部 品 品 番 個数 備 考 R 1 R 2 1 009 108710202301 REAR COVER カハ ゙ー(REAR) 1 011 N210075807AC COVER カバー 1 012 N210071553AB COVER カバー 1 013 10871…

カバー部(3)
COVER SECT.(3)
2
FN610070384AA_01-3
M23

PART NAME
REMARKS
Q'TY
2
カバー部(3)
COVER SECT.(3)
イラスト
No.
REF
No.
PART No.
部 品 品 番 個数 備 考
R
1
R
2
1009 108710202301
REAR COVER カハ
゙ー(REAR)
1
011 N210075807AC
COVER カバー
1
012 N210071553AB
COVER カバー
1013 108710202901
REAR COVER カバー(REAR)
1014 108710203001
REAR COVER カハ
゙ー(REAR)
1
019 N210071559AB
COVER カバー
1
025 N210075686AB
BRACKET ブラケット
LW6MB-M1C2MLG S
1
N009
N510029028AA
SWITCH スイッチ
TM-2-8221/EZ/S-N S
1
N010
N306TM28-008
SWITCH スイッチ
M24
FN610070384AA_01-3

カバー部(Z軸120<1>)
COVER SECT.(Z-AXIS 120<1>)
2
FN610056792AA_01-1
M25