AV131部品表(1).pdf - 第170页
部品供給部( 60連3 ) FEEDER CARR IAGE SECT.(60 FEEDERS-3) 18 FN610064468AA _01-3 M151

PART NAME
REMARKS
Q'TY
18
部品供給部(60連2)
FEEDER CARRIAGE SECT.(60 FEEDERS-2)
イラスト
No.
REF
No.
PART No.
部 品 品 番 個数 備 考
R
1
R
2
1016 N210071612AA
BRACKET フ
゙ラケット
4
017 104690703104
BRACKET ブラケット
1
022 N210081324AA
DOG FOR SENSOR ドグ
1024 108710703602
DOG FOR SENSOR ドグ
1026 1087107129
BRACKET フ
゙ラケット
1
027 N210071458AA
BRACKET ブラケット
1
028 108710704301
BRACKET ブラケット
1029 N210066178AA
BRACKET フ
゙ラケット
1030 N210066179AA
BRACKET フ
゙ラケット
1
A032
N610051260AC
PLATE プレート
250-03-055-0-32-2030.1
1
N009
N9862500-T61
FLEXIBLE DUCT フレキシブルダクト
5X20,m6A,STEEL
2
N011
XPJ5A20FW
PARALLEL PIN ヘイコウヒ
゚ン
M6X12-10.9 A2J (Trival
4
N016
N510017645AA
BOLT ボルト
M150
FN610064468AA_01-2

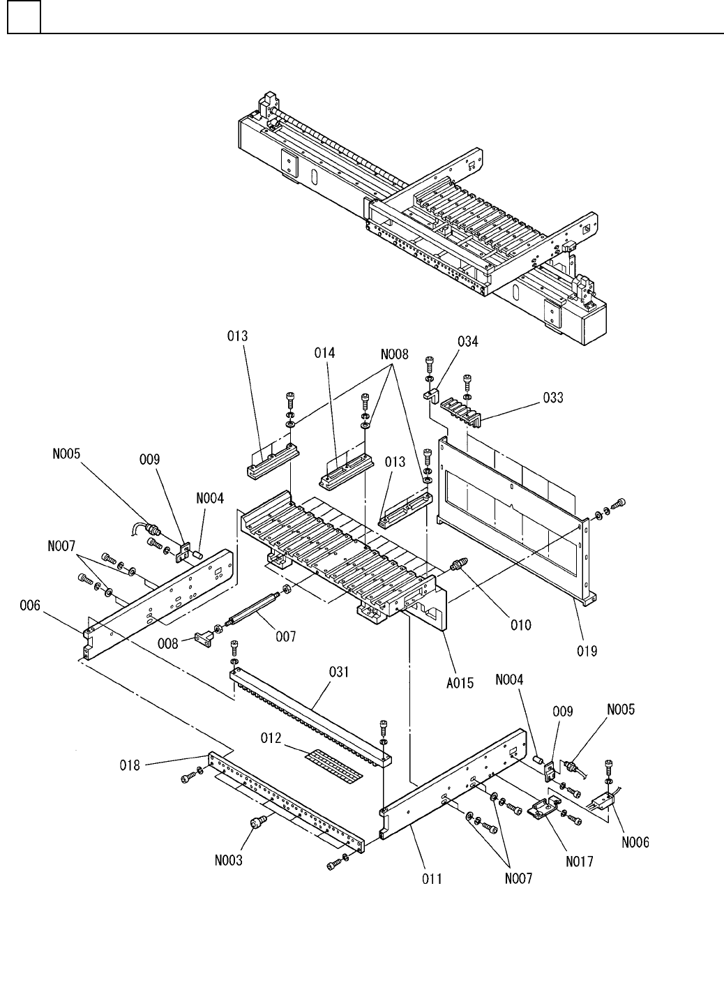
部品供給部(60連3)
FEEDER CARRIAGE SECT.(60 FEEDERS-3)
18
FN610064468AA_01-3
M151

PART NAME
REMARKS
Q'TY
18
部品供給部(60連3)
FEEDER CARRIAGE SECT.(60 FEEDERS-3)
イラスト
No.
REF
No.
PART No.
部 品 品 番 個数 備 考
R
1
R
2
1006 N210081320AA
BRACKET フ
゙ラケット
3
007 102070708701
ROD ロッド
3
008 104690701001
BRACKET ブラケット
2009 1046907012
PLATE プレート
15010 1083807012
PIN ヒ
゚ン
1
011 N210081321AA
BRACKET ブラケット
1
012 1020707084
LABEL ラベル
2013 102070710101
RAIL(GUIDE) レール
(ガイド)
14014 102070710001
RAIL(GUIDE) レール
(ガイド)
1
018 104690703201
PLATE プレート
1019 104690703405
BRACKET ブラケット
1031 1046907055
BLOCK フ
゙ロック
5
033 1046907060
GUIDE ガイド
1
034 1046907061
BRACKET ブラケット
1
A015
N610065486AC
RIGHT FRAME フレーム(RIGHT)
CF4-A
6
N003
N531CF4A
CAM FOLLOWER カムフォロア
E39-F1
1
N004
N310E39F1
LENS UNIT レンズユニット
E32-TC200
1
N005
N310E32TC200
SENSOR センサ
E3X-NA11
1
N006
N310E3XNA11
AMPLIFIER アンプ
8 10H A2J (Trivalent)
8
N007
N510018482AA
ROUND PLAIN WASHER コガタマルヒラサ
゙ガネ
5,STEEL,Z.C.T
48
N008
N510018480AA
ROUND PLAIN WASHER コガタマルヒラザガネ
E39-L143
1
N017
KXF0E0BBA00
BRACKET トリツケカナグ
M152
FN610064468AA_01-3