AV131部品表(1).pdf - 第168页
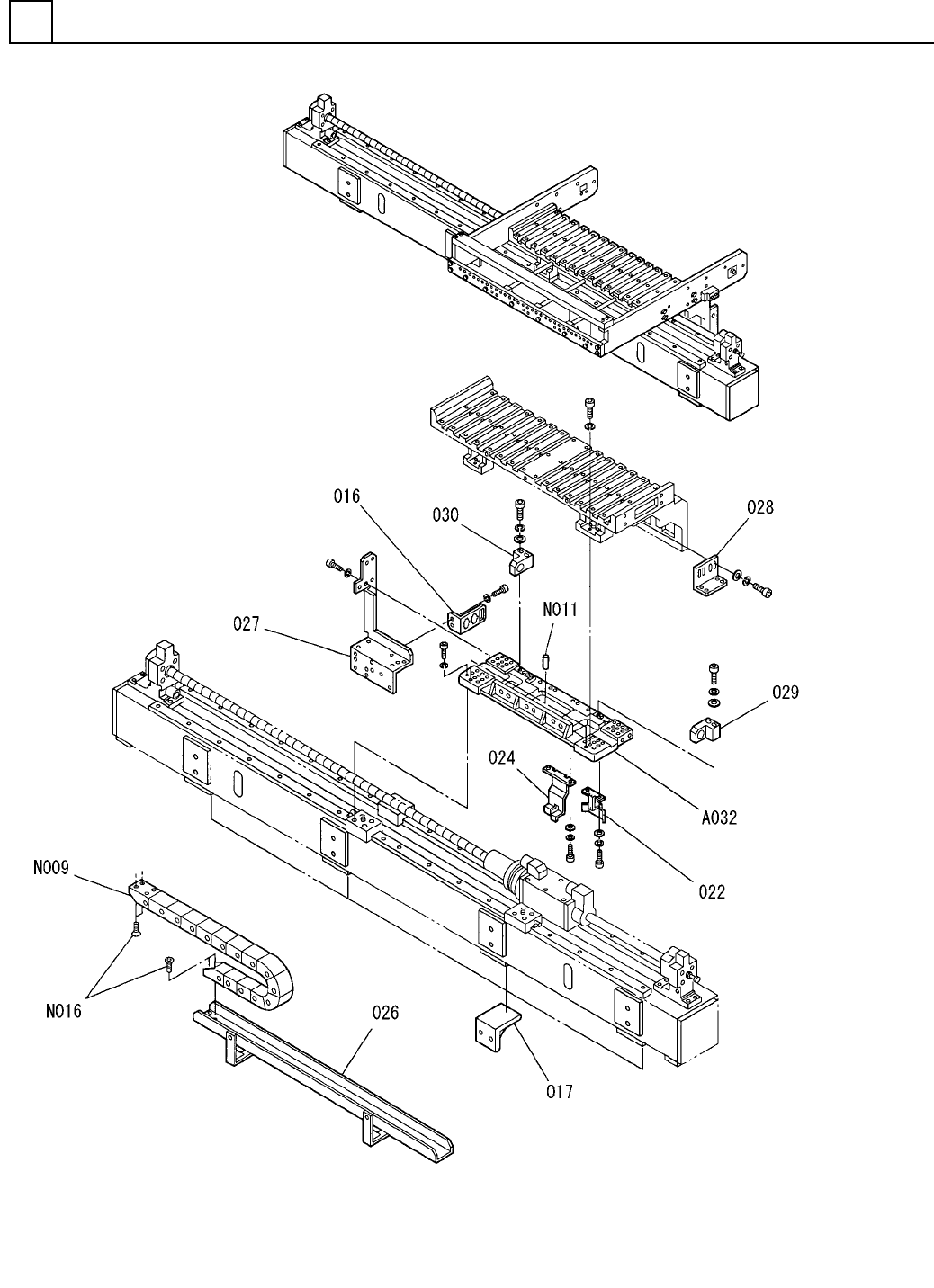
部品供給部( 60連2 ) FEEDER CARR IAGE SECT.(60 FEEDERS-2) 18 FN610064468AA _01-2 M149

PART NAME
REMARKS
Q'TY
18
部品供給部(60連1)
FEEDER CARRIAGE SECT.(60 FEEDERS-1)
イラスト
No.
REF
No.
PART No.
部 品 品 番 個数 備 考
R
1
R
2
1 N610064468AA
FEEDER CARRIAGE UNIT ブヒンキョウキュウユニット
2
002 1087107104
LINEAR MOTION UNIT リニアモーションユニット
1
003 104690700501
BRACKET ブラケット
2004 1046907006
HOLDER ホルダ
1005 1087107107
BALL SCREW ボ
ールネジ
2
020 N210081318AB
PLATE(SENSOR) プレート(センサ)
1
021 108710703001
PLATE プレート
1023 108710703503
PLATE フ
゚レート
2025 1046907046
STOPPER ストッハ
゚ー
1
035 1087107140
BRACKET ブラケット
1
A001
N610079231AA
CROSS BEAM クロスビーム
(MGM322S2S) S
1
A010
N610052031AA
MOTOR モータ
M10X90-12.9 SCHP
1
N001
N510004048AA
HEX. SOCKET HEAD CAP BOLT ロッカクアナツキボルト
SCE201-40X62
2
N002
N645SCE2-022
COUPLING カップリング
LS-11S/RL S
3
N012
N510030839AA
SWITCH スイッチ
V-M20
3
N013
KXF0DG3AA00
CABLE ケーフ
゙ル
PANADAC921SA1
2
N014
N310P921SA1
SENSOR センサ
P921S1
1
N015
N310P921S1
SENSOR センサ
M148
FN610064468AA_01-1

部品供給部(60連2)
FEEDER CARRIAGE SECT.(60 FEEDERS-2)
18
FN610064468AA_01-2
M149

PART NAME
REMARKS
Q'TY
18
部品供給部(60連2)
FEEDER CARRIAGE SECT.(60 FEEDERS-2)
イラスト
No.
REF
No.
PART No.
部 品 品 番 個数 備 考
R
1
R
2
1016 N210071612AA
BRACKET フ
゙ラケット
4
017 104690703104
BRACKET ブラケット
1
022 N210081324AA
DOG FOR SENSOR ドグ
1024 108710703602
DOG FOR SENSOR ドグ
1026 1087107129
BRACKET フ
゙ラケット
1
027 N210071458AA
BRACKET ブラケット
1
028 108710704301
BRACKET ブラケット
1029 N210066178AA
BRACKET フ
゙ラケット
1030 N210066179AA
BRACKET フ
゙ラケット
1
A032
N610051260AC
PLATE プレート
250-03-055-0-32-2030.1
1
N009
N9862500-T61
FLEXIBLE DUCT フレキシブルダクト
5X20,m6A,STEEL
2
N011
XPJ5A20FW
PARALLEL PIN ヘイコウヒ
゚ン
M6X12-10.9 A2J (Trival
4
N016
N510017645AA
BOLT ボルト
M150
FN610064468AA_01-2