AV131部品表(1).pdf - 第253页
PART NA ME REM ARKS Q'TY 25 カートリッジ部 (サポートブラ ケット) CARTRIDGE S ECT.(SUPPORT B RACKET) イラスト No. REF No. PART No. 部 品 品 番 個数 備 考 R 1 R 2 1 1046930190 CARTRIDGE UN IT カートリッシ ゙ユニット 1 191 1046930191 BRACKET(SUPP ORT) ブ…

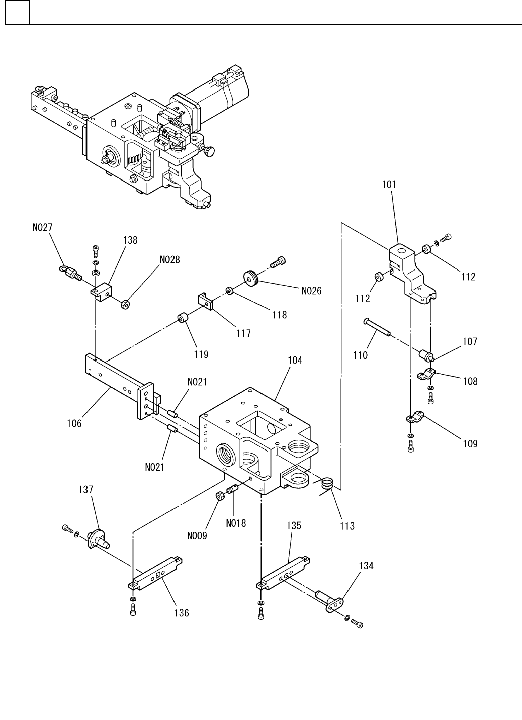
カートリッジ部(サポートブラケット)
CARTRIDGE SECT.(SUPPORT BRACKET)
25
F10469-30-190
M233

PART NAME
REMARKS
Q'TY
25
カートリッジ部(サポートブラケット)
CARTRIDGE SECT.(SUPPORT BRACKET)
イラスト
No.
REF
No.
PART No.
部 品 品 番 個数 備 考
R
1
R
2
1 1046930190
CARTRIDGE UNIT カートリッシ
゙ユニット
1
191 1046930191
BRACKET(SUPPORT) ブラケット(サポート)
M234
F10469-30-190

J.W.ヘッド部(1)
J.W.HEAD SECT.(1)
26
FN610052080AA_00-1
M235