AV131部品表(1).pdf - 第140页
スクラップダクト 部(1) SCRAP DUCT SECT.(1) 14 FN610066188AA _01-1 M121

PART NAME
REMARKS
Q'TY
13
スポットライト表示部
SPOT LIGHT INDICATOR SECT.
イラスト
No.
REF
No.
PART No.
部 品 品 番 個数 備 考
R
1
R
2
1 N610060948AA
SPOT LIGHT UNIT スポ
ットライトユニット
1
101 N210073871AA
BRACKET ブラケット
E3Z-L61
1
N001
N510028837AA
SENSOR センサ
M120
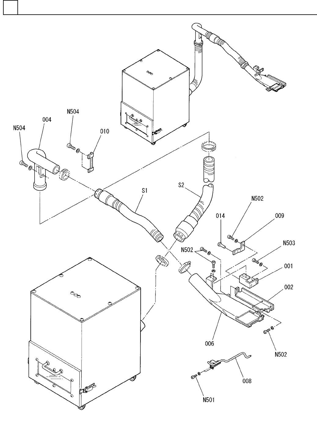
FN610060948AA_00

スクラップダクト部(1)
SCRAP DUCT SECT.(1)
14
FN610066188AA_01-1
M121

PART NAME
REMARKS
Q'TY
14
スクラップダクト部(1)
SCRAP DUCT SECT.(1)
イラスト
No.
REF
No.
PART No.
部 品 品 番 個数 備 考
R
1
R
2
1 N610066188AA
SCRAP DUCT UNIT スクラッフ
゚ダクトユニット
1
001 1041325015
BRACKET ブラケット
1
002 N210070636AA
BRACKET ブラケット
1004 N210084545AA
DUCT ダクト
1006 108382500601
DUCT タ
゙クト
1
008 1083825008
PIPE パイプ
1
009 104132501801
PLATE プレート
1010 N210084546AA
BRACKET フ
゙ラケット
1014 N210064347AA
PIN ヒ
゚ン
M3X8-10.9 A2J (Trivale
2
N501
N510017341AA
HEX. SOCKET HEAD CAP BOLT ロッカクアナツキボルト
M4X8-10.9 A2J (Trivale
7
N502
N510017381AA
HEX. SOCKET HEAD CAP BOLT ロッカクアナツキボルト
M4X10-10.9 A2J (Trival
2
N503
N510017344AA
HEX. SOCKET HEAD CAP BOLT ロッカクアナツキホ
゙ルト
M5X10-10.9 A2J (Trival
4
N504
N510017386AA
HEX. SOCKET HEAD CAP BOLT ロッカクアナツキボルト
1
S 1 10413S0007AA
HOSE SET ホースセット
1S 2 10413S0008AA
HOSE SET ホースセット
M122
FN610066188AA_01-1