AV131部品表(1).pdf - 第28页
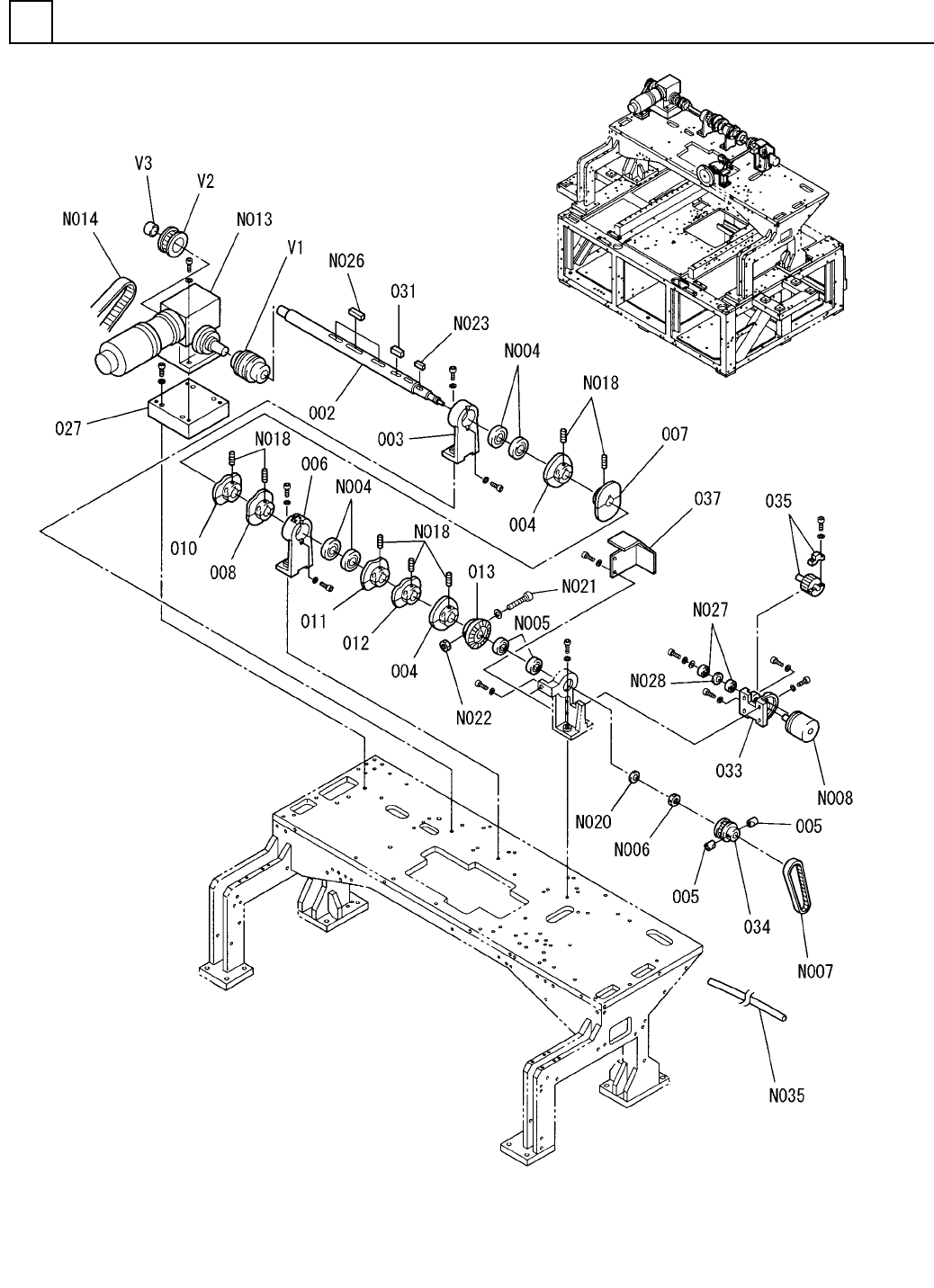
本体部(上部 駆動部2 ) MAIN BODY S ECT.(UPPER DRI VING SECT.-2) 1 FN610070580AA _02-2 M9

PART NAME
REMARKS
Q'TY
1
本体部(上部駆動部1)
MAIN BODY SECT.(UPPER DRIVING SECT.-1)
イラスト
No.
REF
No.
PART No.
部 品 品 番 個数 備 考
R
1
R
2
1 N610070580AA
UPPER DRIVING UNIT アッパ
ードライビングユニット
1
001 1010422054
COTTER コッタ
2
018 104130103101
PULLEY プーリー
2019 102460801001
COLLAR カラー
1020 104130103402
PIN ヒ
゚ン
1
021 102070101302
BRACKET ブラケット
1
022 104130103902
PIN ピン
1023 N210065755AA
BRACKET フ
゙ラケット
1024 1041301041
PULLEY フ
゚ーリー
1
025 104130104203
SHAFT シャフト
1026 104130105201
COLLAR カラー
1030 N210065756AA
BRACKET フ
゙ラケット
1
036 108710106802
SPACER スペーサ
SFS-10G-T083MM
1
N001
N644SFS1-062
COUPLING カップリング
M6X10-45H A2J (Trivale
1
N002
N510018447AA
HEX. SOCKET SET SCREW ロッカクアナツキトメネジ
6206ZZ
4
N003
XLC6206ZZ
BALL BEARING ボールヘ
゙アリング
6904ZZ
4
N015
XLC6904ZZ
BALL BEARING ボールベアリング
M6X60-10.9 A2J (Trival
1
N016
N510022585AA
HEX. SOCKET HEAD CAP BOLT ロッカクアナツキボルト
8X7X63,STEEL,PARALLEL,
1
N017
XPA8K7F63
SUNK KEY シズミキー
87SRW20
2
N025
N510031888AA
WASHER ザ
ガネ
M8
FN610070580AA_02-1

本体部(上部駆動部2)
MAIN BODY SECT.(UPPER DRIVING SECT.-2)
1
FN610070580AA_02-2
M9

PART NAME
REMARKS
Q'TY
1
本体部(上部駆動部2)
MAIN BODY SECT.(UPPER DRIVING SECT.-2)
イラスト
No.
REF
No.
PART No.
部 品 品 番 個数 備 考
R
1
R
2
1002 108710100302
SHAFT シャフト
1
003 108710100401
BRACKET ブラケット
2
004 108710100604
CAM カム
1005 104131201402
COTTER コッタ
1006 108710100802
BRACKET フ
゙ラケット
1
007 108710100904
CAM(PLATE) カム(イタ)
1
008 108710101104
CAM カム
1010 108710101204
CAM カム
1011 108710101405
CAM カム
1
012 108710101505
CAM カム
1013 104130102002
GEAR ギヤー
1027 108710103702
SPACER スヘ
゚ーサ
1
031 1041301080
KEY キー
1
033 108710105901
BRACKET ブラケット
1034 108710106502
PULLEY プーリー
1035 108710106603
PULLEY フ
゚ーリー
1
037 108710106902
COVER カバー
6207ZZ
4
N004
XLC6207ZZ
BALL BEARING ボールベアリング
6304ZZ
2
N005
XLC6304ZZ
BALL BEARING ボールベアリング
FU04SC
1
N006
KXF0237AA00
LOCK-NUT ロックナット
327-3GT-9
1
N007
N6413273GT9
BELT(TIMING) ベルト(タイミング)
E6F-AB5C
1
N008
N510025662AA
ROTARY ENCODER ロータリーエンコーダ
MSW-08-K18-E-C-A4 S
1
N013
N510026191AA
MOTOR モータ
2328-EV8YU-40
1
N014
N510024491AA
BELT ベ
ルト
M8X10-45H A2J (Trivale
7
N018
N510018455AA
SET SCREW ロッカクアナツキトメネジ
20 10H A2J (Trivalent)
1
N020
N510018487AA
WASHER ザガネ
M6X55-10.9 A2J (Trival
1
N021
N510017449AA
HEX. SOCKET HEAD CAP BOLT ロッカクアナツキホ
゙ルト
M-6H-10T A2J (Trivalen
1
N022
N510017870AA
HEXAGON NUT ロッカクナット
6X6X18,PARALLEL,B.S.R
1
N023
XPA6L6F18
SUNK KEY シズミキー
8X7X63,STEEL,PARALLEL,
3
N026
XPA8L7F63
SUNK KEY シズミキー
6900ZZ
2
N027
XLC6900ZZ
BALL BEARING ボールヘ
゙アリング
RB010014005
1
N028
N510033488AA
SHIM シム
1
N035
N510041189AA
HOSE ホース
SFS-10W-30M-35M
1V 1 N644SFS1-130
COUPLING カップリング
GA-MEG-G119
1V 2 N510008678AA
PULLEY フ
゚ーリー
MA-35
1
V 3 N510008839AA
BUSHING ブッシング
M10
FN610070580AA_02-2