AV131部品表(1).pdf - 第25页
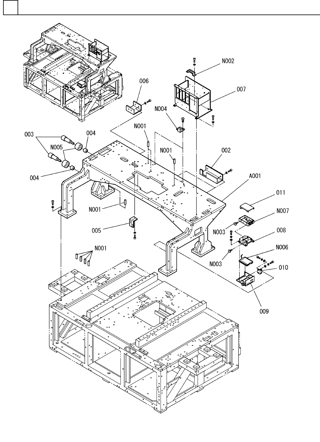
PART NA ME REM ARKS Q'TY 1 本体部(アッパ フレーム部) MAIN BODY S ECT.(UPPER FRA ME SECT.) イラスト No. REF No. PART No. 部 品 品 番 個数 備 考 R 1 R 2 1 N610070581AA UPPER FRAME UNIT アッハ ゚ーフレームユニット 2 002 1087101041 BRACKET ブラケット 2 003 1…

本体部(アッパフレーム部)
MAIN BODY SECT.(UPPER FRAME SECT.)
1
FN610070581AA_02
M5

PART NAME
REMARKS
Q'TY
1
本体部(アッパフレーム部)
MAIN BODY SECT.(UPPER FRAME SECT.)
イラスト
No.
REF
No.
PART No.
部 品 品 番 個数 備 考
R
1
R
2
1 N610070581AA
UPPER FRAME UNIT アッハ
゚ーフレームユニット
2
002 1087101041
BRACKET ブラケット
2
003 104130106102
PIN ピン
2004 104130106201
COLLAR カラー
1005 N210071456AA
BRACKET フ
゙ラケット
1
006 1041301078
BRACKET ブラケット
1
007 N210089118AC
BOX ボックス
1008 N210066040AA
BRACKET フ
゙ラケット
1009 N210090531AB
BRACKET フ
゙ラケット
1
010 N210090533AA
BRACKET ブラケット
1011 N210090534AA
COVER カバー
1
A001
N610049324AC
UPPER FRAME フレーム
(アッパー)
6X25,m6A,STEEL
9
N001
XPJ6A25FW
PARALLEL PIN ヘイコウピン
N510013514AA S
1
N002
N510013514AA
TERMINAL ターミナル
M4X8, STEEL, P.C
8
N003
XYN4+J8FN
PAN HEAD M/C SCREW & W. ザガネクミコミナベコネジ
2
N004
X02G14019
HOLDER(TUBE) ホルタ
゙(チューブ)
VEL-7055
2
N005
N648VFL7055
PULLEY プーリー
YD-8U10 S
1
N006
N510011080AA
FLOPPY DISK DRIVE FDD
YD-8V06 S
1
N007
N510014081AA
CARD READER カードリーダ
M6
FN610070581AA_02

本体部(上部駆動部1)
MAIN BODY SECT.(UPPER DRIVING SECT.-1)
1
FN610070580AA_02-1
M7