AV131部品表(1).pdf - 第251页
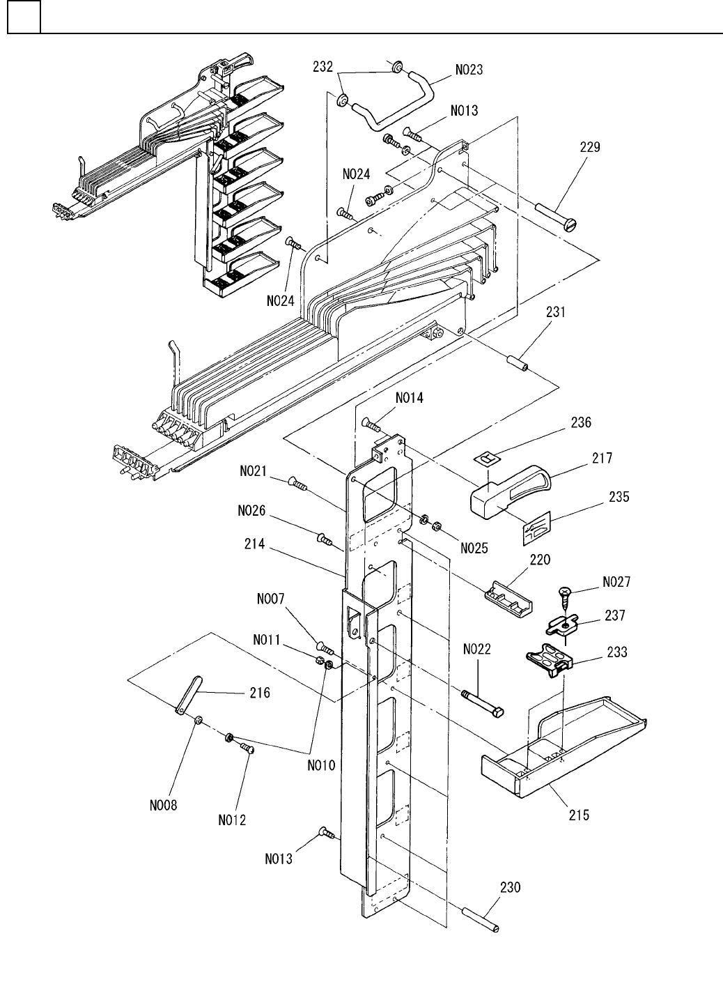
PART NA ME REM ARKS Q'TY 25 カートリッジ部< 52mm,R80 X6> CARTRIDGE S ECT.<52mm,R80X 6> イラスト No. REF No. PART No. 部 品 品 番 個数 備 考 R 1 R 2 1 214 104693021407 PACK STAND パ ックスタンド 6 215 104693013701 BASKET バスケット…

カートリッジ部<52mm,R80X6>
CARTRIDGE SECT.<52mm,R80X6>
25
F10469-30-200-AJ_02-2
M231

PART NAME
REMARKS
Q'TY
25
カートリッジ部<52mm,R80X6>
CARTRIDGE SECT.<52mm,R80X6>
イラスト
No.
REF
No.
PART No.
部 品 品 番 個数 備 考
R
1
R
2
1214 104693021407
PACK STAND パ
ックスタンド
6
215 104693013701
BASKET バスケット
1
216 1046930116
PLATE プレート
1217 102072901701
HANDLE ハンドル
1220 1020730028
PLATE フ
゚レート
2
229 104693012902
TAPE GUIDE テープガイド
1
230 104693013002
TAPE GUIDE テープガイド
1231 1046930131
COLLAR カラー
2232 1046930132
WASHER サ
゙ガネ
12
233 104693013801
PIN ピン
1235 1046930135
LABEL ラベル
1236 1046930236
LABEL ラヘ
゙ル
12
237 1046930139
PLATE プレート
4X25 A2S (Trivalent)
12
N007
N510018756AA
FLUSH HEAD TAPPING SCREW サラタッピンネジ
3382330-30030
1
N008
N510023032AA
SPACER スペーサ
3 10H A2S (Trivalent)
2
N010
N510018495AA
ROUND PLAIN WASHER ミガ
キマルヒラザガネ
M3-6H-4T A2S (Trivalen
1
N011
N510017850AA
HEXAGON NUT ロッカクナット
M3X10-4.8 A2S (Trivale
1
N012
N510018037AA
PAN HEAD SCREW ナベコネジ
M4X8-4.8 A2S (Trivalen
3
N013
N510018181AA
FLUSH HEAD SCREW サラコネジ
5X20 A2S (Trivalent)
2
N014
N510018757AA
FLUSH HEAD TAPPING SCREW サラタッヒ
゚ンネジ
4X10 A2S (Trivalent)
1
N021
N510018753AA
FLUSH HEAD TAPPING SCREW サラタッピンネジ
87CLBGN8-39.0
1
N022
N510023747AA
PIN ピン
THA-32-3878
1
N023
N982THA3878
DRAWER PULL トッテ
M5X10-4.8 A2S (Trivale
2
N024
N510018183AA
FLUSH HEAD SCREW サラコネシ
゙
M4-6H-4T A2J (Trivalen
1
N025
N510017855AA
HEXAGON NUT ロッカクナット
M4X8,+,STEEL,C.P
1
N026
XSS4+8FC
FLUSH HEAD SCREW サラコネジ
3X8 A2S (Trivalent)
12
N027
N510018752AA
FLUSH HEAD TAPPING SCREW サラタッヒ
゚ンネジ
M232
F10469-30-200-AJ_02-2

カートリッジ部(サポートブラケット)
CARTRIDGE SECT.(SUPPORT BRACKET)
25
F10469-30-190
M233