AV131部品表(1).pdf - 第159页
PART NA ME REM ARKS Q'TY 18 部品供給部( 120連1) FEEDER CARR IAGE SECT. (12 0 FEEDERS-1) イラスト No. REF No. PART No. 部 品 品 番 個数 備 考 R 1 R 2 1 N610064467AA FEEDER CARRI AGE UNIT ブヒンキョウキュウユニッ ト 1 001 N610065484AB CROSS BEAM ク…

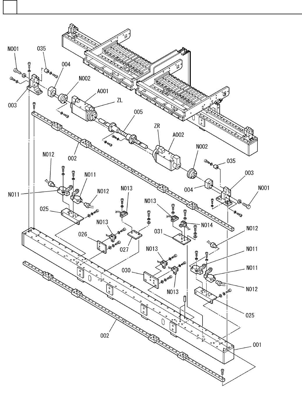
部品供給部(120連1)
FEEDER CARRIAGE SECT. (120 FEEDERS-1)
18
FN610064467AA_01-1
M139

PART NAME
REMARKS
Q'TY
18
部品供給部(120連1)
FEEDER CARRIAGE SECT. (120 FEEDERS-1)
イラスト
No.
REF
No.
PART No.
部 品 品 番 個数 備 考
R
1
R
2
1 N610064467AA
FEEDER CARRIAGE UNIT ブヒンキョウキュウユニット
1
001 N610065484AB
CROSS BEAM クロスビーム
2
002 1087107004
LINEAR MOTION UNIT リニアモーションユニット
2003 104690700501
BRACKET ブラケット
2004 1046907006
HOLDER ホルタ
゙
1
005 102070700301
BALL SCREW ボールネジ
2
025 N210081318AB
PLATE(SENSOR) プレート(センサ)
1026 108710703001
PLATE フ
゚レート
1027 N210081316AA
PLATE(SENSOR) プ
レート(センサ)
1
030 N210081317AA
PLATE(SENSOR) プレート(センサ)
1031 108710703503
PLATE プレート
2035 1046907046
STOPPER ストッハ
゚ー
(MGM322S2S) S
1
A001
N610052031AA
MOTOR モータ
(MGM322S2S) S
1
A002
N610052032AA
MOTOR モータ
M10X90-12.9 SCHP
2
N001
N510004048AA
HEX. SOCKET HEAD CAP BOLT ロッカクアナツキボルト
SCE201-40X62
2
N002
N645SCE2-022
COUPLING カッフ
゚リング
LS-11S/RL S
4
N011
N510030839AA
SWITCH スイッチ
V-M20
4
N012
KXF0DG3AA00
CABLE ケーブル
PANADAC921SA1
6
N013
N310P921SA1
SENSOR センサ
P921S1
2
N014
N310P921S1
SENSOR センサ
M140
FN610064467AA_01-1

部品供給部(120連2)
FEEDER CARRIAGE SECT. (120 FEEDERS-2)
18
FN610064467AA_01-2
M141