AV131部品表(1).pdf - 第248页
カートリッジ部< 52mm,R80X6 > CARTRIDGE S ECT.<52mm,R80X 6> 25 F10469-30-200 -AJ_02-1 M229

PART NAME
REMARKS
Q'TY
25
カートリッジ部<52mm,N80X6>
CARTRIDGE SECT.<52mm,N80X6>
イラスト
No.
REF
No.
PART No.
部 品 品 番 個数 備 考
R
1
R
2
1114 104693011407
PACK STAND パ
ックスタンド
1
116 1046930116
PLATE プレート
1
117 102072901701
HANDLE ハンドル
1119 1020730119
COLLAR カラー
1120 1020730028
PLATE フ
゚レート
2
129 104693012902
TAPE GUIDE テープガイド
1
130 104693013002
TAPE GUIDE テープガイド
1131 1046930131
COLLAR カラー
2132 1046930132
WASHER サ
゙ガネ
1
135 1046930135
LABEL ラベル
1136 1046930136
LABEL ラベル
6137 104693013701
BASKET ハ
゙スケット
12
138 104693013801
PIN ピン
12
139 1046930139
PLATE プレート
4X25 A2S (Trivalent)
12
N007
N510018756AA
FLUSH HEAD TAPPING SCREW サラタッピンネジ
3382330-30030
1
N008
N510023032AA
SPACER スヘ
゚ーサ
3 10H A2S (Trivalent)
2
N010
N510018495AA
ROUND PLAIN WASHER ミガキマルヒラザガネ
M3-6H-4T A2S (Trivalen
1
N011
N510017850AA
HEXAGON NUT ロッカクナット
M3X40-4.8 A2S (Trivale
1
N012
N510018050AA
PAN HEAD SCREW ナベコネジ
M4X8-4.8 A2S (Trivalen
3
N013
N510018181AA
FLUSH HEAD SCREW サラコネシ
゙
5X20 A2S (Trivalent)
2
N014
N510018757AA
FLUSH HEAD TAPPING SCREW サラタッピンネジ
4X10 A2S (Trivalent)
1
N021
N510018753AA
FLUSH HEAD TAPPING SCREW サラタッピンネジ
87CLBGN8-39.0
1
N022
N510023747AA
PIN ヒ
゚ン
THA-32-3878
1
N023
N982THA3878
DRAWER PULL トッテ
M5X10-4.8 A2S (Trivale
2
N024
N510018183AA
FLUSH HEAD SCREW サラコネジ
M4-6H-4T A2J (Trivalen
1
N025
N510017855AA
HEXAGON NUT ロッカクナット
M4X8,+,STEEL,C.P
1
N026
XSS4+8FC
FLUSH HEAD SCREW サラコネシ
゙
3X8 A2S (Trivalent)
12
N027
N510018752AA
FLUSH HEAD TAPPING SCREW サラタッピンネジ
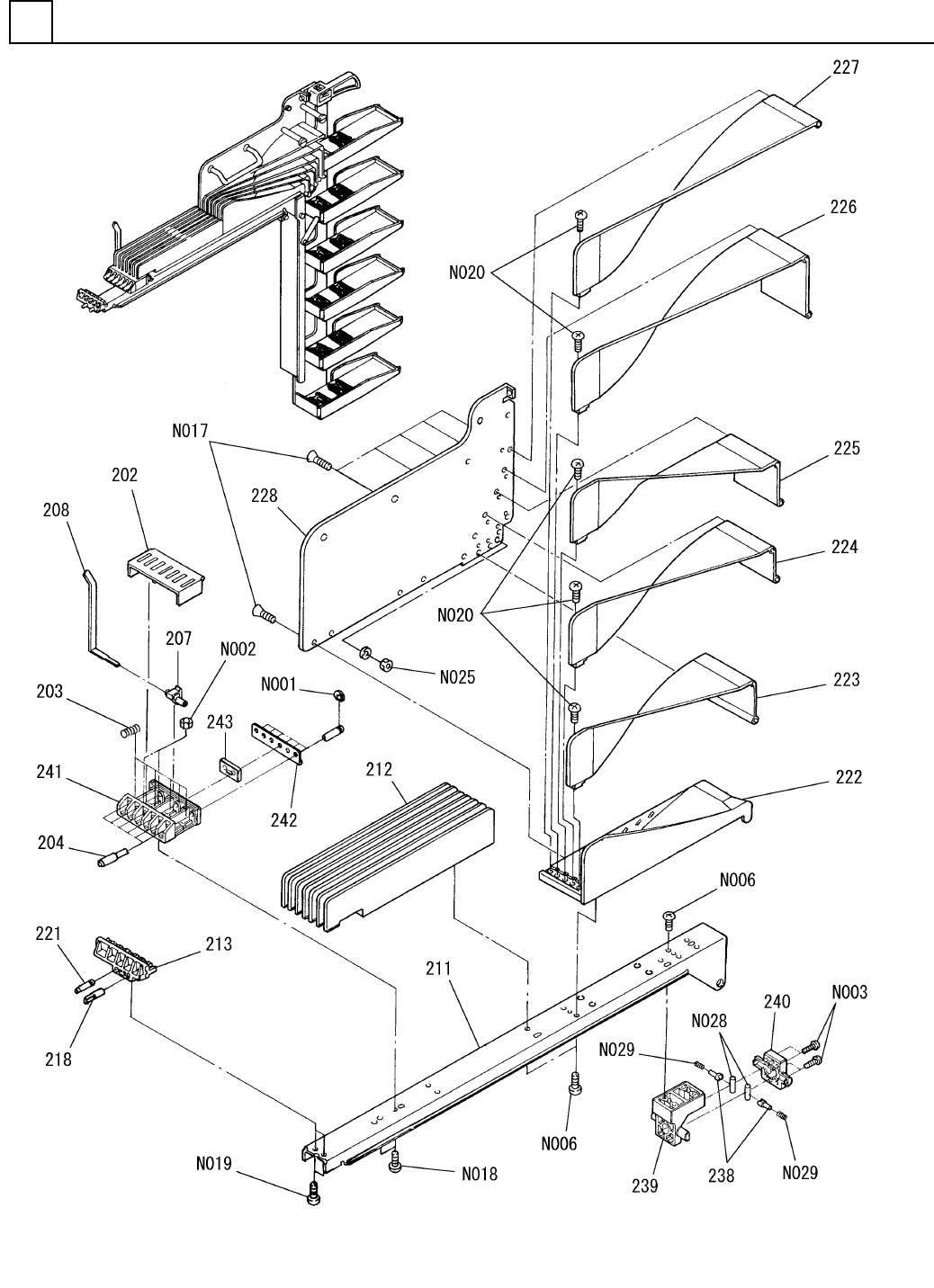
M228
F10469-30-100-AJ_02-2

カートリッジ部<52mm,R80X6>
CARTRIDGE SECT.<52mm,R80X6>
25
F10469-30-200-AJ_02-1
M229

PART NAME
REMARKS
Q'TY
25
カートリッジ部<52mm,R80X6>
CARTRIDGE SECT.<52mm,R80X6>
イラスト
No.
REF
No.
PART No.
部 品 品 番 個数 備 考
R
1
R
2
1 1046930200
CARTRIDGE UNIT カートリッシ
゙ユニット
1
202 1046930102
COVER(GUIDE) カバー(ガイド)
6
203 1020729003
SPRING バネ
6204 1020729004
ROD ロッド
1207 1020729007
CAM カム
1
208 1046930108
LEVER(CAM) レバー(カム)
1
211 N210078448AA
RAIL レール
1212 104693011201
PLATE(GUIDE) プレート
(ガイド)
1213 1046930213
GUIDE カ
゙イド
1
218 1020729018
SHAFT(INSERT) シャフト(インサート)
1221 1020729021
SHAFT(INSERT) シャフト(インサート)
1222 N210078449AA
GUIDE カ
゙イド
1
223 104693012301
TWIST TAPE GUIDE ツイストテープガイド
1
224 104693012401
TWIST TAPE GUIDE ツイストテープガイド
1225 104693012501
TWIST TAPE GUIDE ツイストテープガイド
1226 104693012601
TWIST TAPE GUIDE ツイストテーフ
゚ガイド
1
227 104693012701
TWIST TAPE GUIDE ツイストテープガイド
1
228 104693012803
PLATE(TAPE GUIDE) プレート(テープガイド)
2238 1046930140
HOLDER(PIN) ホルダ(ピン)
1239 1046930141
CORE コア
1
240 1046930142
CORE コア
1
241 1046930143
GUIDE PLATE ガイドプレート
1242 1046930144
PLATE フ
゚レート
1243 1046930145
PLATE プレート
4 A2J (Trivalent)
6
N001
N510018778AA
RETAINING RING E-TYPE E ガタトメワ
SB-4005-EC
2
N002
N510022774AA
BIT INSERT ビットインサート
3X12,+,STEEL,C.P
4
N003
XTB3+12GFC
BINDING HEAD TAPPING SCREW バイント
゙タッピンネジ
4X16 A2J (Trivalent)
9
N006
N510018732AA
BINDING HEAD TAPPING SCREW バインドタップタイトネジ
4X16 A2S (Trivarent)
14
N017
N510018754AA
FLUSH HEAD TAPPING SCREW サラタッピンネジ
M4X10-4.8 A2J (Trivale
2
N018
N510017941AA
BINDING HEAD SCREW バインドコネジ
M4X8-4.8 A2J (Trivalen
2
N019
N510017947AA
BINDING HEAD SCREW バ
インドコネジ
4X10 A2S (Trivalent)
5
N020
N510018744AA
PAN HEAD TAPPING SCREW ナベタップタイトネジ
M4-6H-4T A2J (Trivalen
1
N025
N510017855AA
HEXAGON NUT ロッカクナット
87MS5-15
2
N028
N510033285AA
PIN ピン
DC575
2
N029
N986DC575
SPRING ハ
゙ネ
M230
F10469-30-200-AJ_02-1