AV131部品表(1).pdf - 第258页
J.W.ヘッド部 (3) J.W.HEAD SE CT.(3) 26 FN610052080AA _00-3 M239

PART NAME
REMARKS
Q'TY
26
J.W.ヘッド部(2)
J.W.HEAD SECT.(2)
イラスト
No.
REF
No.
PART No.
部 品 品 番 個数 備 考
R
1
R
2
1102 N210067818AA
LEVER レハ
゙ー
1
103 N210067823AA
STOPPER ストッパ
1
105 1041320107
BRACKET ブラケット
1111 N210067815AA
SHAFT シャフト
1120 1041420033
GEAR キ
゙ヤー
1
142 N210067820AA
BLOCK ブロック
1
143 N210067822AA
NUT ナット
1144 N210067858AA
PUSHER フ
゚ッシャ
(MSMD012PJA) S
1
A001
N610052033AA
MOTOR モータ
CF3-A
1
N002
N531CF3A
CAM FOLLOWER カムフォロア
5X12,m6A,STEEL
2
N003
XPJ5A12FW
PARALLEL PIN ヘイコウピン
6001ZZ
1
N004
XLC6001ZZ
BALL BEARING ボールヘ
゙アリング
FU01SS
1
N005
KXF0233AA00
LOCK-NUT ロックナット
F699ZZ
1
N006
KXF08ZCAA00
BALL BEARING ボールベアリング
M3-6H-4T A2J (Trivalen
1
N010
N510017849AA
HEXAGON NUT ロッカクナット
NGA-6075S
1
N012
N510022291AA
GREASE NIPPLE グ
リースニップル
22,STEEL,P.C
1
N013
XUA22FP
RETAINING RING C-TYPE, CORE C ガタアナヨウトメワ
608ZZ
3
N014
XLC608ZZ
BALL BEARING ボールベアリング
FUN-008-SS
1
N015
N510022896AA
NUT ナット
ZA-0806
1
N016
KXF0BZ0AA00
COUPLING カップ
リング
CDUJB10-6D-F8NL
1
N029
KXF0DZQAA00
CYLINDER シリンダ
KJS04-M3
2
N030
KXF029MAA00
FITTING ツギテ
M238
FN610052080AA_00-2

J.W.ヘッド部(3)
J.W.HEAD SECT.(3)
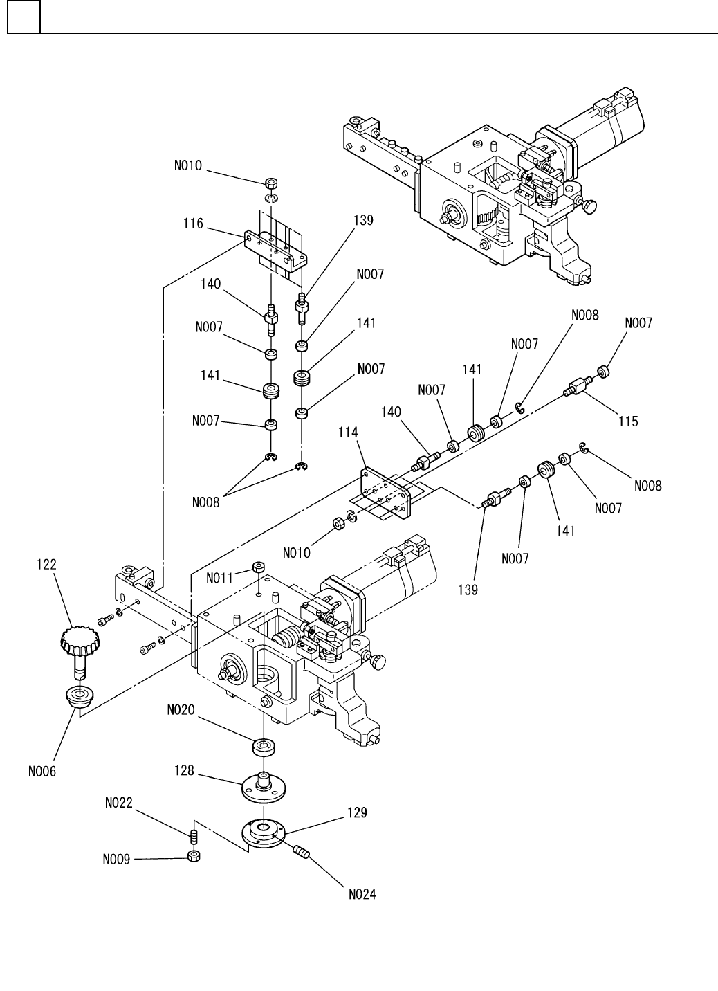
26
FN610052080AA_00-3
M239

PART NAME
REMARKS
Q'TY
26
J.W.ヘッド部(3)
J.W.HEAD SECT.(3)
イラスト
No.
REF
No.
PART No.
部 品 品 番 個数 備 考
R
1
R
2
1114 104132011601
BRACKET フ
゙ラケット
3
115 1020310301
PIN ピン
1
116 104132012101
BRACKET ブラケット
1122 1083520026
WHEEL ホイール
1128 102031007902
COLLAR カラー
1
129 108352000901
ROLLER ローラ
7
139 1041420054
PIN ピン
2140 1041420055
OFFSET PIN オフセットヒ
゚ン
9141 1041420056
ROLLER ローラ
F699ZZ
1
N006
KXF08ZCAA00
BALL BEARING ボールベアリング
MR63ZZ
21
N007
KXF05XYAA00
BALL BEARING ボールベアリング
2,STEEL,P.C
12
N008
XUC2FP
RETAINING RING E-TYPE E
ガタトメワ
M4-6H-4T A2J (Trivalen
3
N009
N510017859AA
HEXAGON NUT ロッカクナット
M3-6H-4T A2J (Trivalen
12
N010
N510017849AA
HEXAGON NUT ロッカクナット
M5-6H-4T A2J (Trivalen
1
N011
N510017862AA
NUT ナット
6901ZZ
1
N020
XLC6901ZZ
BALL BEARING ボールヘ
゙アリング
M4X14-45H A2J (Trivale
3
N022
N510018429AA
HEX. SOCKET SET SCREW ロッカクアナツキトメネジ
M3X4-45H A2J (Trivalen
3
N024
N510018392AA
HEX. SOCKET SET SCREW ロッカクアナツキトメネジ
M240
FN610052080AA_00-3