AV131部品表(1).pdf - 第116页
移載チャック部( 3) TRANSFER CH UCK SECT.(3) 8 FN610052073AA _01-3 M97

PART NAME
REMARKS
Q'TY
8
移載チャック部(2)
TRANSFER CHUCK SECT.(2)
イラスト
No.
REF
No.
PART No.
部 品 品 番 個数 備 考
R
1
R
2
1029 104131102702
PLATE フ
゚レート
1
031 108711103102
PULLEY プーリー
1
032 N210066434AA
PLATE プレート
1033 N210066433AA
PLATE プレート
1034 N210048680AA
SHAFT シャフト
1
035 N210048667AA
HOUSING ハウジング
1
037 108711103701
PULLEY プーリー
1038 1087111038
SPACER スヘ
゚ーサ
1069 1046911079
PACKING ハ
゚ッキン
1
079 1087111079
COLLAR カラー
1081 N210096432AA
NUT ナット
1083 N210090329AA
SLEEVE スリーフ
゙
(MSMD102PJA) S
1
A013
N610052037AA
MOTOR モータ
420-EV5GT-20
1
N012
N510027679AA
BELT(TIMING) ベルト(タイミング)
P914SA1
1
N014
N310P914SA1
SENSOR センサ
STW-15
1
N015
KXF04CUAA00
RETAINING RING C-TYPE,SHAFT C カ
゙タジクヨウトメワ
6902ZZ
1
N016
KXF00MNAA00
BEARING ベアリング
6804ZZCM
1
N017
N510003289AA
BEARING ベアリング
FU06SS
1
N018
KXF023BAA00
NUT ナット
7906A5DBP5
2
N020
N510003565AA
BEARING ベアリンク
゙
Hexagon head bolt Best
2
N022
N510018858AA
BOLT ボルト
M-5H-4
4
N026
KXF02T7AA00
FITTING ニップル
8X7X18,STEEL,PARALLEL,
1
N037
XPA8L7F18
SUNK KEY シス
゙ミキー
C00516A
8
N044
N554C00516A
O-RING O リンク
゙
M96
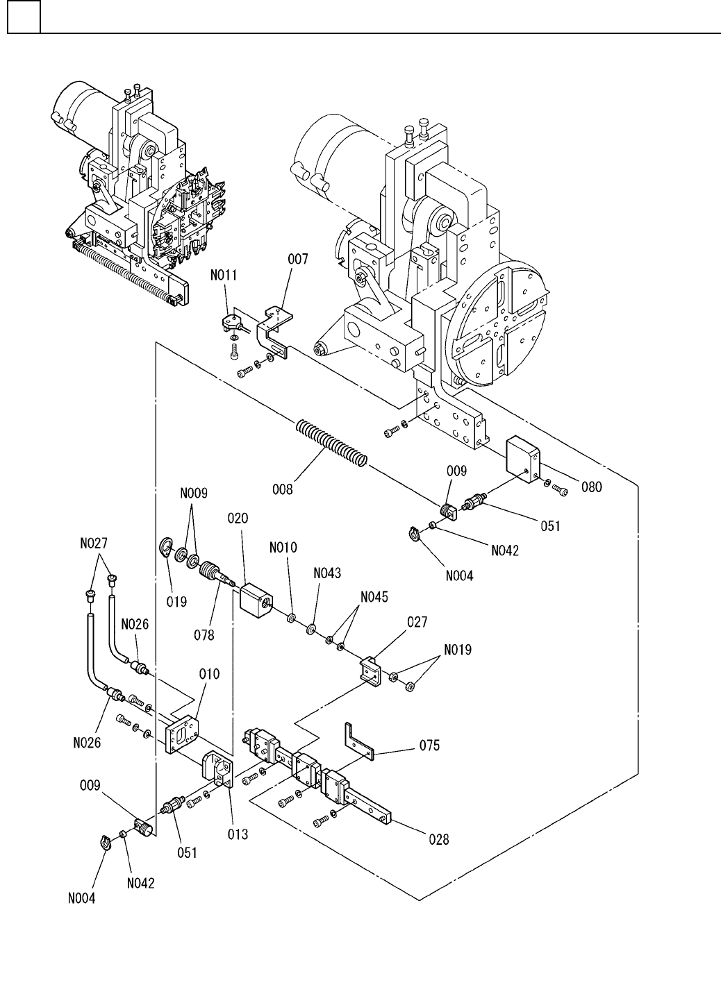
FN610052073AA_01-2

移載チャック部(3)
TRANSFER CHUCK SECT.(3)
8
FN610052073AA_01-3
M97

PART NAME
REMARKS
Q'TY
8
移載チャック部(3)
TRANSFER CHUCK SECT.(3)
イラスト
No.
REF
No.
PART No.
部 品 品 番 個数 備 考
R
1
R
2
1007 108711100702
BRACKET フ
゙ラケット
1
008 1087111008
SPRING バネ
2
009 N210089189AA
HOOK フック
1010 1087111010
PLATE(GUIDE) プレート(ガイド)
1013 108711101302
BLOCK(GUIDE) ブロック
(ガイド)
1
019 108711101901
PACKING パッキン
1
020 108711102001
HOUSING ハウジング
1027 N210065600AB
BRACKET フ
゙ラケット
1028 1087111028
LINEAR MOTION UNIT リニアモーションユニット
2
051 108711105102
PIN ピン
1075 108711107502
DOG FOR SENSOR ドグ
1078 N210090330AA
PISTON ヒ
゚ストン
1
080 108711108002
BLOCK ブロック
6,STEEL,P.C
2
N004
XUB6FP
RETAINING RING C-TYPE,SHAFT C ガタジクヨウトメワ
MYA-12
2
N009
N555MYA12
PACKING パッキン
MYA-5
1
N010
KXF0CSQAA00
PACKING ハ
゚ッキン
EE-SX871
1
N011
N310EESX871
SENSOR センサ
M3-6H-4T A2J (Trivalen
2
N019
N510017849AA
HEXAGON NUT ロッカクナット
M-5H-4
2
N026
KXF02T7AA00
FITTING ニップル
R2.5X0.5
2
N027
KXF08ZYAA00
RING リンク
゙
K5B0606
2
N042
N510022566AA
BUSHING ブッシュ
87FWSSB-D14.0-V5.0-T1.
1
N043
N510033409AA
WASHER ワッシャ
3 10H A2J (Trivalent)
2
N045
N510018494AA
WASHER ヒラサ
゙ガネ
M98
FN610052073AA_01-3