AV131部品表(1).pdf - 第160页
部品供給部( 120連2) FEEDER CARR IAGE SECT. (12 0 FEEDERS-2) 18 FN610064467AA _01-2 M141

PART NAME
REMARKS
Q'TY
18
部品供給部(120連1)
FEEDER CARRIAGE SECT. (120 FEEDERS-1)
イラスト
No.
REF
No.
PART No.
部 品 品 番 個数 備 考
R
1
R
2
1 N610064467AA
FEEDER CARRIAGE UNIT ブヒンキョウキュウユニット
1
001 N610065484AB
CROSS BEAM クロスビーム
2
002 1087107004
LINEAR MOTION UNIT リニアモーションユニット
2003 104690700501
BRACKET ブラケット
2004 1046907006
HOLDER ホルタ
゙
1
005 102070700301
BALL SCREW ボールネジ
2
025 N210081318AB
PLATE(SENSOR) プレート(センサ)
1026 108710703001
PLATE フ
゚レート
1027 N210081316AA
PLATE(SENSOR) プ
レート(センサ)
1
030 N210081317AA
PLATE(SENSOR) プレート(センサ)
1031 108710703503
PLATE プレート
2035 1046907046
STOPPER ストッハ
゚ー
(MGM322S2S) S
1
A001
N610052031AA
MOTOR モータ
(MGM322S2S) S
1
A002
N610052032AA
MOTOR モータ
M10X90-12.9 SCHP
2
N001
N510004048AA
HEX. SOCKET HEAD CAP BOLT ロッカクアナツキボルト
SCE201-40X62
2
N002
N645SCE2-022
COUPLING カッフ
゚リング
LS-11S/RL S
4
N011
N510030839AA
SWITCH スイッチ
V-M20
4
N012
KXF0DG3AA00
CABLE ケーブル
PANADAC921SA1
6
N013
N310P921SA1
SENSOR センサ
P921S1
2
N014
N310P921S1
SENSOR センサ
M140
FN610064467AA_01-1

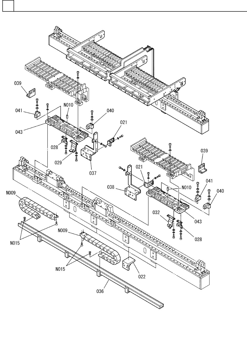
部品供給部(120連2)
FEEDER CARRIAGE SECT. (120 FEEDERS-2)
18
FN610064467AA_01-2
M141

PART NAME
REMARKS
Q'TY
18
部品供給部(120連2)
FEEDER CARRIAGE SECT. (120 FEEDERS-2)
イラスト
No.
REF
No.
PART No.
部 品 品 番 個数 備 考
R
1
R
2
2021 N210071612AA
BRACKET フ
゙ラケット
4
022 104690703104
BRACKET ブラケット
2
028 N210081324AA
DOG FOR SENSOR ドグ
1029 108710703302
DOG FOR SENSOR ドグ
1032 108710703602
DOG FOR SENSOR ト
゙グ
1
036 104690704701
BRACKET ブラケット
1
037 N210071459AA
BRACKET ブラケット
1038 N210071458AA
BRACKET フ
゙ラケット
2039 108710704301
BRACKET フ
゙ラケット
2
040 N210066178AA
BRACKET ブラケット
2041 N210066179AA
BRACKET ブラケット
2043 N610051260AC
PLATE フ
゚レート
250-03-055-0-32-2030.1
2
N009
N9862500-T61
FLEXIBLE DUCT フレキシブルダクト
5X20,m6A,STEEL
4
N010
XPJ5A20FW
PARALLEL PIN ヘイコウピン
M6X12-10.9 A2J (Trival
8
N015
N510017645AA
BOLT ボルト
M142
FN610064467AA_01-2