AV131部品表(1).pdf - 第92页
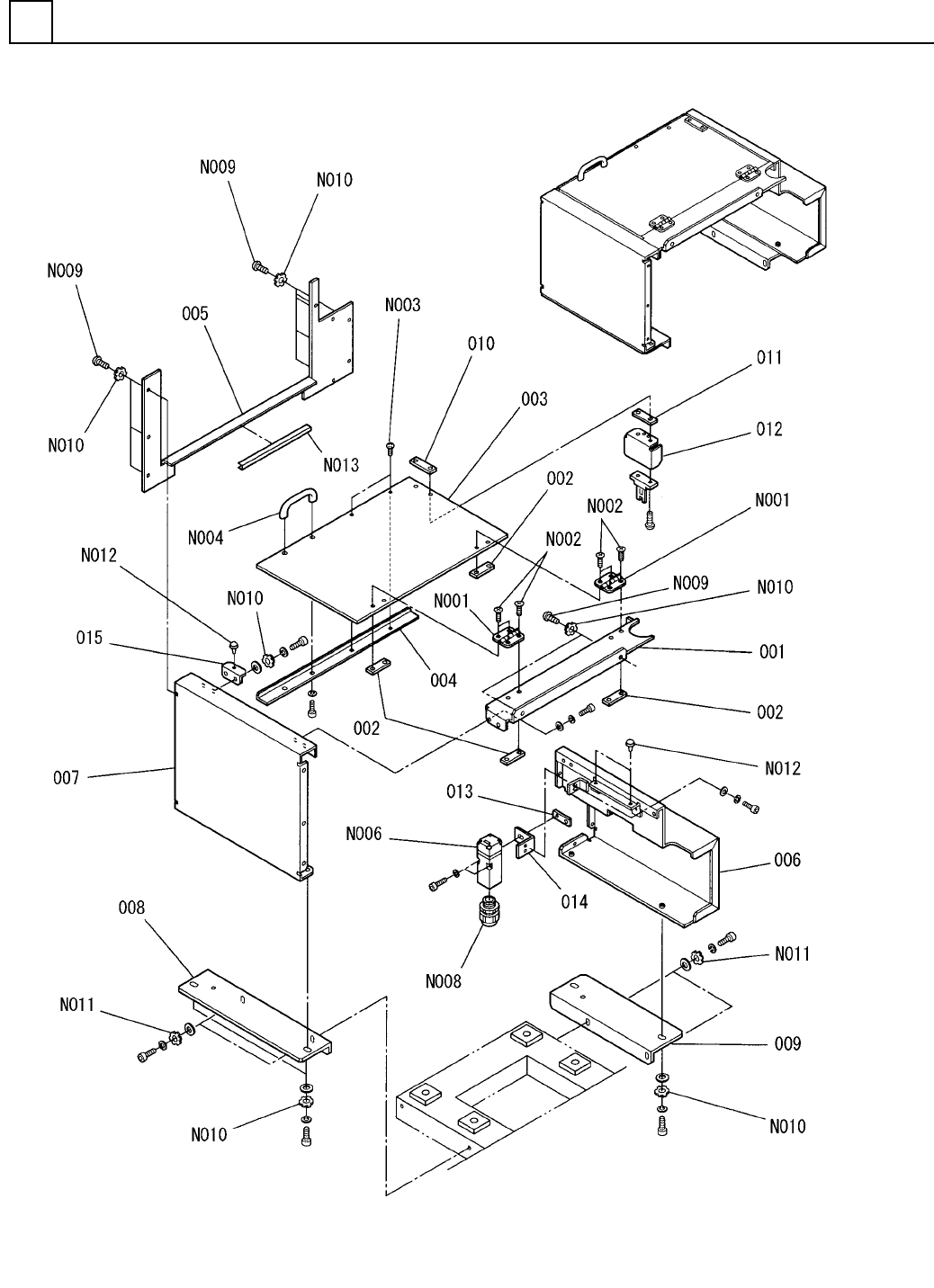
ローダ・アンローダ 部(アンローダカバ ー部) LOADER & UN LOADER SECT.(U NLOADER COVER SECT.) 4 FN610059163AA _04 M73

PART NAME
REMARKS
Q'TY
4
ローダ・アンローダ部(ローダカバー部)
LOADER & UNLOADER SECT.(LOADER COVER SECT.)
イラスト
No.
REF
No.
PART No.
部 品 品 番 個数 備 考
R
1
R
2
1 N610059161AA
LOADER COVER UNIT ロータ
゙カバーユニット
1
001 N210071346AB
COVER カバー
4
002 KXFB012QA00
NUT PLATE ナットプレート
1003 N210071272AE
COVER カバー
1004 N210071273AC
COVER カハ
゙ー
1
005 N210071400AC
COVER カバー
1
006 N210071373AC
COVER カバー
1007 N210071363AC
COVER カハ
゙ー
1008 N210071365AA
COVER カハ
゙ー
1
009 N210105969AA
BRACKET ブラケット
1010 N210048950AA
NUT PLATE ナットプレート
1011 N210048951AA
SPACER スヘ
゚ーサ
1
012 1087102064
BRACKET ブラケット
1
013 1087105805
BRACKET ブラケット
1014 N210071471AB
BRACKET ブラケット
1015 N210071283AA
BRACKET フ
゙ラケット
B-1229
2
N001
KXF0A4KAA00
HINGE ヒンジ
M4X10-4.8 A2J (Trivale
8
N002
N510018164AA
FLUSH HEAD SCREW サラコネジ
M4X10-4.8 A2J (Trivale
2
N003
N510018257AA
PAN HEAD SCREW トラスコネジ
AP-2(black)
1
N004
KXF08CUAA00
DRAWER PULL トッテ
D4NS-1BF S
1
N006
N510015338AA
SWITCH スイッチ
ST13.5
1
N008
KXF06F4AA00
JOINT ジョイント
M5X10-4.8 A2J (Trivale
10
N009
N510018284AA
TRUSS HEAD SCREW トラスコネシ
゙
5 External toothed Ste
18
N010
N510018765AA
TOOTHED LOCK WASHER ハツキサ
゙ガネ
6 External toothed Ste
4
N011
N510018767AA
TOOTHED LOCK WASHER ハツキザガネ
C-30-CS-8
2
N012
KXF07GDAA00
RUBBER CUSHION ゴムクッション
TE-024
1
N013
N348TE024T
BUSHING フ
゙ッシュ
M72
FN610059161AA_05

ローダ・アンローダ部(アンローダカバー部)
LOADER & UNLOADER SECT.(UNLOADER COVER SECT.)
4
FN610059163AA_04
M73

PART NAME
REMARKS
Q'TY
4
ローダ・アンローダ部(アンローダカバー部)
LOADER & UNLOADER SECT.(UNLOADER COVER SECT.)
イラスト
No.
REF
No.
PART No.
部 品 品 番 個数 備 考
R
1
R
2
1 N610059163AA
UNLOADER COVER UNIT アンロータ
゙カバーユニット
1
001 N210071462AA
COVER カバー
4
002 KXFB012QA00
NUT PLATE ナットプレート
1003 N210071272AE
COVER カバー
1004 N210086100AB
COVER カハ
゙ー
1
005 N210071444AC
COVER カバー
1
006 N210071461AC
COVER カバー
1007 N210071363AC
COVER カハ
゙ー
1008 N210105969AA
BRACKET フ
゙ラケット
1
009 1087105904
REAR BRACKET ブラケット(REAR)
1010 N210048950AA
NUT PLATE ナットプレート
1011 N210048951AA
SPACER スヘ
゚ーサ
1
012 1087102064
BRACKET ブラケット
1
013 1087105805
BRACKET ブラケット
1014 N210071471AB
BRACKET ブラケット
1015 N210071283AA
BRACKET フ
゙ラケット
B-1229
2
N001
KXF0A4KAA00
HINGE ヒンジ
M4X10-4.8 A2J (Trivale
8
N002
N510018164AA
FLUSH HEAD SCREW サラコネジ
M4X10-4.8 A2J (Trivale
2
N003
N510018257AA
PAN HEAD SCREW トラスコネジ
AP-2(black)
1
N004
KXF08CUAA00
DRAWER PULL トッテ
D4NS-1BF S
1
N006
N510015338AA
SWITCH スイッチ
ST13.5
1
N008
KXF06F4AA00
JOINT ジョイント
M5X10-4.8 A2J (Trivale
10
N009
N510018284AA
TRUSS HEAD SCREW トラスコネシ
゙
5 External toothed Ste
18
N010
N510018765AA
TOOTHED LOCK WASHER ハツキサ
゙ガネ
6 External toothed Ste
4
N011
N510018767AA
TOOTHED LOCK WASHER ハツキザガネ
C-30-CS-8
3
N012
KXF07GDAA00
RUBBER CUSHION ゴムクッション
TE-024
1
N013
N348TE024T
BUSHING フ
゙ッシュ
M74
FN610059163AA_04