AV131部品表(1).pdf - 第135页
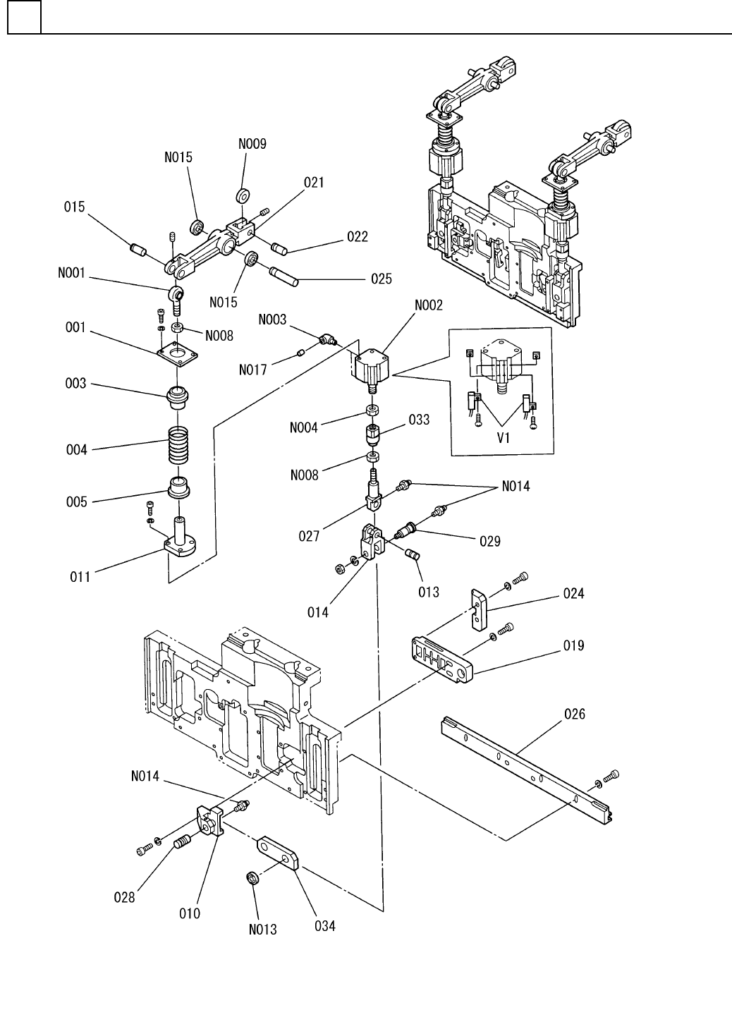
PART NA ME REM ARKS Q'TY 11 テープカッタ部( 3) TAPE CUTTER SECT.(3) イラスト No. REF No. PART No. 部 品 品 番 個数 備 考 R 1 R 2 1 001 1017714029 PLATE フ ゚レート 1 003 1041318003 COLLAR カラー 1 004 1041318004 SPRING バネ 1 005 1017714039 C…

テープカッタ部(3)
TAPE CUTTER SECT.(3)
11
FN610052014AA_00-3
M115

PART NAME
REMARKS
Q'TY
11
テープカッタ部(3)
TAPE CUTTER SECT.(3)
イラスト
No.
REF
No.
PART No.
部 品 品 番 個数 備 考
R
1
R
2
1001 1017714029
PLATE フ
゚レート
1
003 1041318003
COLLAR カラー
1
004 1041318004
SPRING バネ
1005 1017714039
COLLAR カラー
1010 104131801403
BLOCK(R) ブ
ロック(R)
1
011 108711801101
SHAFT シャフト
1
013 1017714044
PIN ピン
1014 1083818014
JOINT シ
゙ョイント
1015 1017714035
PIN ヒ
゚ン
1
019 108711801902
SLIDER スライダ
1021 104131803204
LEVER レバー
1022 102460903701
PIN ヒ
゚ン
1
024 104131803505
CUTTER カッター
1
025 1041318036
SHAFT シャフト
1026 N210084544AA
RAIL(GUIDE) レール(ガイド)
1027 1046918051
ROD ロット
゙
1
028 1041318040
PIN ピン
1
029 104131804101
PIN ピン
1033 104131804701
ADJUSTER アジャスタ
1034 108381803401
LEVER レハ
゙ー
POS12L
1
N001
N534P0S12L
ROD END ロッドエンド
CDQ2A40-5DM-A73S
1
N002
N401CDQ2-A18
CYLINDER シリンダ
KQ2L06-01S
2
N003
KXF0DYW0A00
FITTING ツキ
゙テ
NT-04
1
N004
N401NT04
NUT ナット
M12-6H-LH-4T A2J (Triv
2
N008
N510018924AA
HEXAGON NUT ロッカクナット
NART10R-040010
1
N009
N531NART-016
ROLLER FOLLOWER ローラフォロア
NAST12
1
N013
N532NAST12
ROLLER FOLLOWER ローラフォロア
NGA-6075S
3
N014
N510022291AA
GREASE NIPPLE グリースニップル
NA5902
2
N015
N510003014AA
NEEDLE ROLLER BEARING ニードルローラベアリング
R4X1
2
N017
N473R41
ORIFICE RING オリフィスリング
D-A73
2V 1 N401DA73
SENSOR センサ
M116
FN610052014AA_00-3

自己補正装置部
SELF CORRECTION SECT.
12
FN610052084AA_00
M117