AV131部品表(1).pdf - 第97页
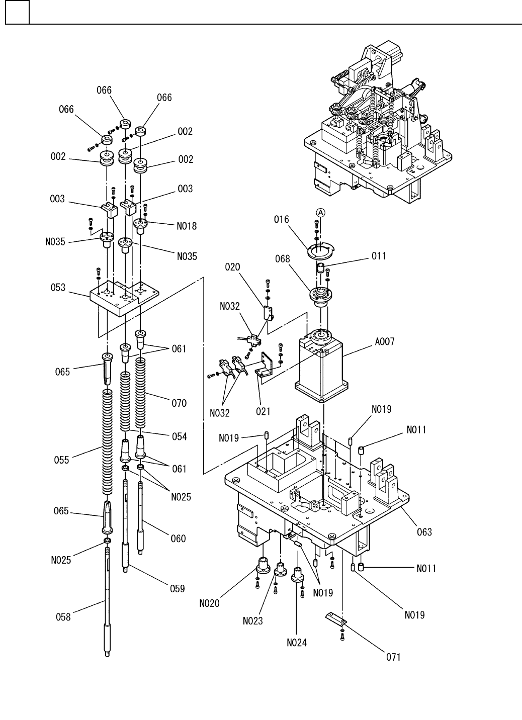
PART NA ME REM ARKS Q'TY 5 挿入ヘッド部 (1) INSERTION H EAD SECT.(1) イラスト No. REF No. PART No. 部 品 品 番 個数 備 考 R 1 R 2 1 N610052012AA INSERTION HE AD UNIT ソウニュウヘット ゙ユニット 3 002 104130900201 BLOCK(SLIDE) ブロック(スライド ) 2 003…

挿入ヘッド部(1)
INSERTION HEAD SECT.(1)
5
FN610052012AA_00-1
M77

PART NAME
REMARKS
Q'TY
5
挿入ヘッド部(1)
INSERTION HEAD SECT.(1)
イラスト
No.
REF
No.
PART No.
部 品 品 番 個数 備 考
R
1
R
2
1 N610052012AA
INSERTION HEAD UNIT ソウニュウヘット
゙ユニット
3
002 104130900201
BLOCK(SLIDE) ブロック(スライド)
2
003 108710900303
GUIDE ガイド
1011 108710901101
BUSHING ブッシュ
1016 N210077326AA
PLATE(SENSOR) プ
レート(センサ)
1
020 108710902004
BRACKET(SENSOR) ブラケット(センサ)
1
021 108710902104
BRACKET(SENSOR) ブラケット(センサ)
1053 108710905301
PLATE フ
゚レート
1054 1087109054
SPRING ハ
゙ネ
1
055 108710905501
SPRING バネ
1058 108710905803
SHAFT シャフト
1059 108710905903
SHAFT シャフト
1
060 108710906002
SHAFT シャフト
4
061 1041309076
COLLAR カラー
WOODEN PATTERN 1087109
1063 N210084495AA
HEAD ヘッド
2065 1041309082
COLLAR カラー
3
066 1041309083
NUT ナット
1
068 1087109068
FLANGE フランジ
1070 1087109070
SPRING バネ
1071 1087109071
BRACKET ブラケット
(MGM202S3S) S
1
A007
N610052035AA
MOTOR モータ
K5B1012
2
N011
N510022570AA
BUSHING ブッシュ
LMF10UU
1
N018
N513LMF10UU
BUSHING ブ
ッシング
6X12,h8B,STEEL
11
N019
XPJ6E12FW
PARALLEL PIN ヘイコウヒ
゚ン
LMK16UU
1
N020
N513LMK16UU
BUSHING ブッシング
LMK13UU
1
N023
N513LMK13UU
BUSHING ブッシング
LMF13UU
1
N024
N513LMF13UU
BUSHING ブ
ッシング
Small round-plain wash
3
N025
N510018483AA
WASHER ザガネ
EE-SX870A
3
N032
N310EESX870A
SENSOR センサ
LMF10LUU
2
N035
N513LMF10LUU
BUSHING ブッシング
M78
FN610052012AA_00-1

挿入ヘッド部(2)
INSERTION HEAD SECT.(2)
5
FN610052012AA_00-2
M79