AV131部品表(1).pdf - 第218页
ローダ・アンローダ部 (ローダカバー部 <C-CON>) LOADER & UN LOADER SECT.(L OADER COVER SE CT.<C-CON>) 23 FN610065999AA _02 M199

PART NAME
REMARKS
Q'TY
22
X-Yテーブル部(自動幅寄せレバー部(D=5.0))
X-Y TABLE SECT.(AUTO WIDTH CONTROL LEVER SECT.(D=5.0))
イラスト
No.
REF
No.
PART No.
部 品 品 番 個数 備 考
R
1
R
2
1 N610061657AA
LEVER UNIT レハ
゙ーユニット
1
001 N210077741AA
LEVER(LEFT) レバー(LEFT)
1
002 N210076924AA
LEVER(RIGHT) レバー(RIGHT)
M198
FN610061657AA_00

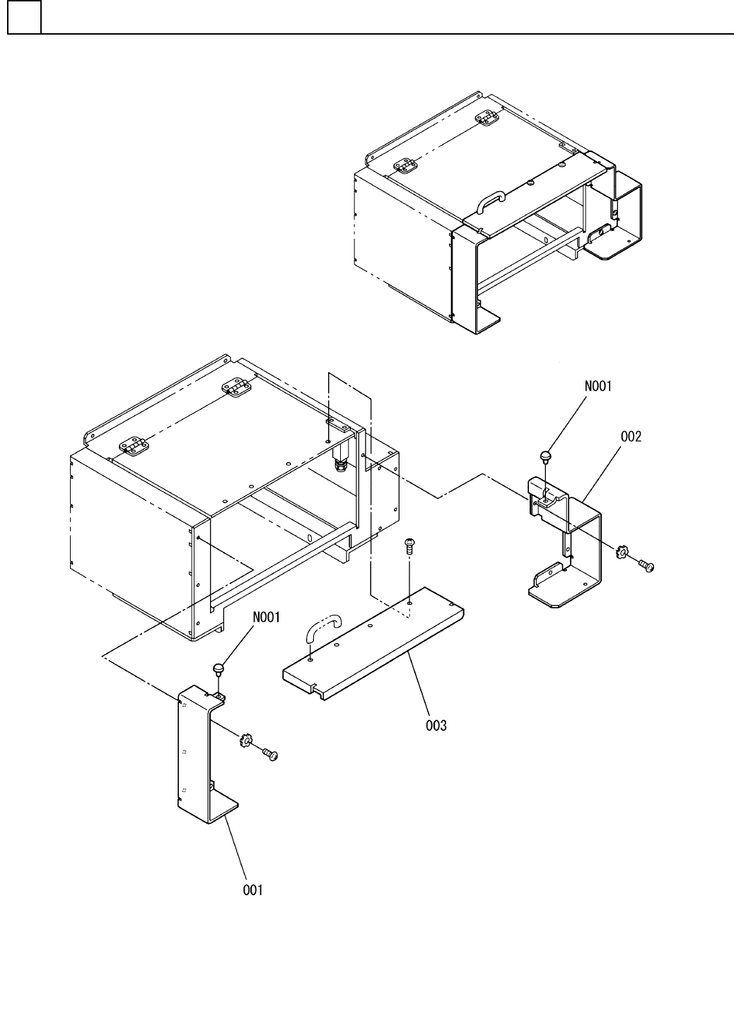
ローダ・アンローダ部(ローダカバー部<C-CON>)
LOADER & UNLOADER SECT.(LOADER COVER SECT.<C-CON>)
23
FN610065999AA_02
M199

PART NAME
REMARKS
Q'TY
23
ローダ・アンローダ部(ローダカバー部<C-CON>)
LOADER & UNLOADER SECT.(LOADER COVER SECT.<C-CON>)
イラスト
No.
REF
No.
PART No.
部 品 品 番 個数 備 考
R
1
R
2
1 N610065999AA
LOADER COVER UNIT ロータ
゙カバーユニット
1
001 N210081983AC
COVER カバー
1
002 N210081984AC
COVER カバー
1003 N210081985AC
COVER カバー
C-30-CS-8
2
N001
KXF07GDAA00
RUBBER CUSHION ゴ
ムクッション
M200
FN610065999AA_02