AV131部品表(1).pdf - 第144页
スクラップダクト 部(3) SCRAP DUCT SECT.(3) 14 FN610066188AA _01-3 M125

PART NAME
REMARKS
Q'TY
14
スクラップダクト部(2)
SCRAP DUCT SECT.(2)
イラスト
No.
REF
No.
PART No.
部 品 品 番 個数 備 考
R
1
R
2
92210-SY65(SUS)
1
N001
N510023057AA
BAND ハ
゙ンド
92210-SY50(SUS)
1
N002
N510023056AA
BAND バンド
TM-144SS-64(5737)
1
N003
N982TM5737
BAND バンド
TM-144SS-75(5738)
1
N004
N982TM5738
BAND バンド
M124
FN610066188AA_01-2

スクラップダクト部(3)
SCRAP DUCT SECT.(3)
14
FN610066188AA_01-3
M125

PART NAME
REMARKS
Q'TY
14
スクラップダクト部(3)
SCRAP DUCT SECT.(3)
イラスト
No.
REF
No.
PART No.
部 品 品 番 個数 備 考
R
1
R
2
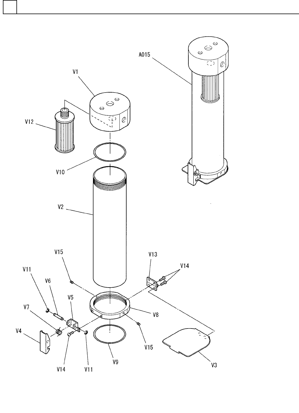
1
A015
N610070306AA
DUST BOX UNIT リート
゙クズケースユニット
1
V 1 N210071640AB
COVER カバー
1
V 2 N210081330AA
CASE ケース
1V 3 X00G30145
PLATE プレート
1V 4 X00G30146
LATCH ラッチ
1
V 5 X00G30147
BRACKET ブラケット
1
V 6 X00G30148
PIN ピン
1V 7 X00G30149
SPRING ハ
゙ネ
1V 8 X00G30156
COVER カハ
゙ー
CO0207A
1
V 9 N5541AG60N
O-RING Oリング
CO0545A
1V10 N554C00545A
O-RING Oリング
STW-4
2V11 KXF0BWNAA00
RETAINING RING C-TYPE,SHAFT C カ
゙タジクヨウトメワ
04001513010
1
V12 N4210400-048
FILTER ELEMENT フィルタエレメント
B-1100-1
1
V13 N980B11001
HINGE チョウバン
M3X5-4.8 A2J (Trivalen
6V14 N510017981AA
ROUND HEAD SCREW マルコネジ
M3X4-45H A2J (Trivalen
2V15 N510018360AA
HEX. SOCKET SET SCREW ロッカクアナツキトメネシ
゙
M126
FN610066188AA_01-3