AV131部品表(1).pdf - 第30页
本体部(上部 駆動部3 ) MAIN BODY S ECT.(UPPER DRI VING SECT.-3) 1 FN610070580AA _02-3 M11

PART NAME
REMARKS
Q'TY
1
本体部(上部駆動部2)
MAIN BODY SECT.(UPPER DRIVING SECT.-2)
イラスト
No.
REF
No.
PART No.
部 品 品 番 個数 備 考
R
1
R
2
1002 108710100302
SHAFT シャフト
1
003 108710100401
BRACKET ブラケット
2
004 108710100604
CAM カム
1005 104131201402
COTTER コッタ
1006 108710100802
BRACKET フ
゙ラケット
1
007 108710100904
CAM(PLATE) カム(イタ)
1
008 108710101104
CAM カム
1010 108710101204
CAM カム
1011 108710101405
CAM カム
1
012 108710101505
CAM カム
1013 104130102002
GEAR ギヤー
1027 108710103702
SPACER スヘ
゚ーサ
1
031 1041301080
KEY キー
1
033 108710105901
BRACKET ブラケット
1034 108710106502
PULLEY プーリー
1035 108710106603
PULLEY フ
゚ーリー
1
037 108710106902
COVER カバー
6207ZZ
4
N004
XLC6207ZZ
BALL BEARING ボールベアリング
6304ZZ
2
N005
XLC6304ZZ
BALL BEARING ボールベアリング
FU04SC
1
N006
KXF0237AA00
LOCK-NUT ロックナット
327-3GT-9
1
N007
N6413273GT9
BELT(TIMING) ベルト(タイミング)
E6F-AB5C
1
N008
N510025662AA
ROTARY ENCODER ロータリーエンコーダ
MSW-08-K18-E-C-A4 S
1
N013
N510026191AA
MOTOR モータ
2328-EV8YU-40
1
N014
N510024491AA
BELT ベ
ルト
M8X10-45H A2J (Trivale
7
N018
N510018455AA
SET SCREW ロッカクアナツキトメネジ
20 10H A2J (Trivalent)
1
N020
N510018487AA
WASHER ザガネ
M6X55-10.9 A2J (Trival
1
N021
N510017449AA
HEX. SOCKET HEAD CAP BOLT ロッカクアナツキホ
゙ルト
M-6H-10T A2J (Trivalen
1
N022
N510017870AA
HEXAGON NUT ロッカクナット
6X6X18,PARALLEL,B.S.R
1
N023
XPA6L6F18
SUNK KEY シズミキー
8X7X63,STEEL,PARALLEL,
3
N026
XPA8L7F63
SUNK KEY シズミキー
6900ZZ
2
N027
XLC6900ZZ
BALL BEARING ボールヘ
゙アリング
RB010014005
1
N028
N510033488AA
SHIM シム
1
N035
N510041189AA
HOSE ホース
SFS-10W-30M-35M
1V 1 N644SFS1-130
COUPLING カップリング
GA-MEG-G119
1V 2 N510008678AA
PULLEY フ
゚ーリー
MA-35
1
V 3 N510008839AA
BUSHING ブッシング
M10
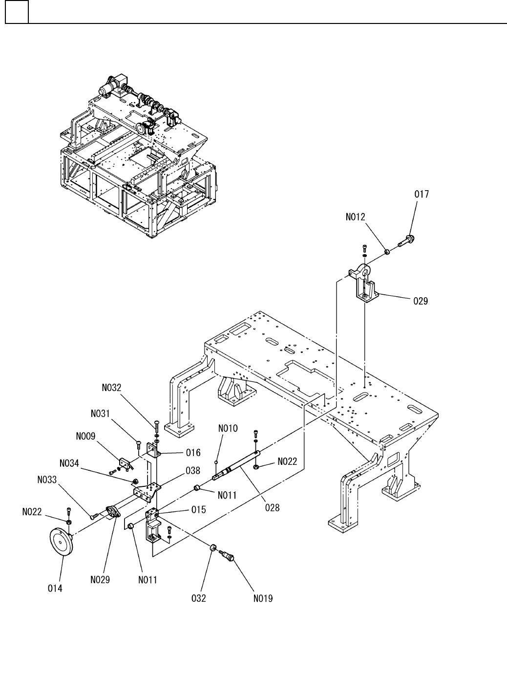
FN610070580AA_02-2

本体部(上部駆動部3)
MAIN BODY SECT.(UPPER DRIVING SECT.-3)
1
FN610070580AA_02-3
M11

PART NAME
REMARKS
Q'TY
1
本体部(上部駆動部3)
MAIN BODY SECT.(UPPER DRIVING SECT.-3)
イラスト
No.
REF
No.
PART No.
部 品 品 番 個数 備 考
R
1
R
2
1014 108710101801
HANDLE ハント
゙ル
1
015 N210063503AA
BRACKET ブラケット
1
016 N210063501AA
BRACKET ブラケット
1017 104130103001
GEAR ギヤー
1028 N210072048AA
SHAFT シャフト
1
029 108710104502
BRACKET ブラケット
1
032 1046901062
COLLAR カラー
1038 N210091641AA
BRACKET フ
゙ラケット
AZ7100
1
N009
N300AZ7100
SWITCH スイッチ
D6
1
N010
N506D6
STEEL BALL コウキュウ
K5B1615
2
N011
N510022575AA
BUSHING ブッシュ
K5B1215
1
N012
N510022572AA
BUSHING フ
゙ッシュ
PXXS-5-A
1
N019
N510036373AA
PLUNGER プランジャ
M-6H-10T A2J (Trivalen
2
N022
N510017870AA
HEXAGON NUT ロッカクナット
FDT-57A-503
1
N029
N510026078AA
DAMPER ダンパ
M4X8-10.9 A2J (Trivale
2
N031
N510017536AA
HEX. SOCKET BUTTON HEAD BOL ロッカクアナツキホ
゙タンボルト
M4X12-10.9 A2J (Trival
2
N032
N510017346AA
HEX. SOCKET HEAD CAP BOLT ロッカクアナツキボルト
SSS 003 M5X10-10.9 A2J
2
N033
N510017538AA
HEX. SOCKET BUTTON HEAD BOL ロッカクアナツキボタンボルト
M5-6H-4T A2J (Trivalen
2
N034
N510017865AA
HEXAGON NUT ロッカクナット
M12
FN610070580AA_02-3