AV131部品表(1).pdf - 第53页
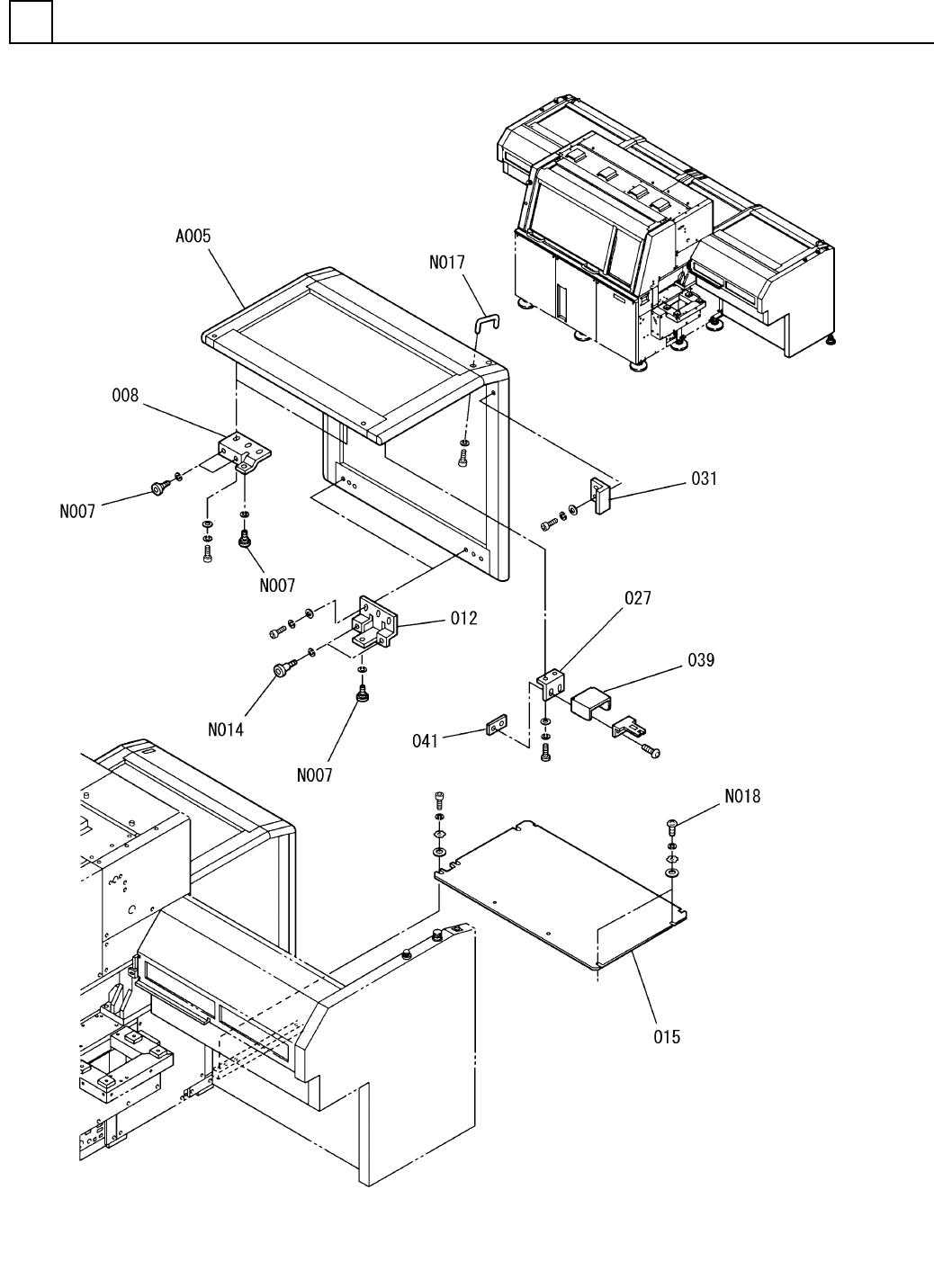
PART NA ME REM ARKS Q'TY 2 カバー部( Z軸120<5>) COVER SECT. (Z-AXIS 120<5> ) イラスト No. REF No. PART No. 部 品 品 番 個数 備 考 R 1 R 2 2 007 N210071337AA BRACKET フ ゙ラケット 2 013 N210071339AB BRACKET ブラケット 1 019 108710…

カバー部(Z軸120<5>)
COVER SECT.(Z-AXIS 120<5>)
2
FN610056792AA_01-5
M33

PART NAME
REMARKS
Q'TY
2
カバー部(Z軸120<5>)
COVER SECT.(Z-AXIS 120<5>)
イラスト
No.
REF
No.
PART No.
部 品 品 番 個数 備 考
R
1
R
2
2007 N210071337AA
BRACKET フ
゙ラケット
2
013 N210071339AB
BRACKET ブラケット
1
019 108710232501
COVER(R) カバー(R)
S
1029 N210071372AA
BRACKET ブラケット
1031 N210071348AA
BRACKET フ
゙ラケット
2
032 1046931347
BRACKET ブラケット
1
043 N210071527AA
BRACKET ブラケット
S
1
A003
N610061395AA
RIGHT DOOR ド
ア(RIGHT)
A-174-1
1
N001
N980A1741
DRAWER PULL トッテ
22RF602C-1
8
N007
N50022RF-016
BEARING ベアリング
22RF603C-1
6
N014
N50022RF-017
BEARING ベアリング
M34
FN610056792AA_01-5

カバー部(Z軸120<6>)
COVER SECT.(Z-AXIS 120<6>)
2
FN610056792AA_01-6
M35